GM Service Manual Online
For 1990-2009 cars only

Crew Cab


Object Number: 1306923  Size: B2

For crew cab models, the jack and wheel blocks are located under the driver side rear seat.

Extended Cab


Object Number: 1306902  Size: A2

For extended cab models, the jack and wheel blocks are located under the cover at the center of the vehicle behind the front seats.

The vehicle has a cover if it is an extended cab. To access the tools:

  1. Extended Cab


    Object Number: 1306907  Size: A3

    Move the seats forward to access the cover.

  2. Turn the wing nut on the cover counterclockwise to remove it.
  3. For crew cab models, reach under the rear seat to access the jack and wheel blocks. To reinstall the jack and wheel block assembly in the mounting bracket, insert the tabs into the jack base by pushing the blocks up into the assembly. The outer hole in the jack base aligns with the tab on the bracket. When reinstalling, make sure the jack is secure, but do not overtighten the jack in the bracket.

  4. Remove the wheel blocks and the wheel block retainer by turning the wing nut counterclockwise.
  5. Put the wheel blocks at the front and rear of the tire farthest away from the one being changed. That would be the tire on the other side, at the opposite end of the vehicle.
  6. Locate the wing nut used to retain the storage bag and tools which is under the front passenger's seat. Remove it by turning the wing nut counterclockwise.

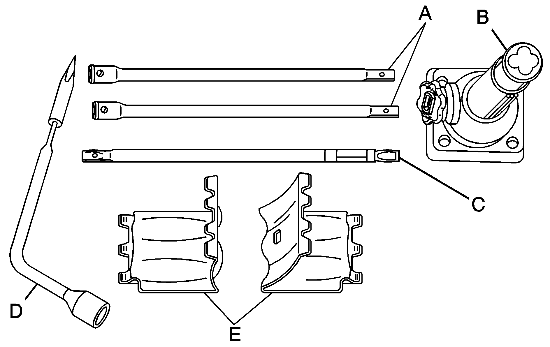
Use the jack handle extensions and the wheel wrench to remove the underbody-mounted spare tire.


Object Number: 1341508  Size: B3
  1. Jack Handle Extensions

  2. Jack

  3. Extension Tool

  4. Wheel Wrench

  5. Wheel Blocks

  1. Assemble the wheel wrench (D), extension tool (C), and the jack handle extensions (A).

  2. Object Number: 1307713  Size: B3
  3. Insert the hoist end (chiseled end) of the extension tool (C) through the hole in the rear bumper and into the funnel-shaped guide. The chiseled end of the extension is used to lower the spare tire.
  4. Turn the wheel wrench (D) counterclockwise to lower the spare tire to the ground. Continue to turn the wheel wrench until the spare tire can be pulled out from under the vehicle.
  5. If the spare tire does not lower to the ground, the secondary latch is engaged causing the tire not to lower. See Secondary Latch System .


    Object Number: 1341519  Size: A2
  6. Tilt the retainer when the tire has been lowered, and slide it up the cable so it can be pulled up through the wheel opening.
  7. Put the spare tire near the flat tire.