GM Service Manual Online
For 1990-2009 cars only
Table 1: Cylinder Head - Exhaust View
Table 2: Cylinder Head - Intake View
Table 3: Cylinder Head - Top View
Table 4: Cylinder Head - Rear View
Table 5: Cylinder Head - Front View
Table 6: Intake Manifold - Right Side View
Table 7: Intake Manifold - Left Side View
Table 8: Oil Cooler
Table 9: EGR Cooler - Rear View
Table 10: EGR Cooler - Front View
Table 11: EGR - Top View
Table 12: Thermostat Housing - Top View
Table 13: AC Bracket
Table 14: Generator Bracket - Front View
Table 15: Generator Bracket - Rear View
Table 16: Generator Bracket - Side View
Table 17: Engine Front Cover - Front View
Table 18: Engine Front Cover - Side View
Table 19: Engine Front Cover - Bottom View
Table 20: Lower Rocker Arm Cover - Top View
Table 21: Lower Rocker Arm Cover - Side View
Table 22: Upper Rocker Arm Cover - Top View
Table 23: Upper Rocker Arm Cover - Bottom View
Table 24: Flywheel Housing - Rear View
Table 25: Flywheel Housing - Top View
Table 26: Flywheel Housing - Bottom View
Table 27: Flywheel Housing - Right View
Table 28: Flywheel Housing - Left View
Table 29: Upper Oil Pan - Bottom View
Table 30: Upper Oil Pan - Right Side View
Table 31: Upper Oil Pan - Left Side View
Table 32: Upper Oil Pan - Front View
Table 33: Upper Oil Pan - Rear View

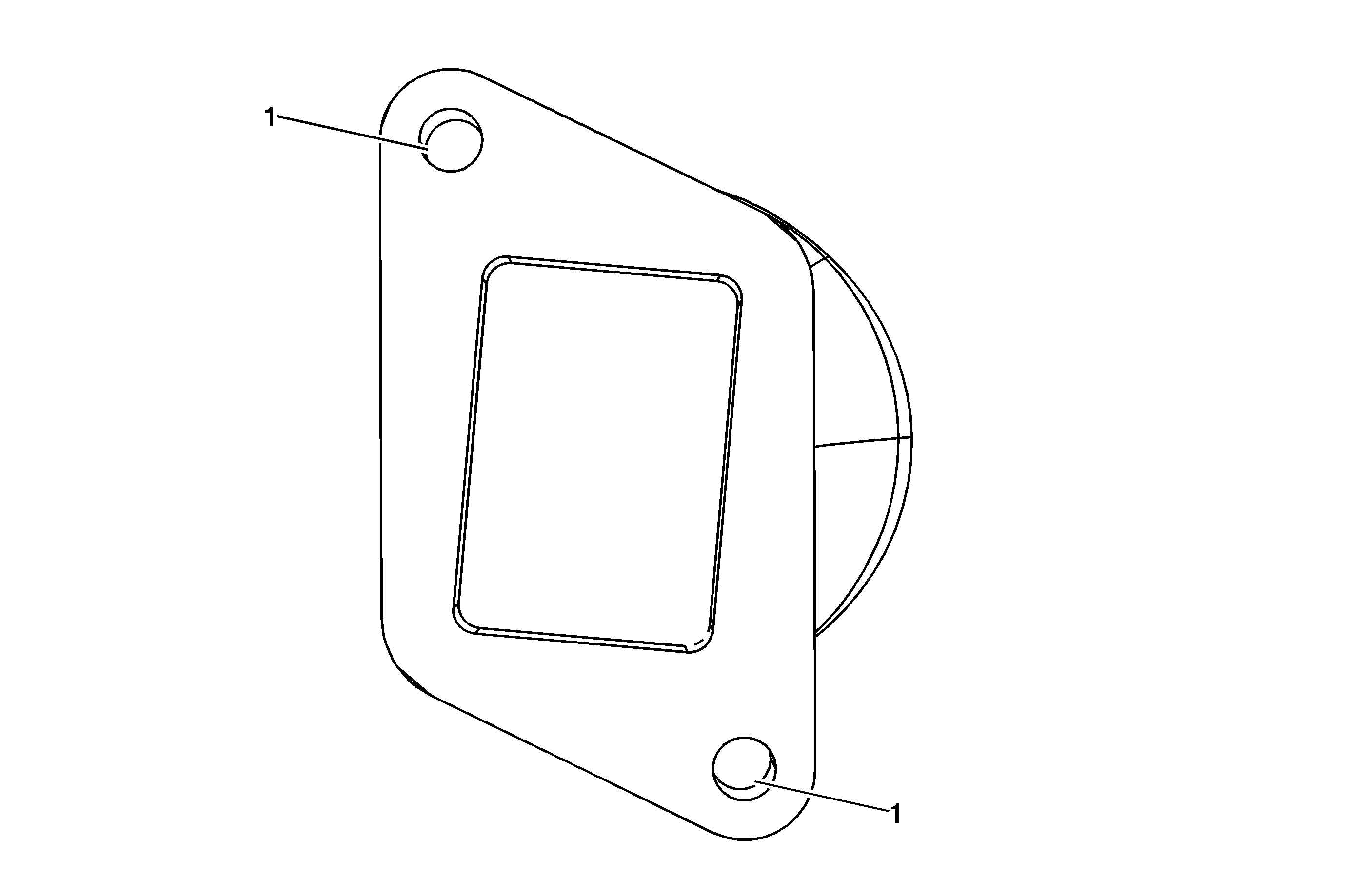
Cylinder Head - Exhaust View


Object Number: 1491199  Size: SF

Cylinder Head - Exhaust View

Service Hole Location

Thread Size

Drill

Counterbore Tool

Stop Collar

Tap

Driver

Insert

Drill Depth (Max)

Tap Depth (Min)

 

mm

(in)

mm

(in)

1

M 10 x 1.5

-211

-212

N/A

-213

-214

-215

25

0.985

21

0.827

Cylinder Head - Intake View


Object Number: 1491204  Size: SF

Cylinder Head - Intake View

Service Hole Location

Thread Size

Drill

Counterbore Tool

Stop Collar

Tap

Driver

Insert

Drill Depth (Max)

Tap Depth (Min)

 

mm

(in)

mm

(in)

1

M 8 x 1.25

-206

-207

N/A

-208

-209

-210

21

0.827

17

0.669

Cylinder Head - Top View


Object Number: 1491208  Size: MF

Cylinder Head - Top View

Service Hole Location

Thread Size

Drill

Counterbore Tool

Stop Collar

Tap

Driver

Insert

Drill Depth (Max)

Tap Depth (Min)

 

mm

(in)

mm

(in)

1

M 6 x 1.0

-201

-202

N/A

-203

-204

-205

17

0.669

13

0.512

2

M 8 x 1.25

-206

-207

N/A

-208

-209

-210

26

1.024

20

0.788

3

M 10 x 1.5

-211

-212

N/A

-213

-214

-215

26

1.024

20

0.788

Cylinder Head - Rear View


Object Number: 1491212  Size: MF

Cylinder Head - Rear View

Service Hole Location

Thread Size

Drill

Counterbore Tool

Stop Collar

Tap

Driver

Insert

Drill Depth (Max)

Tap Depth (Min)

 

mm

(in)

mm

(in)

1

M 8 x 1.25

-206

-207

N/A

-208

-209

-210

17

0.669

13

0.512

2

M 10 x 1.5

-211

-212

N/A

-213

-214

-216

20

0.788

16

0.630

Cylinder Head - Front View


Object Number: 1491218  Size: MF

Cylinder Head - Front View

Service Hole Location

Thread Size

Drill

Counterbore Tool

Stop Collar

Tap

Driver

Insert

Drill Depth (Max)

Tap Depth (Min)

 

mm

(in)

mm

(in)

1

M 8 x 1.25

-206

-207

N/A

-208

-209

-210

17

0.669

13

0.512

2

M 10 x 1.5

-211

-212

N/A

-213

-214

-216

20

0.788

16

0.630

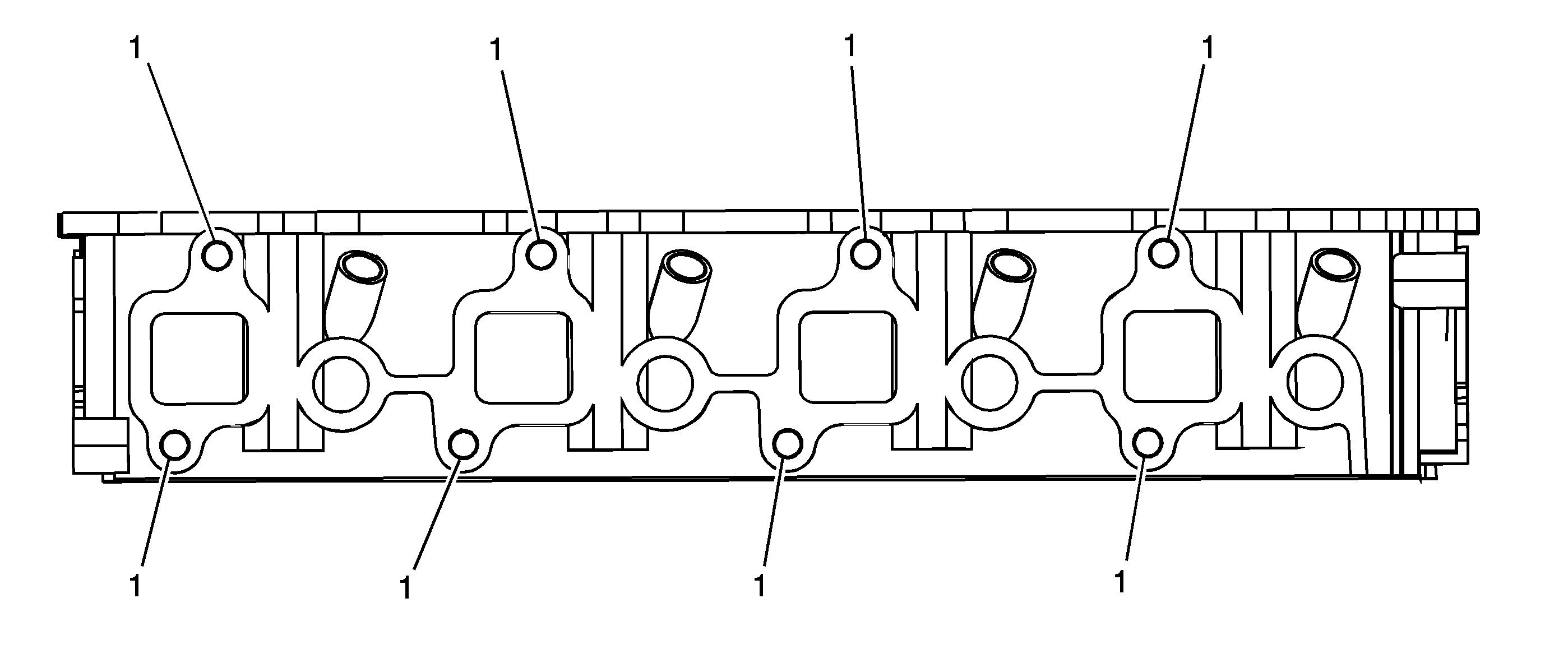
Intake Manifold - Right Side View


Object Number: 1491222  Size: SF

Intake Manifold - Right Side View

Service Hole Location

Thread Size

Drill

Counterbore Tool

Stop Collar

Tap

Driver

Insert

Drill Depth (Max)

Tap Depth (Min)

 

mm

(in)

mm

(in)

1

M 8 x 1.25

-206

-207

N/A

-208

-209

-415

16

0.630

13

0.512

2

M 8 x 1.25

-206

-207

N/A

-208

-209

-210

THRU

THRU

3

M 6 x 1.0

-201

-202

N/A

-203

-204

-205

16

0.0630

12

0.472

Intake Manifold - Left Side View


Object Number: 1491227  Size: SF

Intake Manifold - Left Side View

Service Hole Location

Thread Size

Drill

Counterbore Tool

Stop Collar

Tap

Driver

Insert

Drill Depth (Max)

Tap Depth (Min)

 

mm

(in)

mm

(in)

1

M 8 x 1.25

-206

-207

N/A

-208

-209

-210

THRU

THRU

2

M 6 x 1.0

-201

-202

N/A

-203

-204

-205

14

0.551

11

0.433

3

M 6 x 1.0

-201

-202

N/A

-203

-204

-205

16

0.630

12

0.472

Oil Cooler


Object Number: 1491230  Size: MF

Oil Cooler

Service Hole Location

Thread Size

Drill

Counterbore Tool

Stop Collar

Tap

Driver

Insert

Drill Depth (Max)

Tap Depth (Min)

 

mm

(in)

mm

(in)

1

M 8 x 1.25

-206

-207

N/A

-208

-209

-210

21

0.827

17

0.669

2

M 8 x 1.25

-206

-207

N/A

-208

-209

-210

THRU

THRU

EGR Cooler - Rear View


Object Number: 1491234  Size: MF

EGR Cooler - Rear View

Service Hole Location

Thread Size

Drill

Counterbore Tool

Stop Collar

Tap

Driver

Insert

Drill Depth (Max)

Tap Depth (Min)

 

mm

(in)

mm

(in)

1

M 8 x 1.25

-206

-207

N/A

-208

-209

-210

THRU

THRU

EGR Cooler - Front View


Object Number: 1491237  Size: MF

EGR Cooler - Front View

Service Hole Location

Thread Size

Drill

Counterbore Tool

Stop Collar

Tap

Driver

Insert

Drill Depth (Max)

Tap Depth (Min)

 

mm

(in)

mm

(in)

1

M 8 x 1.25

-206

-207

N/A

-208

-209

-210

THRU

THRU

EGR - Top View


Object Number: 1491243  Size: MF

EGR - Top View

Service Hole Location

Thread Size

Drill

Counterbore Tool

Stop Collar

Tap

Driver

Insert

Drill Depth (Max)

Tap Depth (Min)

 

mm

(in)

mm

(in)

1

M 8 x 1.25

-206

-207

N/A

-208

-209

-210

THRU

THRU

Thermostat Housing - Top View


Object Number: 1491246  Size: SF

Thermostat Housing - Top View

Service Hole Location

Thread Size

Drill

Counterbore Tool

Stop Collar

Tap

Driver

Insert

Drill Depth (Max)

Tap Depth (Min)

 

mm

(in)

mm

(in)

1

M 8 x 1.25

-206

-207

N/A

-208

-209

-210

21

0.827

17

0.669

2

M 8 x 1.25

-206

-207

N/A

-208

-209

-210

THRU

THRU

3

NPT 3/8

-2013

N/A

N/A

-2014

-2015

-2016

THRU

THRU

4

M 8 x 1.25

-206

-207

N/A

-208

-209

-210

19

0.748

15

0.591

AC Bracket


Object Number: 1491254  Size: MF

AC Bracket

Service Hole Location

Thread Size

Drill

Counterbore Tool

Stop Collar

Tap

Driver

Insert

Drill Depth (Max)

Tap Depth (Min)

 

mm

(in)

mm

(in)

1

M 10 x 1.5

-211

-212

N/A

-213

-214

-420

30

1.182

25

0.985

Generator Bracket - Front View


Object Number: 1491256  Size: MF

Generator Bracket - Front View

Service Hole Location

Thread Size

Drill

Counterbore Tool

Stop Collar

Tap

Driver

Insert

Drill Depth (Max)

Tap Depth (Min)

 

mm

(in)

mm

(in)

1

M 10 x 1.5

-211

-212

N/A

-213

-214

-215

THRU

THRU

2

M 8 x 1.25

-206

-207

N/A

-208

-209

-415

17

0.669

12

0.472

3

M 10 x 1.5

-211

-212

N/A

-213

-214

-420

THRU

25

0.985

4

M 8 x 1.25

-206

-207

N/A

-208

-209

-210

22

0.866

17

0.669

Generator Bracket - Rear View


Object Number: 1491259  Size: MF

Generator Bracket - Rear View

Service Hole Location

Thread Size

Drill

Counterbore Tool

Stop Collar

Tap

Driver

Insert

Drill Depth (Max)

Tap Depth (Min)

 

mm

(in)

mm

(in)

1

M 10 x 1.5

-211

-212

N/A

-213

-214

-215

THRU

THRU

Generator Bracket - Side View


Object Number: 1491264  Size: LF

Generator Bracket - Side View

Service Hole Location

Thread Size

Drill

Counterbore Tool

Stop Collar

Tap

Driver

Insert

Drill Depth (Max)

Tap Depth (Min)

 

mm

(in)

mm

(in)

1

M 8 x 1.25

-206

-207

N/A

-208

-209

-210

22

0.866

17

0.669

2

M 8 x 1.25

-206

-207

N/A

-208

-209

-210

17

0.669

12

0.472

Engine Front Cover - Front View


Object Number: 1491266  Size: LF

Engine Front Cover - Front View

Service Hole Location

Thread Size

Drill

Counterbore Tool

Stop Collar

Tap

Driver

Insert

Drill Depth (Max)

Tap Depth (Min)

 

mm

(in)

mm

(in)

1

M 8 x 1.25

-206

-207

N/A

-208

-209

-210

19

0.748

15

0.591

2

M 10 x 1.5

-211

-212

N/A

-213

-214

-216

20

0.788

16

0.630

3

M 6 x 1.0

-201

-202

N/A

-203

-204

-205

14

0.551

10

0.394

Engine Front Cover - Side View


Object Number: 1491271  Size: LF

Engine Front Cover - Side View

Service Hole Location

Thread Size

Drill

Counterbore Tool

Stop Collar

Tap

Driver

Insert

Drill Depth (Max)

Tap Depth (Min)

 

mm

(in)

mm

(in)

1

M 6 x 1.0

-201

-202

N/A

-203

-204

-205

14

0.551

10

0.394

2

M 6 x 1.0

-201

-202

N/A

-203

-204

-205

THRU

10

0.394

Engine Front Cover - Bottom View


Object Number: 1491277  Size: SF

Engine Front Cover - Bottom View

Service Hole Location

Thread Size

Drill

Counterbore Tool

Stop Collar

Tap

Driver

Insert

Drill Depth (Max)

Tap Depth (Min)

 

mm

(in)

mm

(in)

1

M 8 x 1.25

-206

-207

N/A

-208

-209

-210

17

0.669

13

0.512

Lower Rocker Arm Cover - Top View


Object Number: 1491280  Size: MF

Lower Rocker Arm Cover - Top View

Service Hole Location

Thread Size

Drill

Counterbore Tool

Stop Collar

Tap

Driver

Insert

Drill Depth (Max)

Tap Depth (Min)

 

mm

(in)

mm

(in)

1

M 6 x 1.0

-201

-202

N/A

-203

-204

-205

18

0.709

15

0.591

Lower Rocker Arm Cover - Side View


Object Number: 1491284  Size: SF

Lower Rocker Arm Cover - Side View

Service Hole Location

Thread Size

Drill

Counterbore Tool

Stop Collar

Tap

Driver

Insert

Drill Depth (Max)

Tap Depth (Min)

 

mm

(in)

mm

(in)

1

M 8 x 1.25

-206

-207

N/A

-208

-209

-210

21

0.827

17

0.669

Upper Rocker Arm Cover - Top View


Object Number: 1491287  Size: MF

Upper Rocker Arm Cover - Top View

Service Hole Location

Thread Size

Drill

Counterbore Tool

Stop Collar

Tap

Driver

Insert

Drill Depth (Max)

Tap Depth (Min)

 

mm

(in)

mm

(in)

1

M 5 x 0.8

N/A

N/A

N/A

N/A

N/A

N/A

13

0.512

10

0.394

2

M 8 x 1.25

-206

-207

N/A

-208

-209

-210

21

0.827

17

0.669

3

M 6 x 1.0

-201

-202

N/A

-203

-204

-205

16

0.630

12

0.472

Upper Rocker Arm Cover - Bottom View


Object Number: 1491290  Size: MF

Upper Rocker Arm Cover - Bottom View

Service Hole Location

Thread Size

Drill

Counterbore Tool

Stop Collar

Tap

Driver

Insert

Drill Depth (Max)

Tap Depth (Min)

 

mm

(in)

mm

(in)

1

M 5 x 0.8

N/A

N/A

N/A

N/A

N/A

N/A

13

0.512

10

0.394

Flywheel Housing - Rear View


Object Number: 1491313  Size: LF

Flywheel Housing - Rear View

Service Hole Location

Thread Size

Drill

Counterbore Tool

Stop Collar

Tap

Driver

Insert

Drill Depth (Max)

Tap Depth (Min)

 

mm

(in)

mm

(in)

1

M 12 x 1.75

-856

-857

N/A

-858

-859

-855

28

1.103

23

0.906

Flywheel Housing - Top View


Object Number: 1491316  Size: SF

Flywheel Housing - Top View

Service Hole Location

Thread Size

Drill

Counterbore Tool

Stop Collar

Tap

Driver

Insert

Drill Depth (Max)

Tap Depth (Min)

 

mm

(in)

mm

(in)

1

M 8 x 1.25

-206

-207

N/A

-208

-209

-210

17

0.669

13

0.512

Flywheel Housing - Bottom View


Object Number: 1491320  Size: SF

Flywheel Housing - Bottom View

Service Hole Location

Thread Size

Drill

Counterbore Tool

Stop Collar

Tap

Driver

Insert

Drill Depth (Max)

Tap Depth (Min)

 

mm

(in)

mm

(in)

1

M 8 x 1.25

-206

-207

N/A

-208

-209

-210

21

0.827

18

0.709

2

M 8 x 1.25

-206

-207

N/A

-208

-209

-210

17

0.669

14

0.551

Flywheel Housing - Right View


Object Number: 1491324  Size: LF

Flywheel Housing - Right View

Service Hole Location

Thread Size

Drill

Counterbore Tool

Stop Collar

Tap

Driver

Insert

Drill Depth (Max)

Tap Depth (Min)

 

mm

(in)

mm

(in)

1

M 8 x 1.25

-206

-207

N/A

-208

-209

-210

17

0.669

13

0.512

Flywheel Housing - Left View


Object Number: 1491326  Size: LF

Flywheel Housing - Left View

Service Hole Location

Thread Size

Drill

Counterbore Tool

Stop Collar

Tap

Driver

Insert

Drill Depth (Max)

Tap Depth (Min)

 

mm

(in)

mm

(in)

1

M 8 x 1.25

-206

-207

N/A

-208

-209

-210

17

0.669

13

0.512

Upper Oil Pan - Bottom View


Object Number: 1491329  Size: MF

Upper Oil Pan - Bottom View

Service Hole Location

Thread Size

Drill

Counterbore Tool

Stop Collar

Tap

Driver

Insert

Drill Depth (Max)

Tap Depth (Min)

 

mm

(in)

mm

(in)

1

M 6 x 1.0

-201

-202

N/A

-203

-204

-205

THRU

THRU

2

M 6 x 1.0

-201

-202

N/A

-203

-204

-205

17

0.669

13

0.512

3

M 8 x 1.25

-206

-207

N/A

-208

-209

-210

22

0.866

17

0.669

Upper Oil Pan - Right Side View


Object Number: 1491333  Size: SF

Upper Oil Pan - Right Side View

Service Hole Location

Thread Size

Drill

Counterbore Tool

Stop Collar

Tap

Driver

Insert

Drill Depth (Max)

Tap Depth (Min)

 

mm

(in)

mm

(in)

1

NPT 3/8

-2013

N/A

N/A

-2014

-2015

-2016

THRU

THRU

2

M 6 x 1.0

-201

-202

N/A

-203

-204

-205

17

0.669

13

0.512

Upper Oil Pan - Left Side View


Object Number: 1491337  Size: SF

Upper Oil Pan - Left Side View

Service Hole Location

Thread Size

Drill

Counterbore Tool

Stop Collar

Tap

Driver

Insert

Drill Depth (Max)

Tap Depth (Min)

 

mm

(in)

mm

(in)

1

M 8 x 1.25

-206

-207

N/A

-208

-209

-210

18

0.709

13

0.512

2

M 6 x 1.0

-201

-202

N/A

-203

-204

-205

18

0.709

13

0.512

3

NPT 3/8

-2013

N/A

N/A

-2014

-2015

-2016

THRU

THRU

Upper Oil Pan - Front View


Object Number: 1491341  Size: MF

Upper Oil Pan - Front View

Service Hole Location

Thread Size

Drill

Counterbore Tool

Stop Collar

Tap

Driver

Insert

Drill Depth (Max)

Tap Depth (Min)

 

mm

(in)

mm

(in)

1

M 8 x 1.25

-206

-207

N/A

-208

-209

-210

24

0.945

19

0.748

2

M 8 x 1.25

-206

-207

N/A

-208

-209

-210

22

0.866

17

0.669

Upper Oil Pan - Rear View


Object Number: 1491346  Size: MF

Upper Oil Pan - Rear View

Service Hole Location

Thread Size

Drill

Counterbore Tool

Stop Collar

Tap

Driver

Insert

Drill Depth (Max)

Tap Depth (Min)

 

mm

(in)

mm

(in)

1

M 12 x 1.75

-856

-857

N/A

-858

-859

-855

22

0.866

16

0.630