GM Service Manual Online
For 1990-2009 cars only
Connector 1: ABS Relay (JE4)
Connector 2: A/C Compressor Clutch (C4/C5 with C60)
Connector 3: A/C Compressor Clutch (C6/C7/C8 with C60)
Connector 4: A/C Compressor Clutch Relay (C60)
Connector 5: A/C High Pressure Switch (LMM with C60)
Connector 6: A/C High Pressure Switch (L18 with C60)
Connector 7: A/C High Pressure Switch (LF6/LF8 with C60)
Connector 8: A/C Low Pressure Switch (C60)
Connector 9: Accelerator Pedal Position (APP) Sensor (L18)
Connector 10: Accelerator Pedal Position (APP) Sensor (LF6)
Connector 11: Accelerator Pedal Position (APP) Sensor (LF8)
Connector 12: Accelerator Pedal Position (APP) Sensor (LMM)
Connector 13: Air Brake Dryer (JE4/JTU)
Connector 14: Air Brake Pressure Gage Lamp (JE4)
Connector 15: Air Compressor (K16)
Connector 16: Air Compressor - Driver (AEL)
Connector 17: Air Compressor - Passenger (AEK)
Connector 18: Air Compressor Relay (K16)
Connector 19: Air Suspension Dump Switch (G40/G45/GSJ)
Connector 20: Air Suspension Dump Valve Solenoid
Connector 21: Air Temperature Actuator (C60)
Connector 22: Automatic Transmission Fluid Temperature (TFT) Gage (UXT)
Connector 23: Automatic Transmission Fluid Temperature (TFT) Sensor (LCT with UXT)
Connector 24: Automatic Transmission Input Shaft Speed (ISS) Sensor
Connector 25: Automatic Transmission Shift Lever (MD)
Connector 26: Auxiliary Air Tank Pressure Switch (JE3/K16)
Connector 27: Auxiliary Power Outlet 1
Connector 28: Auxiliary Power Outlet 2
Connector 29: Back Up Alarm (UZF)
Connector 30: Backup Lamp Switch (M/T)
Connector 31: Barometric Pressure (BARO) Sensor (LF6)
Connector 32: Battery Auxiliary (+) (VNF)
Connector 33: Battery Auxiliary (-) (VNF)
Connector 34: Battery 1 (+) (Battery Cable) (L18)
Connector 35: Battery 1 (+) (Battery Isolator) (L18 with VNF/TNQ)
Connector 36: Battery 1 (+) (Battery to Battery) (L18 without VNF)
Connector 37: Battery 1 (-) (Battery Cable) (L18)
Connector 38: Battery 1 (-) (Battery to Battery) (L18)
Connector 39: Battery 2 (+) (Battery Isolator) (L18 with VNF)
Connector 40: Battery 2 (+) (Battery to Battery) (L18 without VNF)
Connector 41: Battery 2 (+) (Battery to Battery) (L18 with TNN/TNL)
Connector 42: Battery 2 (-) (Battery to Battery) (L18)
Connector 43: Battery 1 (+) (Battery Cable) (LF6/LF8)
Connector 44: Battery 1 (+) (Battery Cable) (LF6)
Connector 45: Battery 1 (+) (Battery Cable) (LF8)
Connector 46: Battery 1 (-) (Battery Cable) (LF6/LF8)
Connector 47: Battery 1 (-) (Battery to Battery) (LF6/LF8)
Connector 48: Battery 2 (+) (Battery Cable) (LF6)
Connector 49: Battery 2 (+) (Battery Cable) (LF8)
Connector 50: Battery 2 (+) (Battery to Battery) (LF6/LF8)
Connector 51: Battery 2 (-) (Battery to Battery) (LF6/LF8)
Connector 52: Battery 2 (-) (Battery to Battery) (LF6/LF8)
Connector 53: Battery 3 (+) (Battery to Battery) (LF6/LF8)
Connector 54: Battery 3 (-) (Battery to Battery) (LF6/LF8)
Connector 55: Battery 1 (+) (Battery Cable) (LMM without B3D/ANC)
Connector 56: Battery 1 (+) (Battery Cable) (LMM without B3D/ANC)
Connector 57: Battery 1 (+) (Battery Cable) (LMM with B3D/ANC)
Connector 58: Battery 1 (+) (Auxiliary Battery Cable) (LMM with B3D/ANC)
Connector 59: Battery 1 (-) (Battery Cable) (LMM)
Connector 60: Battery 1 (-) (Battery to Battery) (LMM)
Connector 61: Battery 2 (+) (Battery Cable) (LMM without B3D/ANC)
Connector 62: Battery 2 (+) (Battery Cable) (LMM with B3D/ANC)
Connector 63: Battery 2 (+) (Battery Isolator) (LMM with VNF)
Connector 64: Battery 2 (+) (Battery to Battery) (LMM with TNR)
Connector 65: Battery 2 (+) (Battery Cable) (LMM with TNN)
Connector 66: Battery 2 (-) (Battery to Battery) (LMM)
Connector 67: Battery 2 (-) (Battery to Battery) (LMM)
Connector 68: Battery 3 (+) (Battery to Battery) (LMM with TNR)
Connector 69: Battery 3 (+) (Battery Cable) (LMM with TNR)
Connector 70: Battery 3 (+) (Battery Isolator) (LMM with VNF)
Connector 71: Battery 3 (-) (Battery to Battery) (LMM)
Connector 72: Battery Isolator X1 (L18/LMM with VNF)
Connector 73: Battery Isolator X2 (L18/LMM with VNF)
Connector 74: Battery Isolator X3 (L18/LMM with VNF)
Connector 75: Battery Isolator X4 (L18/LMM with VNF)
Connector 76: Blower Motor (C40/C60)
Connector 77: Blower Motor - Auxiliary X1 (C36)
Connector 78: Blower Motor - Auxiliary X2 (C36)
Connector 79: Blower Motor Relay - Auxiliary (C36)
Connector 80: Blower Motor Resistor (C40/C60)
Connector 81: Blower Motor Resistor - Auxiliary (C36)
Connector 82: Brake Booster Fluid Flow Switch (JE3)
Connector 83: Brake Booster Pump Motor (JE3)
Connector 84: Brake Booster Pump Relay (JE3)
Connector 85: Brake Fluid Level Switch (JE3)
Connector 86: Brake Pressure Modulator Valve (BPMV) - Left Front (JE4)
Connector 87: Brake Pressure Modulator Valve (BPMV) - Left Rear (JE4)
Connector 88: Brake Pressure Modulator Valve (BPMV) - Right Front (JE4)
Connector 89: Brake Pressure Modulator Valve (BPMV) - Right Rear (JE4)
Connector 90: Camshaft Position (CMP) Sensor (L18)
Connector 91: Camshaft Position (CMP) Sensor - Bottom (LF6)
Connector 92: Camshaft Position (CMP) Sensor - Top (LF6)
Connector 93: Camshaft Position (CMP) Sensor (LF8)
Connector 94: Camshaft Position (CMP) Sensor (LMM)
Connector 95: Chime Module (UL5/UXZ)
Connector 96: Cigar Lighter (DT4)
Connector 97: Clearance Lamp - Left
Connector 98: Clearance Lamp - Right
Connector 99: Clutch Pedal Position (CPP) Switch (M/T)
Connector 100: Clutch Start Switch (M/T)
Connector 101: Combust Air Control Valve (LF6)
Connector 102: Combust Air MAF Delta (LF6)
Connector 103: Controller Area Network (CAN) Connector (L18 with JE4, LF6/LF8)
Connector 104: Coolant Level Switch
Connector 105: Cooling Fan (LMM)
Connector 106: Crankshaft Position (CKP) Sensor (L18)
Connector 107: Crankshaft Position (CKP) Sensor (LF8)
Connector 108: Crankshaft Position (CKP) Sensor (LMM)
Connector 109: Data Link Connector (DLC)
Connector 110: Data Link Resistor 1 (L18 w/JE4, LF6, LF8)
Connector 111: Data Link Resistor 2 (L18 w/JE4, LF6, LF8)
Connector 112: Data Link Resistor 3
Connector 113: Data Recorded Module (LF8)
Connector 114: Daytime Running Lights (DRL) Diode
Connector 115: Daytime Running Lights (DRL) Module
Connector 116: Diesel Particulate Filter (DPF) Pressure Sensor (LF8)
Connector 117: Differential Lock Switch (HNB/HPL/HPN)
Connector 118: Differential Lock Switch Lamp (HNB/HPL/HPN)
Connector 119: Differential Pressure Filter (DPF) Sensor (LMM)
Connector 120: Dome Lamp - Front
Connector 121: Dome Lamp - Rear (Crew Cab)
Connector 122: Dome/Reading Lamps - Front (C95)
Connector 123: Dome/Reading Lamps - Rear (C95/Crew Cab)
Connector 124: Door Latch - Driver X1 (AU3)
Connector 125: Door Latch - Driver X2 (AU3)
Connector 126: Door Latch - Left Rear X1 (Crew Cab/AU3)
Connector 127: Door Latch - Left Rear X2 (Crew Cab/AU3)
Connector 128: Door Latch - Passenger X1 (AU3)
Connector 129: Door Latch - Passenger X2 (AU3)
Connector 130: Door Latch - Right Rear X1 (Crew Cab/AU3)
Connector 131: Door Latch - Right Rear X1 (Crew Cab/AU3)
Connector 132: Door Lock Relay (AU0/AU3)
Connector 133: Door Lock Switch - Driver (AU3)
Connector 134: Door Lock Switch - Passenger (AU3)
Connector 135: Driver Information Center (DIC)
Connector 136: Electronic Brake Control Module (EBCM) (JE3)
Connector 137: Electronic Brake Control Module (EBCM) X1 (JE4)
Connector 138: Electronic Brake Control Module (EBCM) X2 (JE4)
Connector 139: Electronic Brake Control Module (EBCM) X3 (JE4/NW9)
Connector 140: Engine Control Module (ECM) X1 (LF6)
Connector 141: Engine Control Module (ECM) X2 (LF6)
Connector 142: Engine Control Module (ECM) X1 (LF8)
Connector 143: Engine Control Module (ECM) X2 (LF8)
Connector 144: Engine Control Module (ECM) X1 (LMM)
Connector 145: Engine Control Module (ECM) X2 (LMM)
Connector 146: Engine Coolant Temperature (ECT) Sensor (L18)
Connector 147: Engine Coolant Temperature (ECT) Sensor (LF6)
Connector 148: Engine Coolant Temperature (ECT) Sensor (LF8)
Connector 149: Engine Coolant Temperature (ECT) Sensor (LMM)
Connector 150: Engine Oil Level Switch (L18)
Connector 151: Engine Oil Level Switch (LF8)
Connector 152: Engine Oil Level Switch (LMM)
Connector 153: Engine Oil Pressure (EOP) Sensor (L18)
Connector 154: Engine Oil Pressure (EOP) Sensor (LF6)
Connector 155: Engine Oil Pressure (EOP) Sensor (LF8)
Connector 156: Engine Oil Pressure (EOP) Sensor (LMM)
Connector 157: Engine Timing Calibration Sensor (LF6)
Connector 158: Evaporative Emission (EVAP) Canister Purge Solenoid Valve (L18)
Connector 159: Exhaust Brake Switch (K40)
Connector 160: Exhaust Brake/Throttle Solenoid (LF8)
Connector 161: Exhaust Gas Recirculation (EGR) Valve (LF8)
Connector 162: Exhaust Gas Recirculation (EGR) Temperature Sensor (LF8)
Connector 163: Exhaust Gas Recirculation (EGR) Valve (LMM)
Connector 164: Exhaust Gas Temperature (EGT) Sensor 1 (LMM)
Connector 165: Exhaust Gas Temperature (EGT) Sensor 2 (LMM)
Connector 166: Exhaust Temperature Sensor (LF8)
Connector 167: Exhaust Temperature Sensor 1 (LF8)
Connector 168: Exhaust Temperature Sensor 2 (LF8)
Connector 169: Flame Boundary Temperature Sensor (LF6)
Connector 170: Flame Detect/Turbo Outlet Temperature Sensor (LF6)
Connector 171: Fuel Control Valve - Main (LF6)
Connector 172: Fuel Control Valve - Pilot (LF6)
Connector 173: Fuel Enable Valve (LF6)
Connector 174: Fuel Heater (LMM)
Connector 175: Fuel Injector 1 (L18)
Connector 176: Fuel Injector 2 (L18)
Connector 177: Fuel Injector 3 (L18)
Connector 178: Fuel Injector 4 (L18)
Connector 179: Fuel Injector 5 (L18)
Connector 180: Fuel Injector 6 (L18)
Connector 181: Fuel Injector 7 (L18)
Connector 182: Fuel Injector 8 (L18)
Connector 183: Fuel Injector 1 (LF6)
Connector 184: Fuel Injector 2 (LF6)
Connector 185: Fuel Injector 3 (LF6)
Connector 186: Fuel Injector 4 (LF6)
Connector 187: Fuel Injector 5 (LF6)
Connector 188: Fuel Injector 6 (LF6)
Connector 189: Fuel Injector 1 (LMM)
Connector 190: Fuel Injector 2 (LMM)
Connector 191: Fuel Injector 3 (LMM)
Connector 192: Fuel Injector 4 (LMM)
Connector 193: Fuel Injector 5 (LMM)
Connector 194: Fuel Injector 6 (LMM)
Connector 195: Fuel Injector 7 (LMM)
Connector 196: Fuel Injector 8 (LMM)
Connector 197: Fuel Pressure Regulator (LMM)
Connector 198: Fuel Pressure Sensor - Main (LF6)
Connector 199: Fuel Pressure Sensor - Pilot (LF6)
Connector 200: Fuel Pump 1 Solenoid (LF6)
Connector 201: Fuel Pump 2 Solenoid (LF6)
Connector 202: Fuel Pump (LMM)
Connector 203: Fuel Pump (L18/Dual Tanks)
Connector 204: Fuel Pump and Sender Assembly (L18)
Connector 205: Fuel Pump Relay (L18/Dual Tanks)
Connector 206: Fuel Rail Pressure (FRP) Sensor (LF6)
Connector 207: Fuel Rail Pressure (FRP) Sensor (LF8)
Connector 208: Fuel Rail Pressure (FRP) Sensor (LMM)
Connector 209: Fuel Rail Temperature (FRT) Sensor (LMM)
Connector 210: Fuel Sender (LF6/LF8/LMM)
Connector 211: Fuel Sender - Secondary (Dual Tanks)
Connector 212: Fuel Temperature Sensor (LF8)
Connector 213: Fuse Holder Brake Booster Fuse (JE3)
Connector 214: Generator X1 (L18/LMM)
Connector 215: Generator X1 (LF6)
Connector 216: Generator X1 (LF8)
Connector 217: Generator X2
Connector 218: Generator - Left X1 (L18/LMM with K65)
Connector 219: Generator - Left X2 (L18/LMM with K65)
Connector 220: Glow Plug Control Module (GPCM) X1 (LMM)
Connector 221: Glow Plug Control Module (GPCM) X2 (LMM)
Connector 222: Glow Plug Control Module (GPCM) (LF8) X1
Connector 223: Glow Plug Control Module (GPCM) (LF8) X2
Connector 224: Glow Plug Relay (LF8)
Connector 225: Headlamp - Left (GRW)
Connector 226: Headlamp - Right (GRW)
Connector 227: Headlamp - Left (V22)
Connector 228: Headlamp - Right (V22)
Connector 229: Headlamp - Left High Beam (V22)
Connector 230: Headlamp - Right High Beam (V22)
Connector 231: Headlamp Switch
Connector 232: Heated Oxygen Sensor (HO2S) 1 (L18)
Connector 233: Heated Oxygen Sensor (HO2S) 2 (L18)
Connector 234: High Idle Switch (UF3)
Connector 235: Horn
Connector 236: HVAC Control Assembly X1 (C40/C60)
Connector 237: HVAC Control Assembly X2 (C40/C60)
Connector 238: HVAC Control Assembly X3 (C49)
Connector 239: HVAC Control Assembly - Auxiliary (C36)
Connector 240: Hydraulic CGI Actuator (LF6)
Connector 241: Identification (ID) Lamp - Center
Connector 242: Identification (ID) Lamp - Left
Connector 243: Identification (ID) Lamp - Right
Connector 244: Ignition Coil 1 (L18)
Connector 245: Ignition Coil 2 (L18)
Connector 246: Ignition Coil 3 (L18)
Connector 247: Ignition Coil 4 (L18)
Connector 248: Ignition Coil 5 (L18)
Connector 249: Ignition Coil 6 (L18)
Connector 250: Ignition Coil 7 (L18)
Connector 251: Ignition Coil 8 (L18)
Connector 252: Ignition Coil (LF6)
Connector 253: Ignition Switch
Connector 254: Inflatable Restraint Front End Discriminating Sensor (AJ3/AK5)
Connector 255: Inflatable Restraint I/P Module (AK5)
Connector 256: Inflatable Restraint I/P Module Disable Switch (AK5 without AQR)
Connector 257: Inflatable Restraint Resistor Module (AJ3)
Connector 258: Inflatable Restraint Sensing and Diagnostic Module (SDM) (AJ3/AK5)
Connector 259: Inflatable Restraint SIR Coil (AJ3/AK5)
Connector 260: Inflatable Restraint Steering Wheel Module (AJ3/AK5)
Connector 261: Inlet Air Temperature Sensor (LF6)
Connector 262: Instrument Panel Cluster (IPC)
Connector 263: Intake Air (IA) Flow Valve (LF8)
Connector 264: Intake Air (IA) Flow Valve (LMM)
Connector 265: Intake Air Heater (IAH) Module X1 (LMM)
Connector 266: Intake Air Heater (IAH) Module X2 (LMM)
Connector 267: Intake Air (IA) Heater Relay (LF6)
Connector 268: Intake Air Temperature (IAT) Sensor 2 (LMM)
Connector 269: Intake Manifold Air Pressure (MAP) Sensor (LF6)
Connector 270: Intake Manifold Air Temperature (MAT) Sensor (LF6)
Connector 271: Intake Manifold Temperature (IMT) Sensor (LF8)
Connector 272: Inter-Axle Differential Lock Switch (Tandem Axle)
Connector 273: Inter-Axle Differential Lock Switch Lamp (Tandem Axle)
Connector 274: Internal Mode Switch (IMS) (LCT)
Connector 275: Junction Block - Isolator (Engine Chassis) (VNF)
Connector 276: Junction Block - Isolator (Battery Isolator) (VNF)
Connector 277: Junction Block - Isolator ( Engine Chassis) (VNF with K65)
Connector 278: Junction Block - Underhood X1 (L18)
Connector 279: Junction Block - Underhood X1 (LF6/LF8/LMM)
Connector 280: Junction Block - Underhood X2 (Engine Chassis)
Connector 281: Junction Block - Underhood X2 (Instrument Panel)
Connector 282: Knock Sensor (KS) 1 (L18)
Connector 283: Knock Sensor (KS) 2 (L18)
Connector 284: Low Air Pressure Switch - Primary (JE4)
Connector 285: Low Air Pressure Switch - Secondary (JE4)
Connector 286: Main Mode Solenoid (LCT)
Connector 287: Manifold Absolute Pressure (MAP) Sensor (L18/LMM)
Connector 288: Manifold Absolute Pressure (MAP) Sensor (LF6)
Connector 289: Manifold Absolute Pressure (MAP) Sensor (LF8)
Connector 290: Marker Lamps Switch (without UZA)
Connector 291: Mass Air Flow (MAF) Temperature Sensor (LF6)
Connector 292: Mass Air Flow (MAF)/Intake Air Temperature (IAT) Sensor (L18)
Connector 293: Mass Air Flow (MAF)/Intake Air Temperature (IAT) Sensor (LF8)
Connector 294: Mass Air Flow (MAF)Sensor/Intake Air Temperature (IAT) Sensor (LMM)
Connector 295: Outside Rearview Mirror Switch (DB6)
Connector 296: Outside Rearview Mirror Switch (DB6/DB8)
Connector 297: Outside Rearview Mirror - Driver (DB6/DB7/DB8)
Connector 298: Outside Rearview Mirror - Passenger (DB6/DB7/DB8)
Connector 299: Overdrive Defeat Switch (LCT)
Connector 300: Park Brake Switch (C4/C5 with JE3) (Foot Operated)
Connector 301: Park Brake Switch (JE3) (Hand Operated)
Connector 302: Park Brake Switch (JE4)
Connector 303: Park/Turn Signal Lamp - Left Front
Connector 304: Park/Turn Signal Lamp - Right Front
Connector 305: Particulate Trap Differential (PTD) Pressure Sensor (LF6)
Connector 306: Particulate Trap Temperature (PTT) Sensor (LF6)
Connector 307: Power Take-Off (PTO) Switch
Connector 308: Powertrain Control Module (PCM) X1
Connector 309: Powertrain Control Module (PCM) X2
Connector 310: Pressure Control (PC) Solenoid Valve 1 (LCT)
Connector 311: Pressure Control (PC) Solenoid Valve 1 (MD)
Connector 312: Pressure Control (PC) Solenoid Valve 2 (LCT)
Connector 313: Pressure Control (PC) Solenoid Valve 2 (MD)
Connector 314: Pressure Control (PC) Solenoid Valve 3 (MD)
Connector 315: Pressure Control (PC) Solenoid Valve 4 (MD)
Connector 316: Pressure Switch Manifold (PSM) (LCT)
Connector 317: Purge Air Control Solenoid (LF6)
Connector 318: Radio
Connector 319: Rear Axle Driver Control Switch - Two Speed (HPZ with A/T)
Connector 320: Rear Axle Driver Control Switch - Two Speed (HPZ with M/T)
Connector 321: Rear Axle Driver Control Switch Lamp - Two Speed (HR1 with A/T)
Connector 322: Rear Axle Shift Motor - Two Speed (HPZ)
Connector 323: Rear Axle Shift Relay - Two Speed (HPZ)
Connector 324: Rear Axle Shift Switch - Two Speed (HR1/HR2)
Connector 325: Rear Window Defogger Grid X1 (C49)
Connector 326: Rear Window Defogger Grid X2 (C49)
Connector 327: Regeneration Switch (without L18)
Connector 328: Remote Control Door Lock Receiver (RCDLR) (AU0)
Connector 329: Serial Data Gateway (SDG) Module (L18 with JE4, LF6/LF8)
Connector 330: Shift Solenoid (SS) Valve 1 (LCT)
Connector 331: Shift Solenoid (SS) Valve 1 (MD)
Connector 332: Shift Solenoid (SS) Valve 2 (LCT)
Connector 333: Shift Solenoid (SS) Valve 3 (LCT)
Connector 334: Speaker - Left Front
Connector 335: Speaker - Left Front Tweeter (ZQ2)
Connector 336: Speaker - Left Rear (Crew Cab)
Connector 337: Speaker - Right Front
Connector 338: Speaker - Right Front Tweeter (ZQ2)
Connector 339: Speaker - Right Rear (Crew Cab)
Connector 340: Starter Motor X1 (LF6/LF8/LMM)
Connector 341: Starter Motor X1 (L18)
Connector 342: Starter Motor X2 (Battery Cable) (L18)
Connector 343: Starter X2 (Engine Chassis) (L18 with K65 without VNF)
Connector 344: Starter Motor X2 (Engine Chassis) (L18 without K65/VNF)
Connector 345: Starter Motor X2 (Engine Chassis) (L18 with VNF)
Connector 346: Starter X2 (Battery Cable) (LMM)
Connector 347: Starter Motor X2 (Engine Chassis) (LMM)
Connector 348: Starter Motor X2 (Engine Chassis) (LMM with K65 without VNF)
Connector 349: Starter Motor X2 (Engine Chassis) (LMM without K65/VNF)
Connector 350: Starter Motor X2 (Engine Chassis) (LMM with VNF)
Connector 351: Starter Motor X2 (Battery Cable) (LF6)
Connector 352: Starter Motor X2 (Engine Chassis) (LF6)
Connector 353: Starter Motor X2 (Battery Cable) (LF8)
Connector 354: Starter X2 (Engine Chassis) (LF8)
Connector 355: Starter Temperature Switch (KQR)
Connector 356: Stop Lamp Switch (JE3/C4)
Connector 357: Stop Lamp Switch (JE3/C5/C6/C7)
Connector 358: Stop Lamp Switch (JE4)
Connector 359: Suction Control Valve (SCV) (LF8)
Connector 360: Tail Lamp - Left
Connector 361: Tail Lamp - Right
Connector 362: Throttle Actuator Control (TAC) Module X1 (L18)
Connector 363: Throttle Actuator Control (TAC) Module X2 (L18)
Connector 364: Throttle Body (L18)
Connector 365: Torque Converter Clutch (TCC) Solenoid Valve (LCT)
Connector 366: Torque Converter Clutch (TCC) Solenoid Valve (MD)
Connector 367: Traction Control Switch (NW9)
Connector 368: Traction Control Valve (JE4/NW9)
Connector 369: Tractor/Trailer Plug (VPG)
Connector 370: Tractor/Trailer Receptacle (JE4/RQ3)
Connector 371: Trailer Connector (C4/C5 with RQ2 and U86/RQ3)
Connector 372: Trailer Stop Lamp Switch (JE4 and RQ2 and U86 or JE4 and RQ3)
Connector 373: Transfer Case Encoder Motor (NP1)
Connector 374: Transfer Case Shift Control Module X1 (NP1)
Connector 375: Transfer Case Shift Control Module X2 (NP1)
Connector 376: Transfer Case Shift Control Module X3 (NP1)
Connector 377: Transfer Case Shift Control Switch (NP1)
Connector 378: Transmission Control Module (TCM) (LCT)
Connector 379: Transmission Control Module (TCM) (MD)
Connector 380: Trigger Switch (LF8)
Connector 381: Turbine Shaft Speed (TSS) Sensor (LCT)
Connector 382: Turbocharger Vane Position (TVP) Control Solenoid Valve (LF8)
Connector 383: Turbocharger Vane Position (TVP) Control Solenoid Valve (LMM)
Connector 384: Turbocharger Vane Position Sensor (LF8)
Connector 385: Turbocharger Vane Position Sensor (LMM)
Connector 386: Turbo Speed Sensor (LF6)
Connector 387: Turn Signal/Hazard Flasher Module
Connector 388: Upfitter Transmission Optional Connector
Connector 389: Vacuum Pump (without L18)
Connector 390: Variable Nozzle Turbo (VNT) Actuator (LF6)
Connector 391: Vehicle Speed Sensor (VSS) (A/T)
Connector 392: Vehicle Speed Sensor (VSS) (M/T)
Connector 393: Water in Fuel Sensor (LF6/LF8/KUN/NWB)
Connector 394: Water in Fuel Sensor (LMM)
Connector 395: Wheel Speed Sensor (WSS) - Left Front
Connector 396: Wheel Speed Sensor (WSS) - Left Rear (JE3)
Connector 397: Wheel Speed Sensor (WSS) - Left Rear (JE4)
Connector 398: Wheel Speed Sensor (WSS) - Left Rear Middle (Tandem Axle)
Connector 399: Wheel Speed Sensor (WSS) - Right Front
Connector 400: Wheel Speed Sensor (WSS) - Right Rear (JE3)
Connector 401: Wheel Speed Sensor (WSS) - Right Rear (JE4)
Connector 402: Wheel Speed Sensor (WSS) - Right Rear Middle (Tandem Axle)
Connector 403: Window Motor - Driver (A31)
Connector 404: Window Motor - Left Rear (A31/Crew Cab)
Connector 405: Window Motor - Passenger (A31)
Connector 406: Window Motor - Right Rear (A31/Crew Cab)
Connector 407: Window Switch - Driver (A31 w/o Crew Cab)
Connector 408: Window Switch - Driver X1 (A31/Crew Cab)
Connector 409: Window Switch - Driver X2 (A31/Crew Cab)
Connector 410: Window Switch - Left Rear (A31/Crew Cab)
Connector 411: Window Switch - Passenger (A31)
Connector 412: Window Switch - Right Rear (A31/Crew Cab)
Connector 413: Windshield Washer Fluid Level Switch
Connector 414: Windshield Washer Fluid Pump
Connector 415: Windshield Wiper Motor

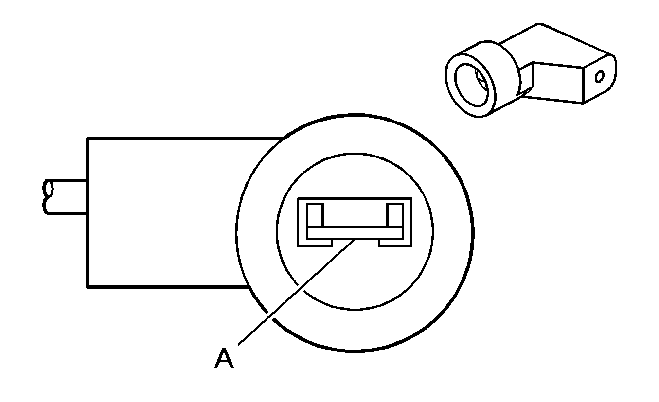
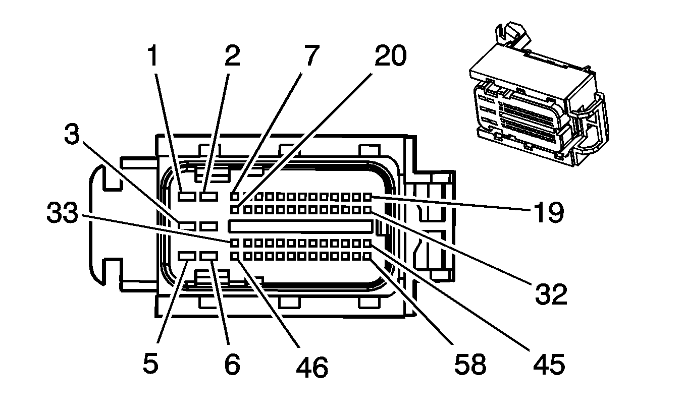
ABS Relay (JE4)


Object Number: 535912  Size: CH

Connector Part Information

  • OEM: 12129716
  • Service: 12166225
  • Description: 4-Way F Metri-Pack 280 Series, Sealed (GY)

Terminal Part Information

  • Pins: 30, 87
  • Terminal/Tray: 12110853/4
  • Core/Insulation Crimp: F/5
  • Release Tool/Test Probe: 15315247/J-35616-4A (PU)
  • Pins: 85, 86
  • Terminal/Tray: 12110847/4
  • Core/Insulation Crimp: C/5
  • Release Tool/Test Probe: 15315247/J-35616-4A (PU)

ABS Relay (JE4)

Pin

Wire

Circuit

Function

30

3.0 RD

442

Battery Positive Voltage

85

0.8 BK

250

Ground

86

0.8 BN

441

Ignition 3 Voltage

87

3.0 PU

2661

ABS Switch Signal

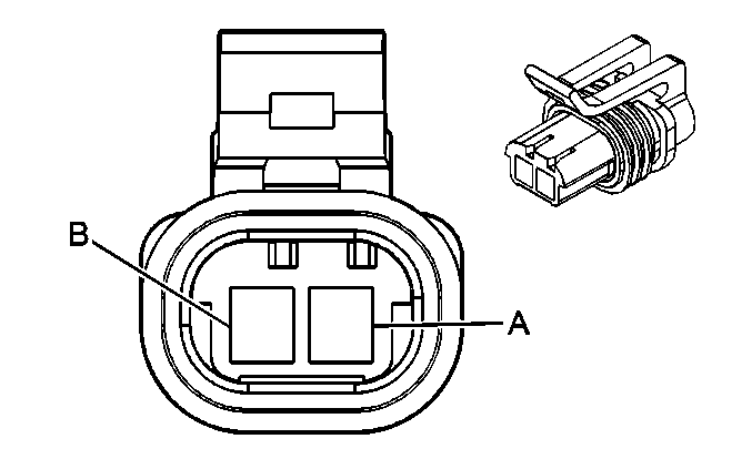
A/C Compressor Clutch (C4/C5 with C60)


Object Number: 1334534  Size: CH

Connector Part Information

  • OEM: 12162017
  • Service: 12101937
  • Description: 2-Way F Metri-Pack 150 Series Sealed (GY)

Terminal Part Information

  • Terminal/Tray: 12048074/2
  • Core/Insulation Crimp: E/1
  • Release Tool/Test Probe: 12094429/J-35616-2A (GY)

A/C Compressor Clutch (C4/C5 with C60)

Pin

Wire

Circuit

Function

A

0.8 BK

250

Ground

B

0.8 D-GN

59

A/C Compressor Clutch Supply Voltage

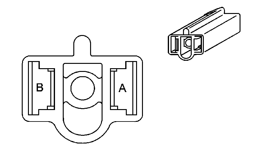
A/C Compressor Clutch (C6/C7/C8 with C60)


Object Number: 684795  Size: CH

Connector Part Information

  • OEM: 12052643
  • Service: 12101858
  • Description: 2-Way F Metri-Pack 150 Series Sealed (RD)

Terminal Part Information

  • Terminal/Tray: 12048074/2
  • Core/Insulation Crimp: E/1
  • Release Tool/Test Probe: 12094429/J-35616-2A (GY)

A/C Compressor Clutch (C6/C7/C8 with C60)

Pin

Wire

Circuit

Function

A

0.8 BK

250

Ground

B

0.8 D-GN

59

A/C Compressor Clutch Supply Voltage

A/C Compressor Clutch Relay (C60)


Object Number: 535912  Size: CH

Connector Part Information

  • OEM: 12129716
  • Service: 12166225
  • Description: 4-Way F Metri-Pack 280 Series, Sealed (GY)

Terminal Part Information

  • Terminal/Tray: 12110847/4
  • Core/Insulation Crimp: C/5
  • Release Tool/Test Probe: 15315247/J-35616-4A (PU)

A/C Compressor Clutch Relay (C60)

Pin

Wire

Circuit

Function

30

0.8 OG

1240

Battery Positive Voltage

85

0.8 D-GN

603

A/C Low Pressure Switch Signal (LF6/LF8)

0.8 D-GN/WH

459

A/C Compressor Clutch Relay Control (L18/LMM)

86

1.0 D-GN/WH

459

A/C Compressor Clutch Relay Control (LF6/LF8)

0.8 BN

441

Ignition 3 Voltage (L18/LMM)

87

0.8 D-GN

59

A/C Compressor Clutch Supply Voltage

A/C High Pressure Switch (LMM with C60)


Object Number: 874942  Size: CH

Connector Part Information

  • OEM: 12162443
  • Service: 12085521
  • Description: 2-Way F Metri-Pack 150 Series, Pull To Seat, Sealed (BK)

Terminal Part Information

  • Terminal/Tray: 12103881/2
  • Core/Insulation Crimp: E/C
  • Release Tool/Test Probe:12180559-1/J-35616-2A (GY)

A/C High Pressure Switch (LMM with C60)

Pin

Wire

Circuit

Function

A

0.8 D-GN/WH

2523

A/C Request Signal

B

0.8 L-GN

66

A/C Request Signal

A/C High Pressure Switch (L18 with C60)


Object Number: 874942  Size: CH

Connector Part Information

  • OEM: 12162443
  • Service: 12085521
  • Description: 2-Way F Metri-Pack 150 Series, Pull To Seat, Sealed (BK)

Terminal Part Information

  • Terminal/Tray: 12103881/2
  • Core/Insulation Crimp: E/C
  • Release Tool/Test Probe:12180559-1/J-35616-2A (GY)

A/C High Pressure Switch (L18 with C60)

Pin

Wire

Circuit

Function

A

1.0 D-GN/WH

762

A/C Request Signal (C4/C5)

0.8 D-GN/WH

762

A/C Request Signal (C6/C7/C8)

B

1.0 L-GN

66

A/C Request Signal (C4/C5)

0.8 L-GN

66

A/C Request Signal (C6/C7/C8)

A/C High Pressure Switch (LF6/LF8 with C60)


Object Number: 874942  Size: CH

Connector Part Information

  • OEM: 12162443
  • Service: 12085521
  • Description: 2-Way F Metri-Pack 150 Series, Pull To Seat, Sealed (BK)

Terminal Part Information

  • Terminal/Tray: 12103881/2
  • Core/Insulation Crimp: E/C
  • Release Tool/Test Probe:12180559-1/J-35616-2A (GY)

A/C High Pressure Switch (LF6/LF8 with C60)

Pin

Wire

Circuit

Function

A

0.8 L-GN

66

A/C Request Signal (LF6)

1.0 L-GN

66

A/C Request Signal (LF8)

B

0.8 D-GN/WH

459

A/C Compressor Clutch Relay Control (LF6)

1.0 D-GN/WH

459

A/C Compressor Clutch Relay Control (LF8)

A/C Low Pressure Switch (C60)


Object Number: 537107  Size: CH

Connector Part Information

  • OEM: 12052644
  • Service: See Catalog
  • Description: 2-Way F Metri-Pack 150 Series Sealed (GY)

Terminal Part Information

  • Terminal/Tray: 12048074/2
  • Core/Insulation Crimp: E/1
  • Release Tool/Test Probe: 12094429/J-35616-2A (GY)

A/C Low Pressure Switch (C60)

Pin

Wire

Circuit

Function

A

0.8 BK

250

Ground (L18/LMM)

0.8 D-GN

603

A/C Low Pressure Switch Signal (LF6/LF8)

B

0.8 D-GN

603

A/C Low Pressure Switch Signal (L18/LMM)

0.8 BK

250

Ground (LF6/LF8)

Accelerator Pedal Position (APP) Sensor (L18)


Object Number: 632344  Size: CH

Connector Part Information

  • OEM: 15326842
  • Service: 15326842
  • Description: 10-Way F GT 150 Series, Sealed (BK)

Terminal Part Information

  • Terminal/Tray: 12191819/8
  • Core/Insulation Crimp: E/A
  • Release Tool/Test Probe: 15315247/J-35616-2A (GY)

Accelerator Pedal Position (APP) Sensor (L18)

Pin

Wire

Circuit

Function

A-C

--

--

Not Used

D

0.5 WH/BK

1164

5-Volt Reference

E

0.5 D-BU

1161

APP Sensor 1 Signal

F

--

--

Not Used

G

0.5 TN

1274

5-Volt Reference

H

0.5 L-BU

1162

APP Sensor 2 Signal

J

0.5 PU

1272

Low Reference

K

0.5 BN

1271

Low Reference

Accelerator Pedal Position (APP) Sensor (LF6)


Object Number: 684807  Size: CH

Connector Part Information

  • OEM: 12110293
  • Service: 12117025
  • Description: 3-Way F Metri-Pack 150 Series, Sealed (BK)

Terminal Part Information

  • Terminal/Tray: 12048074/2
  • Core/Insulation Crimp: E/1
  • Release Tool/Test Probe: 12094429/J-35616-2A (GY)

Accelerator Pedal Position (APP) Sensor (LF6)

Pin

Wire

Circuit

Function

A

0.8 WH/BK

1164

5-Volt Reference

B

0.8 BK/WH

451

Ground

C

0.8 D-BU

1161

APP Sensor 1 Signal

Accelerator Pedal Position (APP) Sensor (LF8)


Object Number: 632344  Size: CH

Connector Part Information

  • OEM: 15326842
  • Service: 15326842
  • Description: 10-Way F GT 150 Series, Sealed (BK)

Terminal Part Information

  • Terminal/Tray: 12191819/8
  • Core/Insulation Crimp: E/A
  • Release Tool/Test Probe: 15315247/J-35616-2A (GY)

Accelerator Pedal Position (APP) Sensor (LF8)

Pin

Wire

Circuit

Function

A

0.5 D-GN

1163

APP Sensor 3 Signal

B

0.5 YE/BK

1275

5-Volt Reference

C

--

--

Not Used

D

0.5 WH/BK

1164

5-Volt Reference

E

0.5 D-BU

1161

APP Sensor 1 Signal

F

0.5 GY

1273

Low Reference

G

0.5 PU

1272

Low Reference

H

0.5 L-BU

1162

APP Sensor 2 Signal

J

0.5 TN

1274

5-Volt Reference

K

0.5 BN

1271

Low Reference

Accelerator Pedal Position (APP) Sensor (LMM)


Object Number: 886053  Size: CH

Connector Part Information

  • OEM: 15326830
  • Service: 15326829
  • Description: 6-Way F GT 150 Series Sealed (BK)

Terminal Part Information

  • Terminal/Tray: 12191819/8
  • Core/Insulation Crimp: E/A
  • Release Tool/Test Probe: 15315247/J-35616-2A (GY)

Accelerator Pedal Position (APP) Sensor (LMM)

Pin

Wire

Circuit

Function

A

0.5 PU

1272

Low Reference

B

0.5 L-BU

1162

APP Sensor 2 Signal

C

0.5 TN

1274

5-Volt Reference 2

D

0.5 BN

1271

Low Reference

E

0.5 D-BU

1161

APP Sensor 1 Signal

F

0.5 WH/BK

1164

5-Volt Reference 3

Air Brake Dryer (JE4/JTU)


Object Number: 646148  Size: CH

Connector Part Information

  • OEM: 12020599
  • Service: 12102664
  • Description: 2-Way F Metri-Pack 280 Series (BK)

Terminal Part Information

  • Terminal/Tray: 12077411/2
  • Core/Insulation Crimp: 2/5
  • Release Tool/Test Probe: 12094430/J-35616-4A (PU)

Air Brake Dryer (JE4/JTU)

Pin

Wire

Circuit

Function

A

0.5 BN

541

Ignition 3 Voltage

B

0.8 BK

350

Ground

Air Brake Pressure Gage Lamp (JE4)


Object Number: 743312  Size: CH

Connector Part Information

  • OEM: 12004264
  • Service: See Catalog
  • Description: 2-Way Lamp Socket Components Bulb Bases Type W-2 Axial (BK)

Terminal Part Information

  • Terminal/Tray: See Terminal Repair Kit
  • Core/Insulation Crimp: See Terminal Repair Kit
  • Release Tool/Test Probe: See Terminal Repair Kit

Air Brake Pressure Gage Lamp (JE4)

Pin

Wire

Circuit

Function

A

0.5 GY

8

Instrument Panel Lamps Dimmer Switch Signal

B

0.5 BK

450

Ground

Air Compressor (K16)


Object Number: 1413064  Size: CH

Connector Part Information

  • OEM: 12124819
  • Service: 12085498
  • Description: 2-Way F Metri-Pack Series, Sealed (BK)

Terminal Part Information

  • Terminal/Tray: See Terminal Repair Kit
  • Core/Insulation Crimp: See Terminal Repair Kit
  • Release Tool/Test Probe: See Terminal Repair Kit

Air Compressor (K16)

Pin

Wire

Circuit

Function

A

3.0 OG

350

Air Compressor Motor Supply Voltage

B

3.0 BK

350

Ground

Air Compressor - Driver (AEL)


Object Number: 258174  Size: CH

Connector Part Information

  • OEM: 12010973
  • Service: 12085524
  • Description: 2-Way M Weather-Pack (BK)

Terminal Part Information

  • Terminal/Tray: 12089040/3
  • Core/Insulation Crimp: E/5
  • Release Tool/Test Probe: 12014012-1/J-35616-9 (OG)

Air Compressor - Driver (AEL)

Pin

Wire

Circuit

Function

A

3.0 OG

1840

Battery Positive Voltage

B

3.0 BK

350

Ground

Air Compressor - Passenger (AEK)


Object Number: 258174  Size: CH

Connector Part Information

  • OEM: 12010973
  • Service: 12085524
  • Description: 2-Way M Weather-Pack (BK)

Terminal Part Information

  • Terminal/Tray: 12089040/3
  • Core/Insulation Crimp: E/5
  • Release Tool/Test Probe: 12014012-1/J-35616-9 (OG)

Air Compressor - Passenger (AEK)

Pin

Wire

Circuit

Function

A

3.0 OG

1840

Battery Positive Voltage

B

3.0 BK

350

Ground

Air Compressor Relay (K16)


Object Number: 535912  Size: CH

Connector Part Information

  • OEM: 12129716
  • Service: 12166225
  • Description: 4-Way F Metri-Pack 280 Series, Sealed (GY)

Terminal Part Information

  • Terminal/Tray: See Terminal Repair Kit
  • Core/Insulation Crimp: See Terminal Repair Kit
  • Release Tool/Test Probe: See Terminal Repair Kit

Air Compressor Relay (K16)

Pin

Wire

Circuit

Function

30

3.0 OG

1840

Battery Positive Voltage

85

3.0 BK

350

Ground

86

0.8 RD

2672

Air Compressor Relay Control

87

3.0 OG

350

Air Compressor Motor Supply Voltage

Air Suspension Dump Switch (G40/G45/GSJ)


Object Number: 40422  Size: CH

Connector Part Information

  • OEM: 12064762
  • Service: 12125665
  • Description: 6-Way F Metri-Pack 150 Series (L-GY)

Terminal Part Information

  • Pins: A-B, E-F
  • Terminal/Tray: 12064971/5
  • Core/Insulation Crimp: E/C
  • Release Tool/Test Probe: 12094429/J-35616-2A (GY)
  • Pins: C-D
  • Terminal/Tray: 12047767/2
  • Core/Insulation Crimp: E/A
  • Release Tool/Test Probe: 12094429/J-35616-2A (GY)

Air Suspension Dump Switch (G40/G45/GSJ)

Pin

Wire

Circuit

Function

A

0.5 BN

541

Ignition 3 Voltage

B

0.5 BN

2509

Left Rear Park Lamps Supply Voltage

C

0.8 D-BU

1944

Suspension Dump Valve Solenoid Control

D

0.8 D-BU

1944

Suspension Dump Valve Solenoid Control

E

0.5 BK

750

Ground

F

0.5 BK

750

Ground

Air Suspension Dump Valve Solenoid


Object Number: 635009  Size: CH

Connector Part Information

  • OEM: 12052641
  • Service: 12102747
  • Description: 2-Way F Metri-Pack 150 Series (BK)

Terminal Part Information

  • Terminal/Tray: 12048074/2
  • Core/Insulation Crimp: E/1
  • Release Tool/Test Probe: 12094429/J-35616-2A (GY)

Air Suspension Dump Valve Solenoid

Pin

Wire

Circuit

Function

A

0.8 D-BU

1944

Suspension Dump Valve Solenoid Control

B

0.8 BK

350

Ground

Air Temperature Actuator (C60)


Object Number: 281207  Size: CH

Connector Part Information

  • OEM: 12040953
  • Service: 12102632
  • Description: 6-Way F Micro-Pack 100 Series (BK)

Terminal Part Information

  • Terminal/Tray: 12146448/19
  • Core/Insulation Crimp: Pins 7-8: E/C
  • Core/Insulation Crimp: Pins 10: E/A
  • Release Tool/Test Probe: 12031876-1/J-35616-6 (BN)

Air Temperature Actuator (C60)

Pin

Wire

Circuit

Function

5-6

--

--

Not Used

7

0.8 BK

450

Ground

8

0.8 L-BU

733

Left Air Temperature Door Control

9

--

--

Not Used

10

1.0 BN

141

Ignition 3 Voltage

Automatic Transmission Fluid Temperature (TFT) Gage (UXT)


Object Number: 40422  Size: CH

Connector Part Information

  • OEM: 12064762
  • Service: 12125665
  • Description: 6-Way F Metri-Pack 150 Series (L-GY)

Terminal Part Information

  • Pins: A, D, F
  • Terminal/Tray: 12064971/5
  • Core/Insulation Crimp: E/C
  • Release Tool/Test Probe: 12094429/J-35616-2A (GY)
  • Pins: C
  • Terminal/Tray: 12047767/2
  • Core/Insulation Crimp: E/A
  • Release Tool/Test Probe: 12094429/J-35616-2A (GY)

Automatic Transmission Fluid Temperature (TFT) Gage (UXT)

Pin

Wire

Circuit

Function

A

0.5 PK

39

Ignition 1 Voltage

B

--

--

Not Used

C

0.8 TN/WH

585

Transmission Oil Temperature Sensor Signal

D

0.5 BK

450

Ground

E

--

--

Not Used

F

0.5 GY

8

Instrument Panel Lamps Dimmer Switch Signal

Automatic Transmission Fluid Temperature (TFT) Sensor (LCT with UXT)


Object Number: 646180  Size: CH

Connector Part Information

  • OEM: 12162198
  • Service: 12102620
  • Description: 2-Way F Metri-Pack 150.2 Series, Sealed Pull To Seat (GY)

Terminal Part Information

  • Terminal/Tray: 12124075/5
  • Core/Insulation Crimp: E/C
  • Release Tool/Test Probe: 12180559-1/J-35616-2A (GY)

Automatic Transmission Fluid Temperature (TFT) Sensor (LCT with UXT)

Pin

Wire

Circuit

Function

A

1.0 TN/WH

585

Transmission Oil Temperature Sensor Signal

B

0.8 BK/WH

351

Ground

Automatic Transmission Input Shaft Speed (ISS) Sensor


Object Number: 1710949  Size: CH

Connector Part Information

  • OEM: 15490464
  • Service: See Catalog
  • Description: 2-Way F GT 150 Series Sealed (BK)

Terminal Part Information

  • Terminal/Tray: See Terminal Repair Kit
  • Core/Insulation Crimp: See Terminal Repair Kit
  • Release Tool/Test Probe: See Terminal Repair Kit

Automatic Transmission Input Shaft Speed (ISS) Sensor

Pin

Wire

Circuit

Function

A

0.8 RD/BK

1230

AT ISS High Signal

B

0.8 D-BU/WH

1231

AT ISS Low Signal

Automatic Transmission Shift Lever (MD)


Object Number: 261930  Size: CH

Connector Part Information

  • OEM: 12191065
  • Service: 88987977
  • Description: 16-Way F Micro-Pack 100W, Sealed (NA)

Terminal Part Information

  • Terminal/Tray: Pins: 3, 5: 12084913/5
  • Terminal/Tray: Pins: 8,11-13,15 : 12084912/5
  • Core/Insulation Crimp: W/W
  • Release Tool/Test Probe: 12122523/J-35616-6 (BN)

Automatic Transmission Shift Lever (MD)

Pin

Wire

Circuit

Function

1-2

--

--

Not Used

3

0.5 GY

8

Instrument Panel Lamps Dimmer Switch Signal

4

--

--

Not Used

5

0.5 BK

450

Ground

6-7

--

--

Not Used

8

0.8 YE

2361

SAE J1939 Serial Data Bus+

9-10

--

--

Not Used

11

0.8 D-GN

1373

Transmission Shift Selector Mode Signal

12

0.5 PK

1020

Ignition 0 Voltage

13

0.8 OG

440

Battery Positive Voltage

14

--

--

Not Used

15

0.8 D-GN

2362

SAE J1939 Serial Data Bus-

16

--

--

Not Used

Auxiliary Air Tank Pressure Switch (JE3/K16)


Object Number: 258174  Size: CH

Connector Part Information

  • OEM: 12010973
  • Service: 12085524
  • Description: 2-Way M Weather-Pack (BK)

Terminal Part Information

  • Terminal/Tray: 12089040/3
  • Core/Insulation Crimp: E/5
  • Release Tool/Test Probe: 12014012-1/J-35616-9 (OG)

Auxiliary Air Tank Pressure Switch (JE3/K16)

Pin

Wire

Circuit

Function

A

0.8 BN

541

Ignition 3 Voltage

B

0.8 GY

2672

Air Compressor Relay Control

Auxiliary Power Outlet 1


Object Number: 320518  Size: CH

Connector Part Information

  • OEM: 12176446
  • Service: 15305985
  • Description: 3-Way F Metri-Pack 280 Series Flexlock (BK)

Terminal Part Information

  • Terminal/Tray: 12110844/4
  • Core/Insulation Crimp: C/A
  • Release Tool/Test Probe: 15315247/J-35616-4A (PU)

Auxiliary Power Outlet 1

Pin

Wire

Circuit

Function

A

1.0 OG

840

Battery Positive Voltage

B

--

--

Not Used

C

1.0 BK

450

Ground

Auxiliary Power Outlet 2


Object Number: 320518  Size: CH

Connector Part Information

  • OEM: 12176446
  • Service: 15305985
  • Description: 3-Way F Metri-Pack 280 Series Flexlock (BK)

Terminal Part Information

  • Terminal/Tray: 12110844/4
  • Core/Insulation Crimp: C/A
  • Release Tool/Test Probe: 15315247/J-35616-4A (PU)

Auxiliary Power Outlet 2

Pin

Wire

Circuit

Function

A

1.0 OG

840

Battery Positive Voltage

B

--

--

Not Used

C

1.0 BK

450

Ground

Back Up Alarm (UZF)


Object Number: 68721  Size: CH

Connector Part Information

  • OEM: 15300027
  • Service: 12101855
  • Description: 2-Way F Metri-Pack 280 Series, Sealed (BK)

Terminal Part Information

  • Terminal/Tray: 12129493/2
  • Core/Insulation Crimp: 4/5
  • Release Tool/Test Probe: 12094430/J-35616-4A (PU)

Back Up Alarm (UZF)

Pin

Wire

Circuit

Function

A

2.0 L-GN

24

Backup Lamp Supply Voltage

B

2.0 BK

350

Ground

Backup Lamp Switch (M/T)


Object Number: 537107  Size: CH

Connector Part Information

  • OEM: 12052644
  • Service: See Catalog
  • Description: 2-Way F Metri-Pack 150 Series, Sealed (GY)

Terminal Part Information

  • Terminal/Tray: 12048074/2
  • Core/Insulation Crimp: E/1
  • Release Tool/Test Probe: 12094429/J-35616-2A (GY)

Backup Lamp Switch (M/T)

Pin

Wire

Circuit

Function

A

0.8 PK

139

Ignition 1 Voltage

B

0.8 L-GN

24

Backup Lamp Supply Voltage

Barometric Pressure (BARO) Sensor (LF6)


Object Number: 1428077  Size: CH

Connector Part Information

  • OEM: 2304013
  • Service: See Catalog
  • Description: 3-Way F, Sealed (Caterpillar) (BK)

Terminal Part Information

  • Terminal/Tray: See Terminal Repair Kit
  • Core/Insulation Crimp: See Terminal Repair Kit
  • Release Tool/Test Probe: See Terminal Repair Kit

Barometric Pressure (BARO) Sensor (LF6)

Pin

Wire

Circuit

Function

1

0.8 WH

G828

5-Volt Reference

2

0.8 GN

G829

Low Reference

3

0.8 BN

U779

Baro Pressure Sensor Signal

Battery Auxiliary (+) (VNF)

Terminal Part Information

  • Terminal: 15358955
  • Core/Insulation Crimp: N/A
  • Description: Battery Ring Terminal

Battery Auxiliary (+) (VNF)

Pin

Wire

Circuit

Function

+

50.0 BK

2

Battery Positive Voltage

32.0 BK

2

Battery Positive Voltage

Battery Auxiliary (-) (VNF)

Terminal Part Information

  • Terminal: 12129221
  • Core/Insulation Crimp: N/A
  • Description: Battery Ring Terminal

Battery Auxiliary (-) (VNF)

Pin

Wire

Circuit

Function

-

62.0 BK

50

Battery Ground

Battery 1 (+) (Battery Cable) (L18)

Terminal Part Information

  • Harness: Battery Cable
  • Terminal: 12004800
  • Core/Insulation Crimp: N/A
  • Description: Battery Ring Terminal

Battery 1 (+) (Battery Cable) (L18)

Pin

Wire

Circuit

Function

+

50.0 BK

2

Battery Positive Voltage

32.0 BK

2

Battery Positive Voltage

Battery 1 (+) (Battery Isolator) (L18 with VNF/TNQ)

Terminal Part Information

  • Harness: Battery Isolator
  • Terminal: 12176402
  • Core/Insulation Crimp: N/A
  • Description: Battery Ring Terminal

Battery 1 (+) (Battery Isolator) (L18 with VNF/TNQ)

Pin

Wire

Circuit

Function

+

19.0 RD

2

Battery Positive Voltage

Battery 1 (+) (Battery to Battery) (L18 without VNF)

Terminal Part Information

  • Harness: Battery to Battery
  • Terminal: 12176400
  • Core/Insulation Crimp: N/A
  • Description: Battery Ring Terminal

Battery 1 (+) (Battery to Battery) (L18 without VNF)

Pin

Wire

Circuit

Function

+

50.0 BK

2

Battery Positive Voltage

Battery 1 (-) (Battery Cable) (L18)

Terminal Part Information

  • Harness: Battery Cable
  • Terminal: 12084825
  • Core/Insulation Crimp: N/A
  • Description: Battery Ring Terminal

Battery 1 (-) (Battery Cable) (L18)

Pin

Wire

Circuit

Function

-

62.0 BK

50

Battery Ground

Battery 1 (-) (Battery to Battery) (L18)

Terminal Part Information

  • Harness: Battery to Battery
  • Terminal: 12084825
  • Core/Insulation Crimp: N/A
  • Description: Battery Ring Terminal

Battery 1 (-) (Battery to Battery) (L18)

Pin

Wire

Circuit

Function

-

50.0 BK

50

Battery Ground

Battery 2 (+) (Battery Isolator) (L18 with VNF)

Terminal Part Information

  • Harness: Battery Isolator
  • Terminal: 12004797
  • Core/Insulation Crimp: N/A
  • Description: Battery Ring Terminal

Battery 2 (+) (Battery Isolator) (L18 with VNF)

Pin

Wire

Circuit

Function

+

19.0 RD

2

Battery Positive Voltage

Battery 2 (+) (Battery to Battery) (L18 without VNF)

Terminal Part Information

  • Harness: Battery to Battery
  • Terminal: 12004796
  • Core/Insulation Crimp: N/A
  • Description: Battery Ring Terminal

Battery 2 (+) (Battery to Battery) (L18 without VNF)

Pin

Wire

Circuit

Function

+

50.0 BK

2

Battery Positive Voltage

Battery 2 (+) (Battery to Battery) (L18 with TNN/TNL)

Terminal Part Information

  • Harness: Battery to Battery
  • Terminal: 12176402
  • Core/Insulation Crimp: N/A
  • Description: Battery Ring Terminal

Battery 2 (+) (Battery to Battery) (L18 with TNN/TNL)

Pin

Wire

Circuit

Function

+

19.0 RD

2

Battery Positive Voltage

Battery 2 (-) (Battery to Battery) (L18)

Terminal Part Information

  • Harness: Battery to Battery
  • Terminal: 12004796
  • Core/Insulation Crimp: N/A
  • Description: Battery Ring Terminal

Battery 2 (-) (Battery to Battery) (L18)

Pin

Wire

Circuit

Function

-

50.0 BK

50

Battery Ground

Battery 1 (+) (Battery Cable) (LF6/LF8)

Terminal Part Information

  • Harness: Battery Cable
  • Terminal: 12004796
  • Core/Insulation Crimp: N/A
  • Description: Battery Ring Terminal

Battery 1 (+) (Battery Cable) (LF6/LF8)

Pin

Wire

Circuit

Function

+

50.0 BK

2

Battery Positive Voltage

Battery 1 (+) (Battery Cable) (LF6)

Terminal Part Information

  • Harness: Battery Cable
  • Terminal: 12176693
  • Core/Insulation Crimp: N/A
  • Description: Battery Ring Terminal

Battery 1 (+) (Battery Cable) (LF6)

Pin

Wire

Circuit

Function

+

103.0 BK

2

Battery Positive Voltage

Battery 1 (+) (Battery Cable) (LF8)

Terminal Part Information

  • Harness: Battery Cable
  • Terminal: 12176401
  • Core/Insulation Crimp: N/A
  • Description: Battery Ring Terminal

Battery 1 (+) (Battery Cable) (LF8)

Pin

Wire

Circuit

Function

+

62.0 BK

2

Battery Positive Voltage

Battery 1 (-) (Battery Cable) (LF6/LF8)

Terminal Part Information

  • Harness: Battery Cable
  • Terminal: 12084825
  • Core/Insulation Crimp: N/A
  • Description: Battery Ring Terminal

Battery 1 (-) (Battery Cable) (LF6/LF8)

Pin

Wire

Circuit

Function

-

62.0 BK

2

Battery Ground

Battery 1 (-) (Battery to Battery) (LF6/LF8)

Terminal Part Information

  • Harness: Battery to Battery
  • Terminal: 12176400
  • Core/Insulation Crimp: N/A
  • Description: Battery Ring Terminal

Battery 1 (-) (Battery to Battery) (LF6/LF8)

Pin

Wire

Circuit

Function

-

62.0 BK

2

Battery Ground

Battery 2 (+) (Battery Cable) (LF6)

Terminal Part Information

  • Harness: Battery Cable
  • Terminal: 94666578
  • Core/Insulation Crimp: N/A
  • Description: Battery Ring Terminal

Battery 2 (+) (Battery Cable) (LF6)

Pin

Wire

Circuit

Function

+

103.0 BK

2653

Battery Positive Voltage

103.0 BK

2653

Battery Positive Voltage

Battery 2 (+) (Battery Cable) (LF8)

Terminal Part Information

  • Harness: Battery Cable
  • Terminal: 12004781
  • Core/Insulation Crimp: N/A
  • Description: Battery Ring Terminal

Battery 2 (+) (Battery Cable) (LF8)

Pin

Wire

Circuit

Function

+

62.0 BK

2653

Battery Positive Voltage

62.0 BK

2653

Battery Positive Voltage

Battery 2 (+) (Battery to Battery) (LF6/LF8)

Terminal Part Information

  • Harness: Battery to Battery
  • Terminal: 12176400
  • Core/Insulation Crimp: N/A
  • Description: Battery Ring Terminal

Battery 2 (+) (Battery to Battery) (LF6/LF8)

Pin

Wire

Circuit

Function

+

50.0 RD

2

Battery Positive Voltage

Battery 2 (-) (Battery to Battery) (LF6/LF8)

Terminal Part Information

  • Harness: Battery to Battery
  • Terminal: 12176400
  • Core/Insulation Crimp: N/A
  • Description: Battery Ring Terminal

Battery 2 (-) (Battery to Battery) (LF6/LF8)

Pin

Wire

Circuit

Function

-

50.0 BK

50

Battery Ground

Battery 2 (-) (Battery to Battery) (LF6/LF8)

Terminal Part Information

  • Harness: Battery to Battery
  • Terminal: 12004796
  • Core/Insulation Crimp: N/A
  • Description: Battery Ring Terminal

Battery 2 (-) (Battery to Battery) (LF6/LF8)

Pin

Wire

Circuit

Function

-

50.0 BK

50

Battery Ground

Battery 3 (+) (Battery to Battery) (LF6/LF8)

Terminal Part Information

  • Harness: Battery to Battery
  • Terminal: 12004796
  • Core/Insulation Crimp: N/A
  • Description: Battery Ring Terminal

Battery 3 (+) (Battery to Battery) (LF6/LF8)

Pin

Wire

Circuit

Function

+

50.0 RD

2

Battery Ground

Battery 3 (-) (Battery to Battery) (LF6/LF8)

Terminal Part Information

  • Harness: Battery to Battery
  • Terminal: 12004796
  • Core/Insulation Crimp: N/A
  • Description: Battery Ring Terminal

Battery 3 (-) (Battery to Battery) (LF6/LF8)

Pin

Wire

Circuit

Function

-

50.0 BK

50

Battery Ground

Battery 1 (+) (Battery Cable) (LMM without B3D/ANC)

Terminal Part Information

  • Harness: Battery Cable
  • Terminal: 12176401
  • Core/Insulation Crimp: N/A
  • Description: Battery Ring Terminal

Battery 1 (+) (Battery Cable) (LMM without B3D/ANC)

Pin

Wire

Circuit

Function

+

62.0 RD

2

Battery Positive Voltage

Battery 1 (+) (Battery Cable) (LMM without B3D/ANC)

Terminal Part Information

  • Harness: Battery Cable
  • Terminal: 12004796
  • Core/Insulation Crimp: N/A
  • Description: Battery Ring Terminal

Battery 1 (+) (Battery Cable) (LMM without B3D/ANC)

Pin

Wire

Circuit

Function

+

50.0 RD

2

Battery Positive Voltage

Battery 1 (+) (Battery Cable) (LMM with B3D/ANC)

Terminal Part Information

  • Harness: Battery Cable
  • Terminal: 12084825
  • Core/Insulation Crimp: N/A
  • Description: Battery Ring Terminal

Battery 1 (+) (Battery Cable) (LMM with B3D/ANC)

Pin

Wire

Circuit

Function

+

62.0 RD

1

Battery Positive Voltage

Battery 1 (+) (Auxiliary Battery Cable) (LMM with B3D/ANC)

Terminal Part Information

  • Harness: Auxiliary Battery Cable
  • Terminal: 12176402
  • Core/Insulation Crimp: N/A
  • Description: Battery Ring Terminal

Battery 1 (+) (Auxiliary Battery Cable) (LMM with B3D/ANC)

Pin

Wire

Circuit

Function

+

19.0 RD

1

Battery Positive Voltage

Battery 1 (-) (Battery Cable) (LMM)

Terminal Part Information

  • Harness: Battery Cable
  • Terminal: 12084825
  • Core/Insulation Crimp: N/A
  • Description: Battery Ring Terminal

Battery 1 (-) (Battery Cable) (LMM)

Pin

Wire

Circuit

Function

-

62.0 BK

50

Battery Ground

Battery 1 (-) (Battery to Battery) (LMM)

Terminal Part Information

  • Harness: Battery to Battery
  • Terminal: 12176400
  • Core/Insulation Crimp: N/A
  • Description: Battery Ring Terminal

Battery 1 (-) (Battery to Battery) (LMM)

Pin

Wire

Circuit

Function

-

50.0 BK

50

Battery Ground

Battery 2 (+) (Battery Cable) (LMM without B3D/ANC)

Terminal Part Information

  • Harness: Battery Cable
  • Terminal: 12004781
  • Core/Insulation Crimp: N/A
  • Description: Battery Ring Terminal

Battery 2 (+) (Battery Cable) (LMM without B3D/ANC)

Pin

Wire

Circuit

Function

+

62.0 RD

2

Battery Positive Voltage

62.0 RD

2

Battery Positive Voltage

Battery 2 (+) (Battery Cable) (LMM with B3D/ANC)

Terminal Part Information

  • Harness: Battery Cable
  • Terminal: 12004781
  • Core/Insulation Crimp: N/A
  • Description: Battery Ring Terminal

Battery 2 (+) (Battery Cable) (LMM with B3D/ANC)

Pin

Wire

Circuit

Function

+

62.0 RD

1

Battery Positive Voltage

62.0 RD

1

Battery Positive Voltage

Battery 2 (+) (Battery Isolator) (LMM with VNF)

Terminal Part Information

  • Harness: Battery Isolator
  • Terminal: 12176402
  • Core/Insulation Crimp: N/A
  • Description: Battery Ring Terminal

Battery 2 (+) (Battery Isolator) (LMM with VNF)

Pin

Wire

Circuit

Function

+

19.0 RD

2

Battery Positive Voltage

Battery 2 (+) (Battery to Battery) (LMM with TNR)

Terminal Part Information

  • Harness: Battery to Battery
  • Terminal: 12176400
  • Core/Insulation Crimp: N/A
  • Description: Battery Ring Terminal

Battery 2 (+) (Battery to Battery) (LMM with TNR)

Pin

Wire

Circuit

Function

+

50.0 RD

2

Battery Positive Voltage

Battery 2 (+) (Battery Cable) (LMM with TNN)

Terminal Part Information

  • Harness: Battery Cable
  • Terminal: 12176400
  • Core/Insulation Crimp: N/A
  • Description: Battery Ring Terminal

Battery 2 (+) (Battery Cable) (LMM with TNN)

Pin

Wire

Circuit

Function

+

50.0 RD

1

Battery Positive Voltage

Battery 2 (-) (Battery to Battery) (LMM)

Terminal Part Information

  • Harness: Battery to Battery
  • Terminal: 12176400
  • Core/Insulation Crimp: N/A
  • Description: Battery Ring Terminal

Battery 2 (-) (Battery to Battery) (LMM)

Pin

Wire

Circuit

Function

-

50.0 BK

50

Battery Ground

Battery 2 (-) (Battery to Battery) (LMM)

Terminal Part Information

  • Harness: Battery to Battery
  • Terminal: 12004796
  • Core/Insulation Crimp: N/A
  • Description: Battery Ring Terminal

Battery 2 (-) (Battery to Battery) (LMM)

Pin

Wire

Circuit

Function

-

50.0 BK

50

Battery Ground

Battery 3 (+) (Battery to Battery) (LMM with TNR)

Terminal Part Information

  • Harness: Battery to Battery
  • Terminal: 12004796
  • Core/Insulation Crimp: N/A
  • Description: Battery Ring Terminal

Battery 3 (+) (Battery to Battery) (LMM with TNR)

Pin

Wire

Circuit

Function

+

50.0 BK

2

Battery Positive Voltage

Battery 3 (+) (Battery Cable) (LMM with TNR)

Terminal Part Information

  • Harness: Battery Cable
  • Terminal: 12176400
  • Core/Insulation Crimp: N/A
  • Description: Battery Ring Terminal

Battery 3 (+) (Battery Cable) (LMM with TNR)

Pin

Wire

Circuit

Function

+

50.0 RD

1

Battery Positive Voltage

Battery 3 (+) (Battery Isolator) (LMM with VNF)

Terminal Part Information

  • Harness: Battery Isolator
  • Terminal: 12004797
  • Core/Insulation Crimp: N/A
  • Description: Battery Ring Terminal

Battery 3 (+) (Battery Isolator) (LMM with VNF)

Pin

Wire

Circuit

Function

+

50.0 BK

2

Battery Positive Voltage

Battery 3 (-) (Battery to Battery) (LMM)

Terminal Part Information

  • Harness: Battery to Battery
  • Terminal: 12004796
  • Core/Insulation Crimp: N/A
  • Description: Battery Ring Terminal

Battery 3 (-) (Battery to Battery) (LMM)

Pin

Wire

Circuit

Function

-

50.0 BK

50

Battery Ground

Battery Isolator X1 (L18/LMM with VNF)

Terminal Part Information

  • Harness: Battery Isolator
  • Terminal: 12146429
  • Core/Insulation Crimp: N/A
  • Description: Ring Terminal

Battery Isolator X1 (L18/LMM with VNF)

Pin

Wire

Circuit

Function

A

32.0 BK

2653

Battery Positive Voltage

Battery Isolator X2 (L18/LMM with VNF)

Terminal Part Information

  • Harness: Battery Isolator
  • Terminal: 12015907
  • Core/Insulation Crimp: N/A
  • Description: Ring Terminal

Battery Isolator X2 (L18/LMM with VNF)

Pin

Wire

Circuit

Function

E

1.0 BN

641

Battery Positive Voltage

Battery Isolator X3 (L18/LMM with VNF)

Terminal Part Information

  • Harness: Battery Isolator
  • Terminal: 12146365
  • Core/Insulation Crimp: N/A
  • Description: Ring Terminal

Battery Isolator X3 (L18/LMM with VNF)

Pin

Wire

Circuit

Function

ABAT

19.0 RD

2

Battery Positive Voltage

Battery Isolator X4 (L18/LMM with VNF)

Terminal Part Information

  • Harness: Battery Isolator
  • Terminal: 12146365
  • Core/Insulation Crimp: N/A
  • Description: Ring Terminal

Battery Isolator X4 (L18/LMM with VNF)

Pin

Wire

Circuit

Function

PBAT

19.0 RD

2

Battery Positive Voltage

Blower Motor (C40/C60)


Object Number: 62488  Size: CH

Connector Part Information

  • OEM: 12084957
  • Service: 12126461
  • Description: 2-Way F Metri-Pack 280 Series (BK)

Terminal Part Information

  • Terminal/Tray: See Terminal Repair Kit
  • Core/Insulation Crimp: See Terminal Repair Kit
  • Release Tool/Test Probe: See Terminal Repair Kit

Blower Motor (C40/C60)

Pin

Wire

Circuit

Function

A

3.0 RD

65

Blower Motor Supply Voltage

B

3.0 BK/WH

450

Ground

Blower Motor - Auxiliary X1 (C36)


Object Number: 874943  Size: CH

Connector Part Information

  • OEM: 12040673
  • Service: 12117342
  • Description: 1-Way F Metri-Pack 800 Series, Inset Molded (BK)

Terminal Part Information

  • Terminal/Tray: See Terminal Repair Kit
  • Core/Insulation Crimp: See Terminal Repair Kit
  • Release Tool/Test Probe: See Terminal Repair Kit

Blower Motor - Auxiliary X1 (C36)

Pin

Wire

Circuit

Function

A

2.0 YE

1172

Auxiliary Blower Motor Supply Voltage

Blower Motor - Auxiliary X2 (C36)


Object Number: 35348  Size: CH

Connector Part Information

  • OEM: 12004267
  • Service: 08911256
  • Description: 1-Way F 56 Series Lock Type (BK)

Terminal Part Information

  • Terminal/Tray: See Terminal Repair Kit
  • Core/Insulation Crimp: See Terminal Repair Kit
  • Release Tool/Test Probe: See Terminal Repair Kit

Blower Motor - Auxiliary X2 (C36)

Pin

Wire

Circuit

Function

A

1.0 BK

550

Ground

Blower Motor Relay - Auxiliary (C36)


Object Number: 535912  Size: CH

Connector Part Information

  • OEM: 12129716
  • Service: 12166225
  • Description: 4-Way F Metri-Pack 280 Series, Sealed (GY)

Terminal Part Information

  • Terminal/Tray: 12110847/4
  • Core/Insulation Crimp: C/5
  • Release Tool/Test Probe:15315247/J-35616-4A (PU)

Blower Motor Relay - Auxiliary (C36)

Pin

Wire

Circuit

Function

30

1.0 OG

540

Battery Positive Voltage

85

1.0 BK

550

Ground

86

1.0 BN

141

Ignition 3 Voltage

87

1.0 OG

1923

Auxiliary HVAC Switch Supply Voltage

Blower Motor Resistor (C40/C60)


Object Number: 535914  Size: CH

Connector Part Information

  • OEM: 12160746
  • Service: 12160746
  • Description: 6-Way F Metri-Pack 280 Series, Flexlock, Sealed (L-GY)

Terminal Part Information

  • Terminal/Tray: 12110847/4
  • Core/Insulation Crimp: C/5
  • Release Tool/Test Probe:15315247/J-35616-4A (PU)

Blower Motor Resistor (C40/C60)

Pin

Wire

Circuit

Function

A

5.0 RD

542

Battery Positive Voltage

B

1.0 OG

52

Blower Motor High Control

C

5.0 BK

450

Ground

D

1.0 TN

63

Blower Motor Medium 1 Control

E

1.0 YE

60

Blower Motor Low Control

F

1.0 L-BU

72

Medium 2 Blower Motor Control

Blower Motor Resistor - Auxiliary (C36)


Object Number: 284534  Size: CH

Connector Part Information

  • OEM: 12077384
  • Service: 12126047
  • Description: 3-Way F 56 Series (BK)

Terminal Part Information

  • Terminal/Tray: 12124515/1
  • Core/Insulation Crimp: Pins A-C - C/D
  • Core/Insulation Crimp: Pins B - A/D
  • Release Tool/Test Probe: 12094430/J-35616-42 (RD)

Blower Motor Resistor - Auxiliary (C36)

Pin

Wire

Circuit

Function

A

1.0 RD

1925

Auxiliary Blower Motor Medium Speed Control

B

2.0 YE

1172

Auxiliary Blower Motor Supply Voltage

1.0 WH

1924

Auxiliary Blower Motor High Control

C

1.0 D-BU

1926

Auxiliary Blower Motor Low Speed Control

Brake Booster Fluid Flow Switch (JE3)


Object Number: 646180  Size: CH

Connector Part Information

  • OEM: 12162198
  • Service: 12102620
  • Description: 2-Way F Metri-Pack 150 Series, Sealed (GY)

Terminal Part Information

  • Terminal/Tray: 12124075/5
  • Core/Insulation Crimp: E/C
  • Release Tool/Test Probe: 12180559-1/J-35616-2A (GY)

Brake Booster Fluid Flow Switch (JE3)

Pin

Wire

Circuit

Function

A

0.8 L-BU/BK

1928

Brake Booster Fluid Flow Switch Signal

B

0.8 BK/WH

151

Ground

Brake Booster Pump Motor (JE3)


Object Number: 684800  Size: CH

Connector Part Information

  • OEM: 12085030
  • Service: 12167144
  • Description: 2-Way F Metri-Pack 150 Series, Sealed (BK)

Terminal Part Information

  • Terminal/Tray: 12033997/8
  • Core/Insulation Crimp: B/G
  • Release Tool/Test Probe: 12094430/J-35616-42 (RD)

Brake Booster Pump Motor (JE3)

Pin

Wire

Circuit

Function

A

5.0 OG

1470

Brake Booster Pump Motor Supply Voltage

B

5.0 BK

150

Ground

Brake Booster Pump Relay (JE3)


Object Number: 68749  Size: CH

Connector Part Information

  • OEM: 12124169
  • Service: 88987999
  • Description: 4-Way F Metri-Pack Mixed Series (BK)

Terminal Part Information

  • Pins: 30, 87
  • Terminal/Tray: 280756-4/7
  • Core/Insulation Crimp: F/5
  • Release Tool/Test Probe: 12094429/J-35616-22 (RD)
  • Pins: 85, 86
  • Terminal/Tray: JW-1630-2/21
  • Core/Insulation Crimp: See Terminal Repair Kit
  • Release Tool/Test Probe: 12094430/J-35616-42 (RD)

Brake Booster Pump Relay (JE3)

Pin

Wire

Circuit

Function

30

5.0 OG

1470

Brake Booster Pump Motor Supply Voltage

85

0.8 TN

2660

Extended Travel Brake Switch Signal

86

0.8 L-BU/BK

1928

Brake Booster Fluid Flow Switch Signal

87

5.0 RD

2

Battery Positive Voltage

Brake Fluid Level Switch (JE3)


Object Number: 1538760  Size: CH

Connector Part Information

  • OEM: 15449028
  • Service: 88987993
  • Description: 2-Way F GT 150 Series, Sealed (BK)

Terminal Part Information

  • Terminal/Tray: See Terminal Repair Kit
  • Core/Insulation Crimp: See Terminal Repair Kit
  • Release Tool/Test Probe: See Terminal Repair Kit

Brake Fluid Level Switch (JE3)

Pin

Wire

Circuit

Function

A

0.8 BK/WH

351

Ground

B

0.8 PU

333

Brake Fluid Level Sensor Signal

Brake Pressure Modulator Valve (BPMV) - Left Front (JE4)


Object Number: 847206  Size: CH

Connector Part Information

  • OEM: 12040977
  • Service: 12085492
  • Description: 3-Way F Metri-Pack 280 Series Sealed (BK)

Terminal Part Information

  • Terminal/Tray: 12077411/2
  • Core/Insulation Crimp: 2/5
  • Release Tool/Test Probe: 12094430/J-35616-4A (PU)

Brake Pressure Modulator Valve (BPMV) - Left Front (JE4)

Pin

Wire

Circuit

Function

A

1.0 D-GN

1900

Left Front Modulator Exhaust Control

B

1.0 L-BU

1902

Right Front Modulator Supply Voltage

C

1.0 GY

1901

Left Front Modulator Hold Control

Brake Pressure Modulator Valve (BPMV) - Left Rear (JE4)


Object Number: 847206  Size: CH

Connector Part Information

  • OEM: 12040977
  • Service: 12085492
  • Description: 3-Way F Metri-Pack 280 Series Sealed (BK)

Terminal Part Information

  • Terminal/Tray: See Terminal Repair Kit
  • Core/Insulation Crimp: See Terminal Repair Kit
  • Release Tool/Test Probe: See Terminal Repair Kit

Brake Pressure Modulator Valve (BPMV) - Left Rear (JE4)

Pin

Wire

Circuit

Function

A

2.0 GY/BK

1913

Left Rear Modulator Exhaust Control

B

2.0 OG

1915

Left Rear Modulator Supply Voltage

C

2.0 L-BU/BK

1914

Left Rear Modulator Hold Control

Brake Pressure Modulator Valve (BPMV) - Right Front (JE4)


Object Number: 847206  Size: CH

Connector Part Information

  • OEM: 12040977
  • Service: 12085492
  • Description: 3-Way F Metri-Pack 280 Series Sealed (BK)

Terminal Part Information

  • Terminal/Tray: 12077411/2
  • Core/Insulation Crimp: 2/5
  • Release Tool/Test Probe: 12094430/J-35616-4A (PU)

Brake Pressure Modulator Valve (BPMV) - Right Front (JE4)

Pin

Wire

Circuit

Function

A

1.0 PU

1906

Right Front Modulator Exhaust Control

B

1.0 TN

1908

Right Front Modulator Supply Voltage

C

1.0 YE

1907

Right Front Modulator Hold Control

Brake Pressure Modulator Valve (BPMV) - Right Rear (JE4)


Object Number: 847206  Size: CH

Connector Part Information

  • OEM: 12040977
  • Service: 12085492
  • Description: 3-Way F Metri-Pack 280 Series Sealed (BK)

Terminal Part Information

  • Terminal/Tray: See Terminal Repair Kit
  • Core/Insulation Crimp: See Terminal Repair Kit
  • Release Tool/Test Probe: See Terminal Repair Kit

Brake Pressure Modulator Valve (BPMV) - Right Rear (JE4)

Pin

Wire

Circuit

Function

A

2.0 L-GN/WH

1918

Right Rear Modulator Exhaust Control

B

2.0 PU

1920

Right Rear Modulator Supply Voltage

C

2.0 PK/BK

1919

Right Rear Modulator Hold Control

Camshaft Position (CMP) Sensor (L18)


Object Number: 516611  Size: CH

Connector Part Information

  • OEM: 12059595
  • Service: 12085495
  • Description: 3-Way F Metri-Pack 150 Series Sealed (BK)

Terminal Part Information

  • Terminal/Tray: 12048074/2
  • Core/Insulation Crimp: E/1
  • Release Tool/Test Probe: 12094429/J-35616-2A (GY)

Camshaft Position (CMP) Sensor (L18)

Pin

Wire

Circuit

Function

A

0.5 RD

631

12-Volt Reference

B

0.5 PK/BK

632

Low Reference

C

0.5 BN/WH

633

CMP Sensor Signal

Camshaft Position (CMP) Sensor - Bottom (LF6)


Object Number: 646176  Size: CH

Connector Part Information

  • OEM: 1112416
  • Service: See Catalog
  • Description: 2-Way F Sealed (Caterpillar) (BK)

Terminal Part Information

  • Terminal/Tray: See Terminal Repair Kit
  • Core/Insulation Crimp: See Terminal Repair Kit
  • Release Tool/Test Probe: See Terminal Repair Kit

Camshaft Position (CMP) Sensor - Bottom (LF6)

Pin

Wire

Circuit

Function

A

0.8 BU

E965

Bottom Camshaft Position Signal - High

B

0.8 YE

E966

Bottom Camshaft Position Signal - Low

Camshaft Position (CMP) Sensor - Top (LF6)


Object Number: 646176  Size: CH

Connector Part Information

  • OEM: 1003320
  • Service: See Catalog
  • Description: 2-Way F Sealed (Caterpillar) (BK)

Terminal Part Information

  • Terminal/Tray: See Terminal Repair Kit
  • Core/Insulation Crimp: See Terminal Repair Kit
  • Release Tool/Test Probe: See Terminal Repair Kit

Camshaft Position (CMP) Sensor - Top (LF6)

Pin

Wire

Circuit

Function

A

0.8 BK

E963

Top Camshaft Position Signal - High

B

0.8 WH

E964

Top Camshaft Position Signal - Low

Camshaft Position (CMP) Sensor (LF8)


Object Number: 1861470  Size: CH

Connector Part Information

  • OEM: 6189-0058
  • Service: See Catalog
  • Description: 3-Way F Sumitomo (BK)

Terminal Part Information

  • Terminal/Tray: See Terminal Repair Kit
  • Core/Insulation Crimp: See Terminal Repair Kit
  • Release Tool/Test Probe: See Terminal Repair Kit

Camshaft Position (CMP) Sensor (LF8)

Pin

Wire

Circuit

Function

A

0.5 RD

CF161

5-Volt Reference

B

0.5 BK

CF163

Low Reference

C

0.5 WH

CF162

CMP Sensor Signal

Camshaft Position (CMP) Sensor (LMM)


Object Number: 1366572  Size: CH

Connector Part Information

  • OEM: 6248-5317
  • Service: See Catalog
  • Description: 3-Way F Sumitomo, Sealed (GY)

Terminal Part Information

  • Terminal/Tray: See Terminal Repair Kit
  • Core/Insulation Crimp: See Terminal Repair Kit
  • Release Tool/Test Probe: See Terminal Repair Kit

Camshaft Position (CMP) Sensor (LMM)

Pin

Wire

Circuit

Function

1

0.5 D-BU/WH

6265

CMP Sensor Signal

2

0.5 BN

6266

Low Reference

3

0.5 D-BU

6259

5-Volt Reference 1

Chime Module (UL5/UXZ)


Object Number: 73156  Size: CH

Connector Part Information

  • OEM: 12110088
  • Service: 15306210
  • Description: 24-Way F Micro-Pack 100 Series (GY)

Terminal Part Information

  • Terminal/Tray: 12146448/19
  • Core/Insulation Crimp: E/C
  • Release Tool/Test Probe: 12031876-1/J-35616-6 (BN)

Chime Module (UL5/UXZ)

Pin

Wire

Circuit

Function

A1

0.5 D-BU/WH

653

Chime Module Bit 1 Signal

A2-A11

--

--

Not Used

A12

0.8 BK

750

Ground

B1

0.8 OG

1140

Battery Positive Voltage

B2-B12

--

--

Not Used

Cigar Lighter (DT4)


Object Number: 365964  Size: CH

Connector Part Information

  • OEM: 12176445
  • Service: 15305919
  • Description: 3-Way F Metri-Pack 280 Series Flexlock (NA)

Terminal Part Information

  • Terminal/Tray: 12110844/4
  • Core/Insulation Crimp: C/A
  • Release Tool/Test Probe: 15315247/J-35616-4A (PU)

Cigar Lighter (DT4)

Pin

Wire

Circuit

Function

A

1.0 OG

840

Battery Positive Voltage

B

--

--

Not Used

C

1.0 BK

750

Ground

Clearance Lamp - Left


Object Number: 410092  Size: CH

Connector Part Information

  • OEM: 6294702
  • Service: See Catalog
  • Description: 2-Way F Lamp Socket Wedge (NA)

Terminal Part Information

  • Terminal/Tray: See Terminal Repair Kit
  • Core/Insulation Crimp: See Terminal Repair Kit
  • Release Tool/Test Probe: See Terminal Repair Kit

Clearance Lamp - Left

Pin

Wire

Circuit

Function

A

1.0 D-GN

21

Marker Lamps Supply Voltage

0.8 D-GN

21

Marker Lamps Supply Voltage

B

1.0 BK

750

Ground

0.8 BK

750

Ground

Clearance Lamp - Right


Object Number: 410092  Size: CH

Connector Part Information

  • OEM: 6294702
  • Service: See Catalog
  • Description: 2-Way F Lamp Socket Wedge (NA)

Terminal Part Information

  • Terminal/Tray: See Terminal Repair Kit
  • Core/Insulation Crimp: See Terminal Repair Kit
  • Release Tool/Test Probe: See Terminal Repair Kit

Clearance Lamp - Right

Pin

Wire

Circuit

Function

A

0.8 D-GN

21

Marker Lamps Supply Voltage

B

0.8 BK

750

Ground

Clutch Pedal Position (CPP) Switch (M/T)


Object Number: 742641  Size: CH

Connector Part Information

  • OEM: 12048272
  • Service: 12085489
  • Description: 2-Way F Metri-Pack 280 Series (RD)

Terminal Part Information

  • Terminal/Tray: 12034046/2
  • Core/Insulation Crimp: E/A
  • Release Tool/Test Probe: 12094430/J-35616-4A (PU)

Clutch Pedal Position (CPP) Switch (M/T)

Pin

Wire

Circuit

Function

A

0.5 BN/WH

379

CPP Switch Signal

B

0.5 BN

441

Ignition 3 Voltage

Clutch Start Switch (M/T)


Object Number: 882103  Size: CH

Connector Part Information

  • OEM: 12033711
  • Service: 12102690
  • Description: 2-Way F Metri-Pack 480 Series (BU)

Terminal Part Information

  • Terminal/Tray: 12015860/4
  • Core/Insulation Crimp: E/A
  • Release Tool/Test Probe: 12094430/J-35616-40 (BU)

Clutch Start Switch (M/T)

Pin

Wire

Circuit

Function

A

0.5 PU

806

Crank Voltage

B

0.5 D-GN

1433

PNP/Clutch Start Switch Signal

Combust Air Control Valve (LF6)


Object Number: 784092  Size: CH

Connector Part Information

  • OEM: 2304011
  • Service: See Catalog
  • Description: 2-Way F, Sealed (Caterpillar)

Terminal Part Information

  • Terminal/Tray: See Terminal Repair Kit
  • Core/Insulation Crimp: See Terminal Repair Kit
  • Release Tool/Test Probe: See Terminal Repair Kit

Combust Air Control Valve (LF6)

Pin

Wire

Circuit

Function

1

0.8 OG

C801

Combust Air Control Valve

2

0.8 GY

C800

Low Reference

Combust Air MAF Delta (LF6)


Object Number: 1428077  Size: CH

Connector Part Information

  • OEM: 2304013
  • Service: See Catalog
  • Description: 3-Way F, Sealed (Caterpillar) (BK)

Terminal Part Information

  • Terminal/Tray: See Terminal Repair Kit
  • Core/Insulation Crimp: See Terminal Repair Kit
  • Release Tool/Test Probe: See Terminal Repair Kit

Combust Air MAF Delta (LF6)

Pin

Wire

Circuit

Function

1

0.8 WH

Y748

5-Volt Reference

2

0.8 GN

Y749

Low Reference

3

0.8 PU

Y923

Combust Air MAF Delta Signal

Controller Area Network (CAN) Connector (L18 with JE4, LF6/LF8)


Object Number: 855174  Size: CH

Connector Part Information

  • OEM: 15324337
  • Service: 15306401
  • Description: 9-Way F Deutsch HD10-9-1939PE (BK)

Terminal Part Information

  • Terminal/Tray: See Terminal Repair Kit
  • Core/Insulation Crimp: See Terminal Repair Kit
  • Release Tool/Test Probe: See Terminal Repair Kit

Controller Area Network (CAN) Connector (L18 with JE4, LF6/LF8)

Pin

Wire

Circuit

Function

A

1.0 BK

750

Ground

B

1.0 OG

840

Battery Positive Voltage

C

1.0 YE

2361

SAE J1939 Serial Data Bus+

D

1.0 D-GN

2362

SAE J1939 Serial Data Bus-

E

--

--

Not Used

F

1.0 TN/BK

1921

SAE J1587 Serial Data Bus+ Primary

G

1.0 WH/BK

1922

SAE J1587 Serial Data Bus- Primary

H

1.0 PK

1020

Ignition 0 Voltage

J

1.0 BK/WH

351

Ground

Coolant Level Switch


Object Number: 237066  Size: CH

Connector Part Information

  • OEM: 12052641
  • Description: 2-Way F Metri-Pack 150 Series (BK)

Coolant Level Switch

Pin

Wire

Circuit

Function

A

0.8 L-GN

1478

Coolant Level Switch Signal

B

0.8 BK/WH

451

Ground

Cooling Fan (LMM)


Object Number: 647974  Size: CH

Connector Part Information

  • OEM: 13519051
  • Description: 5-Way F GT 150 Series, Sealed (BK)

Cooling Fan (LMM)

Pin

Wire

Circuit

Function

A

0.8 BK

250

Ground

B

0.8 WH

2368

Cooling Fan Clutch Supply Voltage

C

0.8 BN/WH

6141

Low Reference

D

0.8 D-BU

2364

Cooling Fan Speed Signal

E

0.8 GY

2365

5-Volt Reference

Crankshaft Position (CKP) Sensor (L18)


Object Number: 516611  Size: CH

Connector Part Information

  • OEM: 12059595
  • Service: 12085495
  • Description: 3-Way F Metri-Pack 150 Series Sealed (BK)

Terminal Part Information

  • Terminal/Tray: 12048074/2
  • Core/Insulation Crimp: E/1
  • Release Tool/Test Probe: 12094429/J-35616-2A (GY)

Crankshaft Position (CKP) Sensor (L18)

Pin

Wire

Circuit

Function

A

0.5 L-GN

1867

12-Volt Reference

B

0.5 YE/BK

1868

Low Reference

C

0.5 D-BU/WH

1869

CKP Sensor Signal

Crankshaft Position (CKP) Sensor (LF8)


Object Number: 1861470  Size: CH

Connector Part Information

  • OEM: 6189-0058
  • Service: See Catalog
  • Description: 3-Way F Sumitomo (BK)

Terminal Part Information

  • Terminal/Tray: See Terminal Repair Kit
  • Core/Insulation Crimp: See Terminal Repair Kit
  • Release Tool/Test Probe: See Terminal Repair Kit

Crankshaft Position (CKP) Sensor (LF8)

Pin

Wire

Circuit

Function

A

0.5 RD

CF154

12-Volt Reference

B

0.5 BK

CF156

Low Reference

C

0.5 WH

CF155

CKP Sensor Signal

Crankshaft Position (CKP) Sensor (LMM)


Object Number: 1366572  Size: CH

Connector Part Information

  • OEM: 6248-5317
  • Service: See Catalog
  • Description: 3-Way F Sumitomo, Sealed (GY)

Terminal Part Information

  • Terminal/Tray: See Terminal Repair Kit
  • Core/Insulation Crimp: See Terminal Repair Kit
  • Release Tool/Test Probe: See Terminal Repair Kit

Crankshaft Position (CKP) Sensor (LMM)

Pin

Wire

Circuit

Function

1

0.5 WH/BK

6271

CKP Sensor Signal

2

0.5 GY/BK

6272

Low Reference

3

0.5 PU/WH

6270

5-Volt Reference 1

Data Link Connector (DLC)


Object Number: 808656  Size: CH

Connector Part Information

  • OEM: 15317575
  • Service: 15317575
  • Description: 16-Way F Metri-Pack 150 Series (BK)

Terminal Part Information

  • Terminal/Tray: 12129484/19
  • Core/Insulation Crimp: Pins 2, 4, 7-8, 15 - E/C
  • Core/Insulation Crimp: Pins 5-6, 14, 16 - E/A
  • Release Tool/Test Probe: 12094429/J-35616-2A (GY)

Data Link Connector (DLC)

Pin

Wire

Circuit

Function

1

--

--

Not Used

2

0.5 PU

1132

DLC Class 2 Serial Data

3

--

--

Not Used

4

0.5 BK

750

Ground

5

0.8 BK/WH

1451

Ground

6

0.8 TN/WH

6105

High Speed GMLAN Serial Data+

7

0.5 TN/BK

1921

SAE J1587 Serial Data Bus+ Primary

8

0.5 BK/WH

1455

Keyless Entry Program Enable Signal

9-13

--

--

Not Used

14

0.8 TN

6106

High Speed GMLAN Serial Data+

15

0.5 WH/BK

1922

SAE J1587 Serial Data Bus- Primary

16

1.0 OG

840

Battery Positive Voltage

Data Link Resistor 1 (L18 w/JE4, LF6, LF8)


Object Number: 1430188  Size: CH

Connector Part Information

  • OEM: 15324657
  • Service: 88953353
  • Description: 3-Way F DT Series, Sealed (GY)

Terminal Part Information

  • Terminal/Tray: See Terminal Repair Kit
  • Core/Insulation Crimp: See Terminal Repair Kit
  • Release Tool/Test Probe: See Terminal Repair Kit

Data Link Resistor 1 (L18 w/JE4, LF6, LF8)

Pin

Wire

Circuit

Function

A

0.8 YE

2361

SAE J1939 Serial Data Bus+

B

0.8 D-GN

2362

SAE J1939 Serial Data Bus-

C

--

--

Not Used

Data Link Resistor 2 (L18 w/JE4, LF6, LF8)


Object Number: 1430188  Size: CH

Connector Part Information

  • OEM: 15324657
  • Service: 88953353
  • Description: 3-Way F DT Series, Sealed (GY)

Terminal Part Information

  • Terminal/Tray: See Terminal Repair Kit
  • Core/Insulation Crimp: See Terminal Repair Kit
  • Release Tool/Test Probe: See Terminal Repair Kit

Data Link Resistor 2 (L18 w/JE4, LF6, LF8)

Pin

Wire

Circuit

Function

A

0.8 YE

2361

SAE J1939 Serial Data Bus+

B

0.8 D-GN

2362

SAE J1939 Serial Data Bus-

C

--

--

Not Used

Data Link Resistor 3


Object Number: 1430188  Size: CH

Connector Part Information

  • OEM: 15324657
  • Service: 88953353
  • Description: 3-Way F DT Series, Sealed (GY)

Terminal Part Information

  • Terminal/Tray: See Terminal Repair Kit
  • Core/Insulation Crimp: See Terminal Repair Kit
  • Release Tool/Test Probe: See Terminal Repair Kit

Data Link Resistor 3

Pin

Wire

Circuit

Function

A

0.8 TN/WH

6105

High Speed GMLAN Serial Data+

B

0.8 TN

6106

High Speed GMLAN Serial Data-

C

--

--

Not Used

Data Recorded Module (LF8)


Object Number: 2048675  Size: CH

Connector Part Information

  • OEM: 12020740
  • Service: See Catalog
  • Description: 13-Way F Connector, Unsealed (NA)

Terminal Part Information

  • Terminal/Tray: See Terminal Repair Kit
  • Core/Insulation Crimp: See Terminal Repair Kit
  • Release Tool/Test Probe: See Terminal Repair Kit

Data Recorded Module (LF8)

Pin

Wire

Circuit

Function

1

--

--

Not Used

2

0.8 YE

2361

SAE J1939 Serial Data Bus+

3

0.8 PU

960

Trigger Switch Signal

4

--

--

Not Used

5

0.8 PK

439

Ignition 1 Voltage

6

--

--

Not Used

7

1.0 BK/WH

1451

Ground

8

0.8 D-GN

2362

SAE J1939 Serial Data Bus-

9-12

--

--

Not Used

13

1.0 OG

440

Battery Positive Voltage

Daytime Running Lights (DRL) Diode


Object Number: 35456  Size: CH

Connector Part Information

  • OEM: 12064749
  • Service: 12101888
  • Description: 2-Way F Metri-Pack 480 Series (BK)

Terminal Part Information

  • Terminal/Tray: 12015860/4
  • Core/Insulation Crimp: C/D
  • Release Tool/Test Probe: 12094430/J-35616-40 (BU)

Daytime Running Lights (DRL) Diode

Pin

Wire

Circuit

Function

A

1.0 OG

340

Battery Positive Voltage

B

1.0 YE

634

DRL Diode Supply Voltage

Daytime Running Lights (DRL) Module


Object Number: 283863  Size: CH

Connector Part Information

  • OEM: 12191131
  • Service: 15305968
  • Description: 8-Way P/C Edgeboard - Standard (GY)

Terminal Part Information

  • Pins: A, C, G-H
  • Terminal/Tray: 12040502/3
  • Core/Insulation Crimp: Pins A, G - E/A
  • Core/Insulation Crimp: Pins C, H - E/D
  • Release Tool/Test Probe: 12094429/J-35616-4A (PU)
  • Pins: D
  • Terminal/Tray: See Terminal Repair Kit
  • Core/Insulation Crimp: See Terminal Repair Kit
  • Release Tool/Test Probe: See Terminal Repair Kit

Daytime Running Lights (DRL) Module

Pin

Wire

Circuit

Function

A

0.5 L-BU

1134

Park Brake Switch Signal

B

--

--

Not Used

C

0.8 BN

641

Ignition 3 Voltage

D

1.0 YE

10

Headlamp Switch Signal

E-F

--

--

Not Used

G

0.5 L-GN/BK

592

DRL Relay Control

H

0.8 BK

750

Ground

Diesel Particulate Filter (DPF) Pressure Sensor (LF8)


Object Number: 1428077  Size: CH

Connector Part Information

  • OEM:15401052
  • Service: See Catalog
  • Description: 3-Way F 090 Series, Sealed (BK)

Terminal Part Information

  • Terminal/Tray: See Terminal Repair Kit
  • Core/Insulation Crimp: See Terminal Repair Kit
  • Release Tool/Test Probe: See Terminal Repair Kit

Diesel Particulate Filter (DPF) Pressure Sensor (LF8)

Pin

Wire

Circuit

Function

1

0.8 BK

407

Low Reference

2

0.8 PU

950

DPF Sensor Signal

3

0.8 GY

705

5-Volt Reference 1

Differential Lock Switch (HNB/HPL/HPN)


Object Number: 646148  Size: CH

Connector Part Information

  • OEM: 12020599
  • Service: 12102664
  • Description: 2-Way F Metri-Pack 280 Series (BK)

Terminal Part Information

  • Terminal/Tray: 12077411/2
  • Core/Insulation Crimp: 2/5
  • Release Tool/Test Probe: 12094430/J-35616-4A (PU)

Differential Lock Switch (HNB/HPL/HPN)

Pin

Wire

Circuit

Function

A

0.5 L-GN

2659

Rear Differential Lock-High-Control

B

0.5 BK

750

Ground

Differential Lock Switch Lamp (HNB/HPL/HPN)


Object Number: 711794  Size: CH

Connector Part Information

  • OEM: 12103827
  • Service: 89046628
  • Description: 2-Way F Sprague (NA)

Terminal Part Information

  • Terminal/Tray: See Terminal Repair Kit
  • Core/Insulation Crimp: See Terminal Repair Kit
  • Release Tool/Test Probe: See Terminal Repair Kit

Differential Lock Switch Lamp (HNB/HPL/HPN)

Pin

Wire

Circuit

Function

1

0.5 BN

2509

Left Rear Park Lamps Supply Voltage

2

0.5 BK

750

Ground

Differential Pressure Filter (DPF) Sensor (LMM)


Object Number: 826262  Size: CH

Connector Part Information

  • OEM: 15401052
  • Service: 88953311
  • Description: 3-Way F 090 II, Sealed (BK)

Terminal Part Information

  • Terminal/Tray: 8100-0594/Sumitomo
  • Core/Insulation Crimp: E/1
  • Release Tool/Test Probe: 15315247/J-35616-14 (GN)

Differential Pressure Filter (DPF) Sensor (LMM)

Pin

Wire

Circuit

Function

1

0.5 YE/BK

6055

Low Reference

2

0.5 D-BU

6053

DPF Sensor Signal

3

0.5 BN/WH

6136

5-Volt Reference 2

Dome Lamp - Front


Object Number: 68722  Size: CH

Connector Part Information

  • OEM: 15528758
  • Service: See Catalog
  • Description: 2-Way F Lamp Socket, Dome Lamp (NA)

Terminal Part Information

  • Terminal/Tray: See Terminal Repair Kit
  • Core/Insulation Crimp: See Terminal Repair Kit
  • Release Tool/Test Probe: See Terminal Repair Kit

Dome Lamp - Front

Pin

Wire

Circuit

Function

A

0.5 OG

40

Battery Positive Voltage

B

0.5 WH

156

Courtesy Lamp Switch Signal

Dome Lamp - Rear (Crew Cab)


Object Number: 68722  Size: CH

Connector Part Information

  • OEM: 15528758
  • Service: See Catalog
  • Description: 2-Way F Lamp Socket, Dome Lamp (NA)

Terminal Part Information

  • Terminal/Tray: See Terminal Repair Kit
  • Core/Insulation Crimp: See Terminal Repair Kit
  • Release Tool/Test Probe: See Terminal Repair Kit

Dome Lamp - Rear (Crew Cab)

Pin

Wire

Circuit

Function

A

0.8 OG

40

Battery Positive Voltage

B

0.5 WH

156

Courtesy Lamp Switch Signal

Dome/Reading Lamps - Front (C95)


Object Number: 68722  Size: CH

Connector Part Information

  • OEM: 15528758
  • Service: See Catalog
  • Description: 2-Way F Lamp Socket, Dome Lamp (NA)

Terminal Part Information

  • Terminal/Tray: See Terminal Repair Kit
  • Core/Insulation Crimp: See Terminal Repair Kit
  • Release Tool/Test Probe: See Terminal Repair Kit

Dome/Reading Lamps - Front (C95)

Pin

Wire

Circuit

Function

A

0.8 OG

40

Battery Positive Voltage

B

0.5 WH

156

Courtesy Lamp Switch Signal

Dome/Reading Lamps - Rear (C95/Crew Cab)


Object Number: 68722  Size: CH

Connector Part Information

  • OEM: 15528758
  • Service: See Catalog
  • Description: 2-Way F Lamp Socket, Dome Lamp (NA)

Terminal Part Information

  • Terminal/Tray: See Terminal Repair Kit
  • Core/Insulation Crimp: See Terminal Repair Kit
  • Release Tool/Test Probe: See Terminal Repair Kit

Dome/Reading Lamps - Rear (C95/Crew Cab)

Pin

Wire

Circuit

Function

A

0.8 OG

40

Battery Positive Voltage

B

0.5 WH

156

Courtesy Lamp Switch Signal

Door Latch - Driver X1 (AU3)


Object Number: 68721  Size: CH

Connector Part Information

  • OEM: 15300027
  • Service: 12101855
  • Description: 2-Way F Metri-Pack 280 Series, Sealed (BK)

Terminal Part Information

  • Terminal/Tray: 12077411/2
  • Core/Insulation Crimp: 2/5
  • Release Tool/Test Probe: 12094430/J-35616-4A (PU)

Door Latch - Driver X1 (AU3)

Pin

Wire

Circuit

Function

A

1.0 TN

294

Door Lock Actuator Unlock Control

B

1.0 GY

295

Door Lock Actuator Lock Control

Door Latch - Driver X2 (AU3)


Object Number: 38608  Size: CH

Connector Part Information

  • OEM: 12162189
  • Service: 12126487
  • Description: 4-Way F Metri-Pack 150.2 Series, Sealed Pull To Seat (BK)

Terminal Part Information

  • Pins: A, C
  • Terminal/Tray: 12124075/5
  • Core/Insulation Crimp: E/C
  • Release Tool/Test Probe: 12180559-1/J-35616-2A (GY)
  • Pins: B, D
  • Terminal/Tray: See Terminal Repair Kit
  • Core/Insulation Crimp: See Terminal Repair Kit
  • Release Tool/Test Probe: See Terminal Repair Kit

Door Latch - Driver X2 (AU3)

Pin

Wire

Circuit

Function

A

0.5 PU

328

Interior Lamp Switch Signal

B

0.5 BK/WH

746

Left Front Door Ajar Switch Signal

C

0.5 TN

159

Key Out Ignition Switch Signal

D

0.5 BK

550

Ground

Door Latch - Left Rear X1 (Crew Cab/AU3)


Object Number: 68721  Size: CH

Connector Part Information

  • OEM: 15300027
  • Service: 12101855
  • Description: 2-Way F Metri-Pack 280 Series, Sealed (BK)

Terminal Part Information

  • Terminal/Tray: 12077411/2
  • Core/Insulation Crimp: 2/5
  • Release Tool/Test Probe: 12094430/J-35616-4A (PU)

Door Latch - Left Rear X1 (Crew Cab/AU3)

Pin

Wire

Circuit

Function

A

1.0 TN

294

Door Lock Actuator Unlock Control

B

1.0 GY

295

Door Lock Actuator Lock Control

Door Latch - Left Rear X2 (Crew Cab/AU3)


Object Number: 647979  Size: CH

Connector Part Information

  • OEM: 15336035
  • Service: See Catalog
  • Description: 4-Way F Metri-Pack 150.2 Series, Sealed Pull To Seat (BK)

Terminal Part Information

  • Pins: A, D
  • Terminal/Tray: See Terminal Repair Kit
  • Core/Insulation Crimp: See Terminal Repair Kit
  • Release Tool/Test Probe: See Terminal Repair Kit

Door Latch - Left Rear X2 (Crew Cab/AU3)

Pin

Wire

Circuit

Function

1

0.8 PU

328

Interior Lamp Switch Signal

2-3

--

--

Not Used

4

0.8 BK

550

Ground

Door Latch - Passenger X1 (AU3)


Object Number: 68721  Size: CH

Connector Part Information

  • OEM: 15300027
  • Service: 12101855
  • Description: 2-Way F Metri-Pack 280 Series, Sealed (BK)

Terminal Part Information

  • Terminal/Tray: 12077411/2
  • Core/Insulation Crimp: 2/5
  • Release Tool/Test Probe: 12094430/J-35616-4A (PU)

Door Latch - Passenger X1 (AU3)

Pin

Wire

Circuit

Function

A

1.0 TN

294

Door Lock Actuator Unlock Control

B

1.0 GY

295

Door Lock Actuator Lock Control

Door Latch - Passenger X2 (AU3)


Object Number: 38608  Size: CH

Connector Part Information

  • OEM: 12162189
  • Service: 12126487
  • Description: 4-Way F Metri-Pack 150.2 Series, Sealed Pull To Seat (BK)

Terminal Part Information

  • Pins: A
  • Terminal/Tray: See Terminal Repair Kit
  • Core/Insulation Crimp: See Terminal Repair Kit
  • Release Tool/Test Probe: See Terminal Repair Kit
  • Pins: C-D
  • Terminal/Tray: 12124075/5
  • Core/Insulation Crimp: E/C
  • Release Tool/Test Probe: 12180559-1/J-35616-2A (GY)

Door Latch - Passenger X2 (AU3)

Pin

Wire

Circuit

Function

A

0.5 BK

550

Ground

B

--

--

Not Used

C

0.5 BK/WH

746

Right Front Door Ajar Switch Signal

D

0.5 PU

328

Interior Lamp Switch Signal

Door Latch - Right Rear X1 (Crew Cab/AU3)


Object Number: 68721  Size: CH

Connector Part Information

  • OEM: 15300027
  • Service: 12101855
  • Description: 2-Way F Metri-Pack 280 Series, Sealed (BK)

Terminal Part Information

  • Terminal/Tray: 12077411/2
  • Core/Insulation Crimp: 2/5
  • Release Tool/Test Probe: 12094430/J-35616-4A (PU)

Door Latch - Right Rear X2 (Crew Cab/AU3)

Pin

Wire

Circuit

Function

A

1.0 TN

294

Door Lock Actuator Unlock Control

B

1.0 GY

295

Door Lock Actuator Lock Control

Door Latch - Right Rear X1 (Crew Cab/AU3)


Object Number: 647979  Size: CH

Connector Part Information

  • OEM: 15336035
  • Service: See Catalog
  • Description: 4-Way F Metri-Pack 150.2 Series, Sealed Pull To Seat (BK)

Terminal Part Information

  • Terminal/Tray: See Terminal Repair Kit
  • Core/Insulation Crimp: See Terminal Repair Kit
  • Release Tool/Test Probe: See Terminal Repair Kit

Door Latch - Right Rear X2 (Crew Cab/AU3)

Pin

Wire

Circuit

Function

1

0.8 PU

328

Interior Lamp Switch Signal

2-3

--

--

Not Used

4

0.8 BK

550

Ground

Door Lock Relay (AU0/AU3)


Object Number: 62452  Size: CH

Connector Part Information

  • OEM: 12059561
  • Service: 12101847
  • Description: 6-Way F Metri-Pack Connectors Mixed Series (BK)

Terminal Part Information

  • Pins: A, C-D, F
  • Terminal/Tray: 12034046/2
  • Core/Insulation Crimp: C/D
  • Release Tool/Test Probe: 12094430/J-35616-4A (PU)
  • Pins: B, E
  • Terminal/Tray: 12124304/2
  • Core/Insulation Crimp: F/D
  • Release Tool/Test Probe: 12094430/J-35616-40 (BU)

Door Lock Relay (AU0/AU3)

Pin

Wire

Circuit

Function

A

1.0 WH

194

Door Unlock Control

B

1.0 TN

294

Door Lock Actuator Unlock Control

C

1.0 OG

540

Battery Positive Voltage

D

1.0 BK

550

Ground

E

1.0 GY

295

Door Lock Actuator Lock Control

F

1.0 L-BU

195

Door Lock Control

Door Lock Switch - Driver (AU3)


Object Number: 62480  Size: CH

Connector Part Information

  • OEM: 12089527
  • Service: 12089527
  • Description: 6-Way F Metri-Pack 280 Series (GN)

Terminal Part Information

  • Pins: A, D-E
  • Terminal/Tray: 12066214/2
  • Core/Insulation Crimp: F/D
  • Release Tool/Test Probe: 12094430/J-35616-4A (PU)
  • Pins: B
  • Terminal/Tray: See Terminal Repair Kit
  • Core/Insulation Crimp: See Terminal Repair Kit
  • Release Tool/Test Probe: See Terminal Repair Kit
  • Pins: C
  • Terminal/Tray: 12034046/2
  • Core/Insulation Crimp: E/A
  • Release Tool/Test Probe: 12094430/J-35616-4A (PU)

Door Lock Switch - Driver (AU3)

Pin

Wire

Circuit

Function

A

1.0 L-BU

195

Door Lock Control

B

0.5 BK

550

Ground

C

0.5 BN

2509

Left Rear Park Lamps Supply Voltage

D

1.0 WH

194

Door Unlock Control

E

1.0 OG

540

Battery Positive Voltage

F

--

--

Not Used

Door Lock Switch - Passenger (AU3)


Object Number: 62480  Size: CH

Connector Part Information

  • OEM: 12089527
  • Service: 12089527
  • Description: 6-Way F Metri-Pack 280 Series (GN)

Terminal Part Information

  • Pins: A, D-E
  • Terminal/Tray: 12066214/2
  • Core/Insulation Crimp: F/D
  • Release Tool/Test Probe: 12094430/J-35616-4A (PU)
  • Pins: B
  • Terminal/Tray: See Terminal Repair Kit
  • Core/Insulation Crimp: See Terminal Repair Kit
  • Release Tool/Test Probe: See Terminal Repair Kit
  • Pins: C
  • Terminal/Tray: 12034046/2
  • Core/Insulation Crimp: E/A
  • Release Tool/Test Probe: 12094430/J-35616-4A (PU)

Door Lock Switch - Passenger (AU3)

Pin

Wire

Circuit

Function

A

1.0 L-BU

195

Door Lock Control

B

0.5 BK

550

Ground

C

0.5 BN

2509

Left Rear Park Lamps Supply Voltage

D

1.0 WH

194

Door Unlock Control

E

1.0 OG

540

Battery Positive Voltage

F

--

--

Not Used

Driver Information Center (DIC)


Object Number: 130690  Size: CH

Connector Part Information

  • OEM: 12110206
  • Service: 12110206
  • Description: 24-Way F Micro-Pack 100 Series (L-BU)

Terminal Part Information

  • Terminal/Tray: 12146447/3
  • Core/Insulation Crimp: E/C
  • Release Tool/Test Probe: 12031876-1/J-35616-6 (BN)

Driver Information Center (DIC)

Pin

Wire

Circuit

Function

A1-A2

--

--

Not Used

A3

0.5 PK

39

Ignition 1 Voltage (LMM)

0.8 OG

440

Battery Positive Voltage (LF8)

0.5 L-BU

1998

Intake Air Heater Indicator Control (LF6)

A4

0.5 D-BU

2769

Brake Indicator Signal (JE3)

A5

0.5 TN

185

Low Washer Fluid Indicator Control

A6

0.5 L-GN/BK

7655

Dirty Fuel Filter Signal (LMM)

A7

0.5 PK

239

Ignition 1 Voltage (-L18)

0.5 L-GN

488

PTO On Switch Signal (L18)

A8

0.5 BK

750

Ground

A9

0.8 YE/BK

508

Water In Fuel Indicator Control (Diesel)

A10

0.8 BK

750

Ground

A11

0.8 BK/WH

1962

Engine Brake Solenoid - Feed (Diesel)

A12

--

--

Not Used

B1-B2

--

--

Not Used

B3

0.5 BK

750

Ground (LF6)

0.5 D-BU

507

Wait to Start Indicator Control (LF8/LMM)

B4

0.8 BN

25

Charge Indicator Control (LF6/LF8)

B5

0.5 L-GN

2659

Rear Differential Lock-High-Control (JE4)

B6

0.5 PK

39

Ignition 1 Voltage

B7

--

--

Not Used

B8

0.5 GY

1234

Do Not Shift Indicator Control

B9

--

--

Not Used

B10

0.5 WH

471

Trailer ABS Indicator Control (JE4)

B11-B12

--

--

Not Used

Electronic Brake Control Module (EBCM) (JE3)


Object Number: 871208  Size: CH

Connector Part Information

  • OEM: 15383010
  • Service: 88986383
  • Description: 43-Way F (BK)

Terminal Part Information

  • Pins: 1, 15, 29, 42-43
  • Terminal/Tray: 968122-2/17
  • Core/Insulation Crimp: 4/5
  • Release Tool/Test Probe: 12031876-1/J-35616-40 (BU)
  • Pins: 2-3, 5-6, 9-10, 12, 20, 22, 25, 28, 30-31, 33-34, 36, 38-41
  • Terminal/Tray: 962885-5/15
  • Core/Insulation Crimp: 7/7
  • Release Tool/Test Probe: 12094429/J-35616-64B (L-BU)
  • Pins: 14
  • Terminal/Tray: 968121-2/17
  • Core/Insulation Crimp: C/5
  • Release Tool/Test Probe: 12031876-1/J-35616-40 (BU)

Electronic Brake Control Module (EBCM) (JE3)

Pin

Wire

Circuit

Function

1

3.0 BK

151

Ground

2

0.8 OG

1904

Left Front Wheel Speed Sensor Low Reference

3

0.8 L-GN

1903

Left Front Wheel Speed Sensor Signal

4

--

--

Not Used

5

0.8 L-BU/WH

1917

Right Rear Wheel Speed Sensor Low Reference

6

0.8 L-GN/BK

1916

Right Rear Wheel Speed Sensor Signal

7-8

--

--

Not Used

9

0.5 PU

806

Crank Voltage

10

0.8 L-GN

2674

Hydromax Motor Feedback

11

--

--

Not Used

12

0.8 PK

439

Ignition 1 Voltage

13

--

--

Not Used

14

2.0 WH

17

Stop Lamp Switch Signal

15

3.0 RD

1642

Battery Positive Voltage

16-19

--

--

Not Used

20

0.8 D-BU

2769

Brake Indicator Signal

21

--

--

Not Used

22

0.8 TN

2660

Hydromax Brake Switch

23-24

--

--

Not Used

25

0.8 L-BU

832

Traction Control Active Signal

26-27

--

--

Not Used

28

0.8 L-BU/BK

1928

Brake Booster Fluid Flow Switch Signal

29

3.0 BK

151

Ground

30

0.8 WH

1909

Right Front Wheel Speed Sensor Signal

31

0.8 BN/WH

1910

Right Front Wheel Speed Sensor Low Reference

32

--

--

Not Used

33

0.8 D-BU/WH

1911

Left Rear Wheel Speed Sensor Signal

34

0.8 D-GN/WH

1912

Left Rear Wheel Speed Sensor Low Reference

35

--

--

Not Used

36

0.8 BK

2657

ABS Active

37

--

--

Not Used

38

0.8 BN/WH

1571

Traction Control Switch Signal

39

0.8 L-BU

1122

ABS/TCS Class 2 Serial Data

40

0.8 WH

1808

Service Traction Control Signal

41

0.8 PU

333

Brake Fluid Level Sensor Signal

42

3.0 RD

442

Battery Positive Voltage

43

3.0 RD

42

Battery Positive Voltage

Electronic Brake Control Module (EBCM) X1 (JE4)


Object Number: 1857591  Size: CH

Connector Part Information

  • OEM: 13519140
  • Service: See Catalog
  • Description: 15-Way F DT Series, Sealed (BK)

Terminal Part Information

  • Terminal/Tray: See Terminal Repair Kit
  • Core/Insulation Crimp: See Terminal Repair Kit
  • Release Tool/Test Probe: See Terminal Repair Kit

Electronic Brake Control Module (EBCM) X1 (JE4)

Pin

Wire

Circuit

Function

1

1.0 WH/BK

1922

SAE J1587 Serial Data Bus- Primary

2

0.8 D-GN

2362

SAE J1939 Serial Data Bus-

3

0.8 L-GN

1903

Left Front Wheel Speed Sensor Signal

4

0.8 WH

1909

Right Front Wheel Speed Sensor Signal

5

1.0 TN/BK

1921

SAE J1587 Serial Data Bus+ Primary

6

0.8 YE

2361

SAE J1939 Serial Data Bus+

7

0.8 OG

1904

Left Front Wheel Speed Sensor Low Reference

8

0.8 BN/WH

1910

Right Front Wheel Speed Sensor Low Reference

9

0.8 BN

441

Ignition 3 Voltage

10

1.0 BK

2657

ABS Active Signal

11

1.0 WH

471

Trailer ABS Indicator Control

12

--

--

Not Used

13

1.0 WH

1808

Service Traction Control Signal

14

3.0 PU

2661

Air Brake Relay - N.O. Contact

15

3.0 BK/WH

151

Ground

Electronic Brake Control Module (EBCM) X2 (JE4)


Object Number: 1857593  Size: CH

Connector Part Information

  • OEM: 13519158
  • Service: See Catalog
  • Description: 18-Way F DT Series, Sealed (BK)

Terminal Part Information

  • Terminal/Tray: See Terminal Repair Kit
  • Core/Insulation Crimp: See Terminal Repair Kit
  • Release Tool/Test Probe: See Terminal Repair Kit

Electronic Brake Control Module (EBCM) X2 (JE4)

Pin

Wire

Circuit

Function

1

0.8 D-BU/WH

1911

Left Rear Wheel Speed Sensor Signal

2

0.8 D-GN/WH

1912

Left Rear Wheel Speed Sensor Low Reference

3

0.8 L-GN/BK

1916

Right Rear Wheel Speed Sensor Signal

4

0.8 L-BU/WH

1917

Right Rear Wheel Speed Sensor Low Reference

5

0.8 PU

420

TCC Brake Switch/Cruise Control Release Signal

6

--

--

Not Used

7

1.0 GY

1901

Left Front Modulator Hold Control

8

1.0 D-GN

1900

Left Front Modulator Exhaust Control

9

1.0 YE

1907

Right Front Modulator Hold Control

10

1.0 PU

1906

Right Front Modulator Exhaust Control

11

1.0 L-BU/BK

1914

Left Rear Modulator Hold Control

12

1.0 GY/BK

1913

Left Rear Modulator Exhaust Control

13

1.0 L-BU

1902

Left Front Modulator Supply Voltage

14

1.0 TN

1908

Right Front Modulator Supply Voltage

15

1.0 OG

1915

Left Rear Modulator Supply Voltage

16

1.0 PU

1920

Right Rear Modulator Supply Voltage

17

1.0 PK/BK

1919

Right Rear Modulator Hold Control

18

1.0 L-GN/WH

1918

Right Rear Modulator Exhaust Control

Electronic Brake Control Module (EBCM) X3 (JE4/NW9)


Object Number: 1857592  Size: CH

Connector Part Information

  • OEM: 13519157
  • Service: See Catalog
  • Description: 18-Way F DT Series, Sealed (BK)

Terminal Part Information

  • Terminal/Tray: See Terminal Repair Kit
  • Core/Insulation Crimp: See Terminal Repair Kit
  • Release Tool/Test Probe: See Terminal Repair Kit

Electronic Brake Control Module (EBCM) X3 (JE4/NW9)

Pin

Wire

Circuit

Function

1

1.0 L-BU

832

Engine Speed Signal

2

--

--

Not Used

3

0.8 BK

884

Left Rear Wheel Speed Sensor Signal

4

0.8 RD

885

Left Rear Wheel Speed Sensor Low Reference

5

0.8 BN

882

Right Rear Wheel Speed Sensor Signal

6

0.8 WH

883

Right Rear Wheel Speed Sensor Low Reference

7

1.0 PK

2668

Traction Control Valve (Air) Hi

8-12

--

--

Not Used

13

1.0 PK/WH

2669

Traction Control Valve (Air) Lo

14-18

--

--

Not Used

Engine Control Module (ECM) X1 (LF6)


Object Number: 328564  Size: CH

Connector Part Information

  • OEM: 12186584
  • Service: 12186584
  • Description: 70-Way F, Sealed (BK)

Terminal Part Information

  • Terminal/Tray: See Terminal Repair Kit
  • Core/Insulation Crimp: See Terminal Repair Kit
  • Release Tool/Test Probe: See Terminal Repair Kit

Engine Control Module (ECM) X1 (LF6)

Pin

Wire

Circuit

Function

1-2

--

--

Not Used

3

0.8 BK

470

Low Reference

4

0.8 WH/BK

1164

5-Volt Reference

5

0.8 BK/WH

451

Ground

6

0.8 GY/BK

1467

Shift Motor Relay - Control (HPZ)

7

0.8 L-BU

494

Engine Shut Off-Signal

8

0.8 TN/BK

1921

SAE J1708 Serial Data A

9

0.8 WH/BK

1922

SAE J1708 Serial Data B

10

--

--

Not Used

11

0.8 RD

2013

High Idle Indicator Control

12

0.8 BK/WH

1962

Engine Brake Solenoid Feed

13-14

--

--

Not Used

15

0.8 PU

1589

Fuel Level Sensor Signal - Primary

16-18

--

--

Not Used

19

0.8 D-GN/WH

2665

PTO Enable

20-21

--

--

Not Used

22

0.8 BN/WH

379

CPP Switch Signal (Manual Transmission)

23

0.8 L-GN

2081

Exhaust Brake Switch Signal

24-26

--

--

Not Used

27

0.8 D-BU

1936

Fuel Level Sensor Signal (Secondary)

28

0.8 BN/WH

419

MIL Control

29

--

--

Not Used

30

0.8 BK

750

PTO Lamp Status

31

0.8 YE

447

Starter Relay Coil Control

32

0.8 L-BU

2221

Signal High - Rear (Manual Transmission)

33

0.8 D-GN

2222

Signal Low - Rear (Manual Transmission)

34

0.8 D-GN

2362

SAE J1939 Serial Data Bus-

35

0.8 D-BU

84

Cruise Control Set/Coast Switch Signal

36

0.8 D-GN /WH

817

Vehicle Speed Signal

37

--

--

Not Used

38

0.8 WH

121

Engine Speed Signal

39

--

--

Not Used

40

0.8 L-GN

2081

Exhaust Brake Switch Signal

41-43

--

--

Not Used

44

0.8 GN/BK

87

Cruise Control Resume/Accel Switch Signal

45

0.8 BN

86

Cruise Control Release Signal

46

0.8 D-GN

534

High Idle Switch Signal

47

0.8 L-BU

1134

Park Brake Switch Signal (CTF)

48

2.0 OG

1540

Battery Positive Voltage

49

L-GN

1478

Coolant Level Switch Signal

50

0.8 YE

2361

SAE J1939 Serial Data Bus+

51

--

--

Not Used

52

2.0 OG

1540

Battery Positive Voltage

53

2.0 OG

1540

Battery Positive Voltage

54

--

--

Not Used

55

2.0 OG

1540

Battery Positive Voltage

56

0.8 L-GN

488

PTO On Switch Signal

57

--

--

Not Used

58

0.8 PU

2663

PTO Set

59

0.8 GY

397

Cruise Control On Switch Signal

60

0.8 TN

2664

Coolant Fan Control

61

--

--

Not Used

62

1.0 D-GN/WH

459

A/C Compressor Clutch Relay Control

63

2.0 BK/WH

251

Ground

64

0.8 L-BU

1320

Stop Lamp Supply Voltage

65

2.0 BK/WH

251

Ground

66

0.8 D-BU

1161

APP Sensor 1 Signal

67

2.0 BK/WH

251

Ground

68

--

--

Not Used

69

2.0 BK/WH

251

Ground

70

0.8 PK

439

Ignition 1 Voltage

Engine Control Module (ECM) X2 (LF6)


Object Number: 2053253  Size: CH

Connector Part Information

  • OEM: 2645732
  • Service: See Catalog
  • Description: 120-Way F, Sealed (Caterpillar)

Terminal Part Information

  • Terminal/Tray: See Terminal Repair Kit
  • Core/Insulation Crimp: See Terminal Repair Kit
  • Release Tool/Test Probe: See Terminal Repair Kit

Engine Control Module (ECM) X2 (LF6)

Pin

Wire

Circuit

Function

1-4

--

--

Not Used

5

0.8 OG

F793

Intake Air (IA) Heater Relay Power

6-9

--

--

Not Used

10

0.8 OG

C801

ARD Air Control Valve Signal

11-14

--

--

Not Used

15

0.8 PK

R746

Intake Manifold Air Pressure Sensor Signal

16

0.8 WH

U780

Manifold Absolute Pressure (MAP) Sensor Signal

17

0.8 GN

G829

Low Reference

18-19

--

--

Not Used

20

0.8 GY

C800

ARD Air Control Valve Return

21-23

--

--

Not Used

24

0.8 WH

X980

Turbo Speed -

25

0.8 BK

E963

Camshaft Low Reference Top CAM -

26

0.8 WH

G856

Engine Timing Calibration Probe +

27

--

--

Not Used

28

0.8 GY

994

Oil Pressure Sensor Signal

29

--

--

Not Used

30

0.8 PK

G833

Low Reference

31

--

--

Not Used

32

0.8 BN

C815

VNT Actuator Return

33

--

--

Not Used

34

0.8 YE

X981

Turbo Speed +

35

0.8 WH

E964

Camshaft Sensor Signal Top CAM +

36

0.8 YE

G857

Engine Timing Calibration Probe -

37

--

--

Not Used

38

0.8 GN

C829

Ambient Air Temperature Sensor Signal

39-40

--

--

Not Used

41

0.8 BN

C803

ARD Fuel Pilot Pressure Sensor Signal

42

--

--

Not Used

43

0.8 GY

U775

CGI Actuator Return

44

0.8 GN

C814

VNT Actuator Signal

45

0.8 PK

Y735

Purge Air Control Signal

46

0.8 YE

E966

Camshaft Sensor Signal Bottom CAM +

47

0.8 BU

E965

Low Reference Bottom CAM -

48-50

--

--

Not Used

51

0.8 BU

U774

CGI Actuator Signal

52

0.8 GY

Y738

Low Reference

53

--

--

Not Used

54

0.8 BU

G827

Low Reference

55

0.8 PK

T846

ARD Turbo Outlet Temperature Sensor Signal

56

0.8 YE

Y741

Particulate Trap Intake (PTI) Air Temperature

57

0.8 BN

U779

Barometric Pressure Signal

58

--

--

Not Used

59

0.8 PU

Y733

ARD Fuel Main Pressure Control Valve

60

0.8 BU

Y734

Low Reference

61

0.8 OG

C820

Fuel Pump 2 Driver (AFT)

62

--

--

Not Used

63

0.8 OG

Y753

ARD Flame Boundary Temperature Sensor Signal

64-65

--

--

Not Used

66

1.0 PK

Y746

Particulate Trap Differential (PTD) Pressure

67-68

--

--

Not Used

69

0.8 YE

Y737

ARD Fuel Enable Valve

70

0.8 PU

U773

Mass Air Flow (MAF) Temperature Sensor Signal

71

--

--

Not Used

72

0.8 WH

G828

5-Volt Reference

73-75

--

--

Not Used

76

0.8 BU

C830

Inlet Air Heater Relay Return

77

0.8 BU

C818

Fuel Pump 1 Driver (FORE)

78

--

--

Not Used

79

0.8 YE

H807

Purge Air Solenoid Return

80

0.8 BN

G826

5-Volt Reference

81

0.8 WH

Y748

5-Volt Reference

82

1.0 YE

U781

5-Volt Reference

83

0.8 GN

Y749

Low Reference

84

0.8 BU

995

Coolant Temperature Sensor Signal

85

0.8 BN

G849

Fuel Rail Pressure Sensor Signal

86-87

--

--

Not Used

88

0.8 OG

Y751

ARD Ignition Coil Return

89

1.0 BN

Y747

ARD Fuel Main Pressure Signal

90

--

--

Not Used

91

0.8 OG

Y743

ARD Outlet Temperature Sensor Signal

92

--

--

Not Used

93

1.0 PK

U782

Low Reference

94

1.0 GN

Y742

Particulate Trap Outlet (PTO) Air Temperature

95

0.8 BU

C967

Intake MAT Sensor Signal

96-98

--

--

Not Used

99

1.0 OG

T860

Injector 5 and 6 Return

100-103

--

--

Not Used

104

1.0 GY

T858

Injector 1 and 2 Return

105

1.0 WH

T962

Fuel Injector 6 Control

106

1.0 BN

T959

Fuel Injector 3 Control

107

1.0 GN

T961

Fuel Injector 5 Control

108

1.0 BU

T960

Fuel Injector 4 Control

109

1.0 YE

Y750

ARD Ignition Coil

110

--

--

Not Used

111

0.8 PU

C819

Fuel Pump 1 Return

112

--

--

Not Used

113

0.8 BN

C821

Fuel Pump 2 Return

114

--

--

Not Used

115

1.0 WH

T859

Injector 3 & 4 Return

116

1.0 PU

T957

Fuel Injector 1 Control

117

--

--

Not Used

118

1.0 YE

T958

Fuel Injector 2 Control

119-120

--

--

Not Used

Engine Control Module (ECM) X1 (LF8)


Object Number: 1544242  Size: CH

Connector Part Information

  • OEM: 15438366
  • Service: See Catalog
  • Description: 96-Way F 1.2, Sealed (BK)

Terminal Part Information

  • Terminal/Tray: See Terminal Repair Kit
  • Core/Insulation Crimp: See Terminal Repair Kit
  • Release Tool/Test Probe: See Terminal Repair Kit

Engine Control Module (ECM) X1 (LF8)

Pin

Wire

Circuit

Function

1

--

--

Not Used

2

1.0 BK/WH

351

Ground

3

1.0 BK/WH

351

Ground

4

1.0 BK/WH

351

Ground

5

1.0 BK/WH

351

Ground

6

--

--

Not Used

7

0.8 BN

1271

Low Reference

8

0.8 PU

1272

Low Reference

9

0.8 GY

1273

Low Reference

10

0.8 YE/BK

7607

Remote PTO Acceleration Ground

11

0.8 BK

470

Low Reference

12

--

--

Not Used

13

0.8 BK

407

Low Reference

14-16

--

--

Not Used

17

0.8 YE

2361

SAE J1939 Serial Data Bus+

18

0.8 D-GN

2362

SAE J1939 Serial Data Bus-

19

0.8 PK

6118

Intake Manifold Temperature Signal

20

0.8 D-GN

1049

ECM Class 2 Serial Data A

21

--

--

Not Used

22

0.8 PK

1020

Ignition 0 Voltage

23

0.8 PK

439

Ignition 1 Voltage

24

--

--

Not Used

25

0.8 BN/WH

419

MIL Control

26

1.0 BK/WH

351

Ground

27

1.0 BK/WH

351

Ground

28

0.8 WH

121

Engine Speed Signal

29

0.8 D-BU

5277

Exhaust Temperature Sensor 1 Signal

30

0.8 L-BU

5377

Exhaust Temperature Sensor 2 Signal

31

0.8 D-BU

1161

APP Sensor 1 Signal

32

0.8 L-BU

1162

APP Sensor 2 Signal

33

0.8 D-GN

1163

APP Sensor 3 Signal

34

0.8 D-GN

7637

Remote PTO Acceleration Signal

35

--

--

Not Used

36

0.8 PU

950

Diesel Particulate Filter Pressure Signal

37

0.8 PU

1589

Fuel Level Signal - Primary

38

0.8 D-BU

1936

Fuel Level Signal - Secondary

39

0.8 L-BU

2221

Signal High - Rear (-MD)

40

0.8 D-GN

2222

Signal Low - Rear (M/T)

41

0.8 GY

23

Generator Field Duty Cycle Signal

42

--

--

Not Used

43

0.8 GY/BK

1467

Shift Motor Relay - Control

44

--

--

Not Used

45

0.8 D-GN/WH

459

A/C Compressor Clutch Relay Control

46

0.8 GY

397

Cruise Control On Switch Signal

47

0.8 GY/BK

87

Cruise Control Resume/Accel Switch Signal

48

0.8 D-BU

84

Cruise Control Set/Coast Switch Signal

49

1.0 BK/WH

1120

Ignition 1 Voltage

50

1.0 BK/WH

1120

Ignition 1 Voltage

51

1.0 OG

440

Battery Positive Voltage

52

1.0 L-BU

1121

ECM Power Enable Signal

53

1.0 L-BU

1121

ECM Power Enable Signal

54

0.8 WH/BK

1164

5-Volt Reference 1

55

0.8 TN

1274

5-Volt Reference 2

56

0.8 YE/BK

1275

5-Volt Reference 3

57

0.8 PK

705

5-Volt Reference 1

58

0.8 GY

7606

Remote PTO Acceleration VCC

59

0.8 YE

505

Glow Plug Relay Control

60

0.8 WH/PU

953

Throttle Sensor Signal

61

0.8 BN

25

Charge Indicator Control/Charge Indicator Signal

62

0.8 L-BU

1320

Stop Lamp Switch Signal

63

0.8 PU

420

TCC Brake Switch/Cruise Control Release Signal

64

0.8 BN/WH

379

CPP Switch Signal (M/T)

65

--

--

Not Used

66

0.8 L-GN

1478

Coolant Level Switch Signal

67

0.8 L-GN

2081

Exhaust Brake Request Signal (K40/NPE)

68

0.8 D-GN

534

High Idle Switch Signal

69-71

--

--

Not Used

72

0.8 YE/BK

508

Water In Fuel Indicator Control

73

1.0 BK/WH

1120

Ignition 1 Voltage

74

--

--

Not Used

75

1.8 PU

2562

PTO Control

76

0.8 YE

447

Starter Relay Coil Control

77

0.8 BK/WH

1962

Exhaust Brake Indicator Signal

78

0.8 RD

2013

High Idle Indicator Control

79

0.8 D-BU

507

Wait to Start Indicator Control

80-81

--

--

Not Used

82

0.8 D-GN/WH

817

Vehicle Speed Signal

83

0.8 YE/BK

1827

Vehicle Speed Signal

84-85

--

--

Not Used

86

0.8 L-BU

7605

Remote PTO Ignore Brake Clutch Switch

87

0.8 L-GN

24

Backup Lamp Supply Voltage

88

0.8 PU

7608

Remote PTO Control Disable Switch

89

0.8 D-BU

7610

Remote PTO Set Speed A Switch

90

0.8 WH/BK

7609

Remote PTO Set Speed B Switch

91

0.8 PU

7612

Resume PTO Set Switch

92

0.8 BN

7611

Resume PTO Resume Switch

93

0.8 L-GN

488

PTO On Switch Signal

94

0.8 L-BU

494

PTO Engine Kill Signal

95

0.8 YE

2522

PTO Engage Signal

96

0.8 D-GN

1433

PNP/Clutch Start Switch Signal (M/T)

0.8 PU

806

Crank Voltage (AT)

Engine Control Module (ECM) X2 (LF8)


Object Number: 1826273  Size: CH

Connector Part Information

  • OEM: 1 928 404 780
  • Service: See Catalog
  • Description: 58-Way F 2.8 Series Bosch (BK)

Terminal Part Information

  • Terminal/Tray: See Terminal Repair Kit
  • Core/Insulation Crimp: See Terminal Repair Kit
  • Release Tool/Test Probe: See Terminal Repair Kit

Engine Control Module (ECM) X2 (LF8)

Pin

Wire

Circuit

Function

1

0.75 WH/BK

CF139

Intake Throttle Motor Low

2

0.75 D-BU/BK

CF138

Intake Throttle Motor High

3

0.85 BK

DF28

Turbocharger Van Position Solenoid Control

4

0.5 RD

CF196

Exhaust Gas Recirculation Temperature sensor 2 Signal

5

2.0 WH

CF71

Injector Positive Voltage Control 1

6

2.0 RD

CF79

Injector Positive Voltage Control 2

7

0.75 BK/WH

DF35

EGR Motor U Supply Voltage

8

0.75 D-GN

DF33

EGR Motor V Supply Voltage

9

0.75 RD/YE

DF31

EGR Motor W Supply Voltage

10

--

--

Not Used

11

0.5 BK

CF151

Low Reference

12

0.5 BK

CF56

Low Reference

13

0.5 BK

CF66

Low Reference

14

0.5 BK

CF70

Low Reference

15

0.5 BK

DF21

Low Reference

16

0.5 BK

CF137

Low Reference

17

0.5 BK

DF30

Low Reference

18

0.5 BK

CF165

Low Reference

19

0.5 BK

CF158

Low Reference

20

1.25 RD

CF40

SCV Low Signal

21

0.75 RD

CF41

SCV Low Signal

22

0.75 D-GN

CF95

Oil Level Switch Signal

23

--

--

Not Used

24

0.5 WH

CF51

MAP Sensor Signal

25

0.5 WH

CF60

Fuel Pressure Sensor Signal

26

0.5 WH

CF62

Fuel Pressure Sensor Signal

27

0.5 GY

CF69

Oil Pressure Sensor Signal

28

0.5 WH

DF16

MAF Sensor Signal

29

0.5 BK/YE

CF136

Intake Position Signal

30

0.5 WH

CF162

CMP Sensor Low

31

0.5 WH

CF155

CKP Sensor High

32

0.5 RD

CF154

5-Volt Reference 2

33

1.25 WH

CF38

SCV High Signal

34

0.75 WH

CF39

SCV High Signal

35

0.5 D-BU/WH

CF87

ECT Sensor Signal

36

0.75 BK

IC01

Low Reference

37

0.5 D-GN/WH

DF13

IAT Sensor Signal

38

0.5 D-BU/RD

DF36

EGR Motor Position U Signal

39

0.5 WH/RD

DF34

EGR Motor Position V Signal

40

0.5 YE/RD

DF32

EGR Motor Position W Signal

41

0.5 YE

CF89

Fuel Temperature Sensor Signal

42

0.5 RD

CF91

Exhaust Gas Recirculation Temperature Sensor 1 Signal

43

0.75 RD

CF83

Fuel Injector D Control

44

0.75 BK

CF85

Fuel Injector F Control

45

0.75 BK/RD

CF81

Fuel Injector B Control

46

0.5 RD

CF50

5-Volt Reference 1

47

0.5 RD

CF59

5-Volt Reference 1

48

0.5 WH

CF68

5-Volt Reference 1

49

0.5 WH

DF37

5-Volt Reference 1

50

0.5 WH

CF135

5-Volt Reference 1

51

0.5 RD

CF161

5-Volt Reference 1

52

--

--

Not Used

53

0.5 WH

CF148

TVP Sensor Signal

54

0.5 RD

CF147

5-Volt Reference 1

55

--

--

Not Used

56

0.75 WH

CF75

Fuel Injector C Control

57

0.75 D-BU

CF77

Fuel Injector E Control

58

0.75 YE

CF73

Fuel Injector A Control

Engine Control Module (ECM) X1 (LMM)


Object Number: 1544242  Size: CH

Connector Part Information

  • OEM: 15438366
  • Service: 19149311
  • Description: 96-Way F 1.2, Sealed (BK)

Terminal Part Information

  • Pins: 1-3, 25-27, 48-51, 73-77, 96
  • Terminal/Tray: 1928498135/19
  • Core/Insulation Crimp: K/K
  • Release Tool/Test Probe: J-38125-213/J-35616-64B (L-BU)
  • Pins: 4-15, 17, 19-21, 23-24, 28, 30-31, 33-45, 47, 56-67-70, 72, 78-80, 84-86, 88, 91-94
  • Terminal/Tray: 1928498135/19
  • Core/Insulation Crimp: J/J
  • Release Tool/Test Probe: J-38125-213/J-35616-64B (L-BU)

Engine Control Module (ECM) X1 (LMM)

Pin

Wire

Circuit

Function

1

1.0 OG

5421

Injector Positive Voltage Control Group 1

2

1.0 D-BU/WH

878

Fuel Injector 8 Control

3

1.0 RD/BK

877

Fuel Injector 7 Control

4

0.8 D-BU

2364

Cooling Fan Speed Signal

5

0.5 YE

492

MAF Sensor Signal

6

0.5 OG/BK

469

Low Reference

7

0.8 PU

806

Crank Voltage

8

0.8 YE

2522

PTO Engage Signal

9

0.5 BN

1174

Oil Level Switch Signal

10

0.5 GY/BK

87

Cruise Control Resume/Accel Switch Signal

11

0.5 GY/BK

6272

Low Reference

12

0.5 GY

2704

5-Volt Reference 3

13

0.5 TN

5928

5-Volt Reference 3

14

0.8 BN/WH

6136

5-Volt Reference 2

15

0.5 GY

2705

5-Volt Reference 2

16

--

--

Not Used

17

0.5 GY

2701

5-Volt Reference

18

--

--

Not Used

19

0.5 L-GN

432

MAP Sensor Signal

20

0.5 YE

5947

Turbocharger Vane Position Sensor Signal

21

0.5 L-BU

1162

APP Sensor 2 Signal

22

--

--

Not Used

23

0.5 BK

2755

Low Reference

24

0.5 PU/WH

2530

Fuel Pressure Regulator Solenoid Supply Voltage

25

1.0 PK

5425

Injector Positive Voltage Control Group 4

26

1.0 YE/BK

846

Fuel Injector 6 Control

27

1.0 PK/BK

1746

Fuel Injector 3 Control

28

0.8 WH/BK

2366

Cooling Fan Clutch Control

29

--

--

Not Used

30

0.5 OG/BK

2919

Low Reference

31

0.8 L-BU

494

PTO Engine Kill Signal

32

--

--

Not Used

33

0.8 BK

476

Mass Air Flow Sensor Low Reference

34

0.5 D-BU

84

Cruise Control Set/Coast Switch Signal

35

0.8 YE/BK

6055

Exhaust Pressure Sensor Low Reference (1)

36

0.5 BK

2752

Low Reference

37

0.5 GY

2702

5-Volt Reference 3

38

0.5 TN

1274

5-Volt Reference 2

39

0.5 TN

2917

5-Volt Reference 2

40

0.5 PU/WH

6270

5-Volt Reference 1

41

0.5 D-BU

6259

5-Volt Reference 1

42

0.5 TN

472

IAT Sensor 1 Signal

43

0.8 D-BU/WH

6053

Exhaust Pressure Sensor Signal (1)

44

0.5 TN/WH

331

Oil Pressure Sensor Signal

45

--

--

Not Used

46

--

--

Not Used

47

0.5 BK

2761

Low Reference

48

1.0 D-BU

5930

Turbocharger Vane Position Control Solenoid Valve Control

49

1.0 PU

5423

Injector Positive Voltage Control Group 3

50

1.0 BK/WH

845

Fuel Injector 5 Control

51

1.0 L-BU/BK

844

Fuel Injector 4 Control

52

--

--

Not Used

53

0.5 YE/BK

6120

Low Reference

54-55

--

--

Not Used

56

0.5 D-BU/WH

6265

CMP Sensor Signal

57

0.5 GY/BK

1694

4WD Low Signal

58

0.5 L-GN

1478

Coolant Level Switch Signal

59

0.8 D-GN

534

High Idle Switch Signal

60

0.5 L-GN

488

PTO On Switch Signal

61

0.5 GY

397

Cruise Control On Switch Signal

62

0.5 BK

552

Low Reference

63

0.5 OG/BK

5929

Low Reference

64

--

--

Not Used

65

0.5 L-BU

6118

IAT Sensor 2 Signal

66

--

--

Not Used

67

0.5 BN/WH

5763

EGR Valve Position Signal

68

0.5 YE

410

ECT Sensor Signal

69

0.8 D-BU

5277

Exhaust Gas Temperature Sensor (1)

70

0.8 BN

6782

Exhaust Gas Temperature Sensor (1) Low Reference

71

--

--

Not Used

72

0.5 YE

2834

Fuel Pressure Regulator Solenoid Control

73

1.0 YE

5422

Injector Positive Voltage Control Group 2

74

1.0 BK

1744

Fuel Injector 1 Control

75

1.0 L-GN/BK

1745

Fuel Injector 2 Control

76

1.0 PK

339

Ignition 1 Voltage

77

0.8 OG

440

Battery Positive Voltage

78

0.5 PU

1272

Low Reference

79

0.5 WH/BK

6271

CKP Sensor Signal

80

0.8 D-GN/WH

2523

A/C Request Signal

81-83

--

--

Not Used

84

0.8 L-GN

24

Backup Lamp Supply Voltage

85

0.8 YE/BK

508

Water In Fuel Indicator Control

86

0.5 BK

2753

Low Reference

87

--

--

Not Used

88

0.5 BN

6266

Low Reference

89-90

--

--

Not Used

91

0.5 D-GN

485

TP Sensor 1 Signal

92

0.5 YE

2918

FRP Sensor Signal

93

0.8 L-BU

5377

Exhaust Gas Temperature Sensor (2)

94

0.8 BN/WH

6783

Exhaust Gas Temperature Sensor (2) Low Reference

95

--

--

Not Used

96

1.0 WH

5931

Turbocharger Vane Position Control Solenoid Valve Low Reference

Engine Control Module (ECM) X2 (LMM)


Object Number: 1544260  Size: CH

Connector Part Information

  • OEM: 15462694
  • Service: 88988935
  • Description: 58-Way F Mixed Series, Sealed (BK)

Terminal Part Information

  • Pins: 1-6
  • Terminal/Tray: 1928498059/24
  • Core/Insulation Crimp: 2/5
  • Release Tool/Test Probe: J-38125-561/J-35616-35 (VT)
  • Pins: 33, 46
  • Terminal/Tray: 1928498135/19
  • Core/Insulation Crimp: K/K
  • Release Tool/Test Probe: J-38125-213/J-35616-64B (L-BU)
  • Pins: 7, 9, 11-12, 15-26, 28-32, 33, 36, 38-40, 41, 44-45, 47-50, 53-57
  • Terminal/Tray: 1928498135/19
  • Core/Insulation Crimp: J/J
  • Release Tool/Test Probe: J-38125-213/J-35616-64B (L-BU)

Engine Control Module (ECM) X2 (LMM)

Pin

Wire

Circuit

Function

1

2.0 PK

339

Ignition 1 Voltage

2

2.0 BK/WH

351

Ground

3

2.0 PK

339

Ignition 1 Voltage

4

2.0 BK/WH

351

Ground

5

2.0 PK

339

Ignition 1 Voltage

6

2.0 BK/WH

351

Ground

7

0.5 BN

582

TAC Motor Control - 2

8

--

--

Not Used

9

0.5 D-GN

1049

ECM Class 2 Serial Data

10

--

--

Not Used

11

0.8 BK/WH

1962

Exhaust Brake Solenoid Feed (K40)

12

0.8 D-GN/WH

465

Fuel Pump Relay Control - Primary

13-14

--

--

Not Used

15

0.5 WH/BK

1164

5-Volt Reference 3

16

0.5 D-BU

507

Wait to Start Indicator Control

17

0.8 RD

2013

High Idle Indicator Control

18

0.5 PU

2562

PTO Control

19

0.8 GY

2219

IGN B Relay Control

20

0.5 YE

581

TAC Motor Control - 1

21

0.8 PK

439

Ignition 1 Voltage

22

0.5 L-BU

1320

Stop Lamp Supply Voltage

23

0.8 BN

25

Charge Indicator Control

24

0.8 BN

2524

Generator 2 Turn On Signal (K65)

25

0.5 D-GN

603

A/C Low Pressure Switch Signal

26

0.8 BN/WH

6141

Low Reference

27

--

--

Not Used

28

0.8 GY

2365

5-Volt Reference 1

29

0.5 BN

1271

Low Reference

30

0.5 BN/WH

419

MIL Control

31

0.5 D-GN/WH

459

A/C Compressor Clutch Relay Control

32

0.8 YE

447

Starter Relay Coil Control

33

1.0 OG/BK

5764

EGR Motor High Control

34

0.5 BK

470

Low Reference

35

--

--

Not Used

36

0.8 PU

1589

Fuel Level Sensor Signal - Primary

37

--

--

Not Used

38

0.8 GY

23

Generator Field Duty Cycle Signal

39

0.8 OG/BK

1786

Park/Neutral Signal (Automatic Transmission)

40

0.5 PU

420

TCC Brake Switch/Cruise Control Release Signal

41

--

--

Not Used

42

0.5 D-GN/WH

817

Vehicle Speed Signal

43

--

--

Not Used

44

0.5 TN

6106

High Speed GMLAN Serial Data Bus-

45

0.8 L-BU/BK

2221

Signal High - Rear

46

1.0 L-GN/BK

5746

EGR Motor Low Control

47

0.5 BN

6062

Low Reference

48

0.5 YE

1578

Fuel Temperature Signal

49

0.5 D-BU

1161

APP Sensor 1 Signal

50

0.5 D-BU

1936

Fuel Level Sensor Signal - Secondary

51-52

--

--

Not Used

53

0.8 L-GN

2081

Engine Exhaust Brake Switch Control

54

0.8 YE/BK

1827

Vehicle Speed Signal

55

0.5 WH

121

Engine Speed Signal

56

0.8 PK

1020

Ignition 0 Voltage

57

0.5 TN/WH

6105

High Speed GMLAN Serial Data Bus+

58

--

--

Not Used

Engine Coolant Temperature (ECT) Sensor (L18)


Object Number: 684807  Size: CH

Connector Part Information

  • OEM: 12110293
  • Service: 12117025
  • Description: 3-Way F Metri-Pack 150 Series Sealed (BK)

Terminal Part Information

  • Terminal/Tray: 12048074/2
  • Core/Insulation Crimp: E/1
  • Release Tool/Test Probe: 12094429/J-35616-2A (GY)

Engine Coolant Temperature (ECT) Sensor (L18)

Pin

Wire

Circuit

Function

A

0.5 GY

720

Low Reference

B

0.5 YE

410

ECT Sensor Signal

C

--

--

Not Used

Engine Coolant Temperature (ECT) Sensor (LF6)


Object Number: 784092  Size: CH

Connector Part Information

  • OEM: 2304011
  • Service: See Catalog
  • Description: 2-Way F, Sealed (Caterpillar)

Terminal Part Information

  • Terminal/Tray: See Terminal Repair Kit
  • Core/Insulation Crimp: See Terminal Repair Kit
  • Release Tool/Test Probe: See Terminal Repair Kit

Engine Coolant Temperature (ECT) Sensor (LF6)

Pin

Wire

Circuit

Function

1

0.8 BU

995

ECT Sensor Signal

2

0.8 GN

G829

Low Reference

Engine Coolant Temperature (ECT) Sensor (LF8)


Object Number: 1861481  Size: CH

Connector Part Information

  • OEM: 7223-8529-60
  • Service: See Catalog
  • Description: 2-Way F Yazaki (D-GN)

Terminal Part Information

  • Terminal/Tray: See Terminal Repair Kit
  • Core/Insulation Crimp: See Terminal Repair Kit
  • Release Tool/Test Probe: See Terminal Repair Kit

Engine Coolant Temperature (ECT) Sensor (LF8)

Pin

Wire

Circuit

Function

1

0.5 BK

CF88

Low Reference

2

0.5 D-BU/WH

CF87

Coolant Temperature Signal

Engine Coolant Temperature (ECT) Sensor (LMM)


Object Number: 646176  Size: CH

Connector Part Information

  • OEM: 12162195
  • Service: 88987993
  • Description: 2-Way F Metri-Pack 150.2 Series, Sealed (BK)

Terminal Part Information

  • Terminal/Tray: 12124075/5
  • Core/Insulation Crimp: E/C
  • Release Tool/Test Probe: 12180559-1/J-35616-14 (GN)

Engine Coolant Temperature (ECT) Sensor (LMM)

Pin

Wire

Circuit

Function

A

0.5 YE

410

ECT Sensor Signal

B

0.5 BK

2761

Low Reference

Engine Oil Level Switch (L18)


Object Number: 635009  Size: CH

Connector Part Information

  • OEM: 12052641
  • Service: 12102747
  • Description: 2-Way F Metri-Pack 150 Series (BK)

Terminal Part Information

  • Terminal/Tray: See Terminal Repair Kit
  • Core/Insulation Crimp: See Terminal Repair Kit
  • Release Tool/Test Probe: See Terminal Repair Kit

Engine Oil Level Switch (L18)

Pin

Wire

Circuit

Function

A

0.5 BN

1174

Oil Level Switch Signal

B

0.8 BK

250

Ground

Engine Oil Level Switch (LF8)


Object Number: 246685  Size: CH

Connector Part Information

  • OEM: 7323-7414-40
  • Service: See Catalog
  • Description: 1-Way F Yazaki Sealed (L-GY)

Terminal Part Information

  • Terminal/Tray: See Terminal Repair Kit
  • Core/Insulation Crimp: See Terminal Repair Kit
  • Release Tool/Test Probe: See Terminal Repair Kit

Engine Oil Level Switch (LF8)

Pin

Wire

Circuit

Function

A

0.75 D-GN

CF95

Oil Level Switch Signal

Engine Oil Level Switch (LMM)


Object Number: 684833  Size: CH

Connector Part Information

  • OEM: 12129140
  • Service: 12085491
  • Description: 2-Way F Metri-Pack 280.1 Series (BK)

Terminal Part Information

  • Terminal/Tray: See Terminal Repair Kit
  • Core/Insulation Crimp: See Terminal Repair Kit
  • Release Tool/Test Probe: See Terminal Repair Kit

Engine Oil Level Switch (LMM)

Pin

Wire

Circuit

Function

A

0.5 BN

IC68

Oil Level Switch Signal

B

0.5 L-GN/WH

IC69

Ground

Engine Oil Pressure (EOP) Sensor (L18)


Object Number: 258299  Size: CH

Connector Part Information

  • OEM: 12078090
  • Service: 88988301
  • Description: 3-Way F Metri-Pack 150 Series, Sealed (BK)

Terminal Part Information

  • Terminal/Tray: See Terminal Repair Kit
  • Core/Insulation Crimp: See Terminal Repair Kit
  • Release Tool/Test Probe: See Terminal Repair Kit

Engine Oil Pressure (EOP) Sensor (L18)

Pin

Wire

Circuit

Function

A

0.8 BK

407

Low Reference

B

0.8 TN/WH

705

5-Volt Reference

C

0.8 GY

332

Oil Pressure Sensor Signal

Engine Oil Pressure (EOP) Sensor (LF6)


Object Number: 258299  Size: CH

Connector Part Information

  • OEM: 2370227
  • Service: See Catalog
  • Description: 3-Way F, Sealed (BK) (Caterpillar)

Terminal Part Information

  • Terminal/Tray: See Terminal Repair Kit
  • Core/Insulation Crimp: See Terminal Repair Kit
  • Release Tool/Test Probe: See Terminal Repair Kit

Engine Oil Pressure (EOP) Sensor (LF6)

Pin

Wire

Circuit

Function

A

0.8 BN

G826

5-Volt Reference

B

0.8 BU

G827

Low Reference

C

0.8 GY

994

Oil Pressure Sensor Signal

Engine Oil Pressure (EOP) Sensor (LF8)


Object Number: 1428077  Size: CH

Connector Part Information

  • OEM: 7383-1032-30
  • Service: 88953311
  • Description: 3-Way F, Sealed (BK) (Yazaki)

Terminal Part Information

  • Terminal/Tray: See Terminal Repair Kit
  • Core/Insulation Crimp: See Terminal Repair Kit
  • Release Tool/Test Probe: See Terminal Repair Kit

Engine Oil Pressure (EOP) Sensor (LF8)

Pin

Wire

Circuit

Function

1

0.5 BK

CF70

Low Reference

2

0.5 GY

CF69

Oil Pressure Sensor Signal

3

0.5 WH

CF68

5-Volt Reference 1

Engine Oil Pressure (EOP) Sensor (LMM)


Object Number: 826262  Size: CH

Connector Part Information

  • OEM: 6189-0099
  • Service: 88953311
  • Description: 3-Way F HW 090 Series, Sealed (BK) (Sumitomo)

Terminal Part Information

  • Terminal/Tray: See Terminal Repair Kit
  • Core/Insulation Crimp: See Terminal Repair Kit
  • Release Tool/Test Probe: See Terminal Repair Kit

Engine Oil Pressure (EOP) Sensor (LMM)

Pin

Wire

Circuit

Function

1

0.5 BK

2755

Low Reference

2

0.5 TN/WH

331

Oil Pressure Sensor Signal

3

0.5 GY

2705

5-Volt Reference

Engine Timing Calibration Sensor (LF6)


Object Number: 784092  Size: CH

Connector Part Information

  • OEM: 1552269
  • Service: See Catalog
  • Description: 2-Way F (Caterpillar)

Terminal Part Information

  • Terminal/Tray: See Terminal Repair Kit
  • Core/Insulation Crimp: See Terminal Repair Kit
  • Release Tool/Test Probe: See Terminal Repair Kit

Engine Timing Calibration Sensor (LF6)

Pin

Wire

Circuit

Function

1

0.8 WH

G856

Engine Timing Calibration Probe +

2

0.8 YE

G857

Engine Timing Calibration Probe -

Evaporative Emission (EVAP) Canister Purge Solenoid Valve (L18)


Object Number: 684795  Size: CH

Connector Part Information

  • OEM: 12052643
  • Service: 12101858
  • Description: 2-Way F Metri-Pack 150 Series Sealed (RD)

Terminal Part Information

  • Terminal/Tray: 12048074/2
  • Core/Insulation Crimp: E/1
  • Release Tool/Test Probe: 12094429/J-35616-2A (GY)

Evaporative Emission (EVAP) Canister Purge Solenoid Valve (L18)

Pin

Wire

Circuit

Function

A

0.8 PK

239

Ignition 1 Voltage

B

0.8 D-GN/WH

428

EVAP Canister Purge Solenoid Control

Exhaust Brake Switch (K40)


Object Number: 304345  Size: CH

Connector Part Information

  • OEM: 12177195
  • Service: 15305931
  • Description: 6-Way F Metri-Pack 150 Series (BK)

Terminal Part Information

  • Terminal/Tray: 12129484/19
  • Core/Insulation Crimp: Pins A - E/A
  • Core/Insulation Crimp: Pins B-C, E - E/C
  • Release Tool/Test Probe: 12094429/J-35616-2A (GY)

Exhaust Brake Switch (K40)

Pin

Wire

Circuit

Function

A

0.5 BK

750

Ground

B

0.5 BK

750

Ground

C

0.5 L-GN

2081

Engine Exhaust Brake Switch Signal

D

--

--

Not Used

E

0.5 BN

2509

Left Rear Park Lamps Supply Voltage

F

--

--

Not Used

Exhaust Brake/Throttle Solenoid (LF8)


Object Number: 68721  Size: CH

Connector Part Information

  • OEM: 15300027
  • Service: 12101855
  • Description: 2-Way F Metri-Pack 280 Series, Sealed (BK)

Terminal Part Information

  • Terminal/Tray: See Terminal Repair Kit
  • Core/Insulation Crimp: See Terminal Repair Kit
  • Release Tool/Test Probe: See Terminal Repair Kit

Exhaust Brake/Throttle Solenoid (LF8)

Pin

Wire

Circuit

Function

A

0.8 BK/WH

1120

Ignition 1 Voltage

B

0.8 WH/PU

953

Exhaust Brake Throttle Solenoid Signal

Exhaust Gas Recirculation (EGR) Valve (LF8)


Object Number: 655815  Size: CH

Connector Part Information

  • OEM: 7383-7283-30
  • Service: See Catalog
  • Description: 8-Way F Yazaki (BK)

Terminal Part Information

  • Terminal/Tray: See Terminal Repair Kit
  • Core/Insulation Crimp: See Terminal Repair Kit
  • Release Tool/Test Probe: See Terminal Repair Kit

Exhaust Gas Recirculation (EGR) Valve (LF8)

Pin

Wire

Circuit

Function

A

0.5 D-BU/RD

DF36

U Motor Position

B

0.5 WH/RD

DF34

V Motor Position

C

--

--

Not Available

D

0.5 RD/YE

DF32

W Motor Position

E

0.5 WH

DF37

5-Volt Reference

F

0.75 BK/WH

DF35

U Motor Signal

G

0.75 L-GN

DF33

V Motor Signal

H

--

--

Not Available

J

0.75 RD/YE

DF31

W Motor Signal

K

0.5 BK

DF30

Low Reference

Exhaust Gas Recirculation (EGR) Temperature Sensor (LF8)


Object Number: 1578317  Size: CH

Connector Part Information

  • OEM: 7283-7020-10
  • Service: See Catalog
  • Description: 2-Way F 2.3 Series, Sealed (D-GY) (Yazaki)

Terminal Part Information

  • Terminal/Tray: 7116-4025/11
  • Core/Insulation Crimp: E/1
  • Release Tool/Test Probe: 15313892/J-35616-18 (BK)

Exhaust Gas Recirculation (EGR) Temperature Sensor (LF8)

Pin

Wire

Circuit

Function

A

0.5 RD

CF91

EGR Temperature Sensor 1 Signal

B

0.5 BK

CF92

Low Reference

Exhaust Gas Recirculation (EGR) Valve (LMM)


Object Number: 1366573  Size: CH

Connector Part Information

  • OEM: 6195-0021
  • Service: 97324702
  • Description: 6-Way F Sumitomo DL Series, Sealed (GY)

Terminal Part Information

  • Terminal/Tray: See Terminal Repair Kit
  • Core/Insulation Crimp: See Terminal Repair Kit
  • Release Tool/Test Probe: See Terminal Repair Kit

Exhaust Gas Recirculation (EGR) Valve (LMM)

Pin

Wire

Circuit

Function

A

0.5 BN/WH

5763

EGR Valve Position Signal

B

0.5 BK

2753

Low Reference

C

0.5 GY

2702

5-Volt Reference 3

D

0.5 OG/BK

5764

EGR Motor High Control

E

--

--

Not Used

F

0.5 L-GN/BK

5746

EGR Motor Low Control

Exhaust Gas Temperature (EGT) Sensor 1 (LMM)


Object Number: 655692  Size: CH

Connector Part Information

  • OEM: 13510099
  • Service: See Catalog
  • Description: 2-Way M, GT 150 Series, Sealed (BK)

Terminal Part Information

  • Terminal/Tray: 15373403/5
  • Core/Insulation Crimp: E/1
  • Release Tool/Test Probe: 15315247/J-35616-3 (GY)

Exhaust Gas Temperature (EGT) Sensor 1 (LMM)

Pin

Wire

Circuit

Function

A

0.5 D-BU

5277

EGT Sensor 1 Signal

B

0.5 BN

6274

Exhaust Gas Recirculation Temperature Sensor Low Reference

Exhaust Gas Temperature (EGT) Sensor 2 (LMM)


Object Number: 655692  Size: CH

Connector Part Information

  • OEM: 13510099
  • Service: See Catalog
  • Description: 2-Way M, GT 150 Series, Sealed (BK)

Terminal Part Information

  • Terminal/Tray: 15373403/5
  • Core/Insulation Crimp: E/1
  • Release Tool/Test Probe: 15315247/J-35616-3 (GY)

Exhaust Gas Temperature (EGT) Sensor 2 (LMM)

Pin

Wire

Circuit

Function

A

0.5 L-BU

5377

EGT Sensor 2 Signal

B

0.5 GY/BK

6290

Exhaust Gas Recirculation Sensor #2 Low Reference

Exhaust Temperature Sensor (LF8)


Object Number: 1578317  Size: CH

Connector Part Information

  • OEM: 7283-7020-10
  • Service: See Catalog
  • Description: 2-Way F 2.3 Series, Sealed (D-GY) (Yazaki)

Terminal Part Information

  • Terminal/Tray: 7116-4025/11
  • Core/Insulation Crimp: E/1
  • Release Tool/Test Probe: 15313892/J-35616-18 (BK)

Exhaust Temperature Sensor (LF8)

Pin

Wire

Circuit

Function

A

0.5 RD

CF196

EGR Temperature Sensor 2 Signal

B

0.5 BK

CF197

Low Reference

Exhaust Temperature Sensor 1 (LF8)


Object Number: 1957628  Size: CH

Connector Part Information

  • OEM: 13534097
  • Service: See Catalog
  • Description: 2-Way F Yazaki (D-GY)

Terminal Part Information

  • Terminal/Tray: See Terminal Repair Kit
  • Core/Insulation Crimp: See Terminal Repair Kit
  • Release Tool/Test Probe: See Terminal Repair Kit

Exhaust Temperature Sensor 1 (LF8)

Pin

Wire

Circuit

Function

1

0.8 BK

470

Low Reference

2

0.8 D-BU

5277

Exhaust Temperature Sensor 1 Signal

Exhaust Temperature Sensor 2 (LF8)


Object Number: 1957629  Size: CH

Connector Part Information

  • OEM: 13542678
  • Service: See Catalog
  • Description: 2-Way F Yazaki (L-GY)

Terminal Part Information

  • Terminal/Tray: See Terminal Repair Kit
  • Core/Insulation Crimp: See Terminal Repair Kit
  • Release Tool/Test Probe: See Terminal Repair Kit

Exhaust Temperature Sensor 2 (LF8)

Pin

Wire

Circuit

Function

1

0.8 BK

470

Low Reference

2

0.8 L-BU

5377

Exhaust Temperature Sensor 2 Signal

Flame Boundary Temperature Sensor (LF6)


Object Number: 1566785  Size: CH

Connector Part Information

  • OEM: 2397349
  • Service: See Catalog
  • Description: 4-Way F, Sealed (Caterpillar) (BK)

Terminal Part Information

  • Terminal/Tray: See Terminal Repair Kit
  • Core/Insulation Crimp: See Terminal Repair Kit
  • Release Tool/Test Probe: See Terminal Repair Kit

Flame Boundary Temperature Sensor (LF6)

Pin

Wire

Circuit

Function

1

0.8 WH

Y748

5-Volt Reference

2

0.8 GN

Y749

Low Reference

3

0.8 OG

Y753

Flame Boundary Temperature Signal

4

--

--

Not Used

Flame Detect/Turbo Outlet Temperature Sensor (LF6)


Object Number: 1566785  Size: CH

Connector Part Information

  • OEM: 2305008
  • Service: See Catalog
  • Description: 4-Way F, Sealed (Caterpillar) (BK)

Terminal Part Information

  • Terminal/Tray: See Terminal Repair Kit
  • Core/Insulation Crimp: See Terminal Repair Kit
  • Release Tool/Test Probe: See Terminal Repair Kit

Flame Detect/Turbo Outlet Temperature Sensor (LF6)

Pin

Wire

Circuit

Function

1

0.8 WH

Y748

5-Volt Reference

2

0.8 GN

Y749

Low Reference

3

0.8 OG

Y743

Flame Detect Temperature Signal

4

0.8 YE

T846

Turbo Outlet Temperature Signal

Fuel Control Valve - Main (LF6)


Object Number: 784092  Size: CH

Connector Part Information

  • OEM: 2304011
  • Service: See Catalog
  • Description: 2-Way F, Sealed (Caterpillar)

Terminal Part Information

  • Terminal/Tray: See Terminal Repair Kit
  • Core/Insulation Crimp: See Terminal Repair Kit
  • Release Tool/Test Probe: See Terminal Repair Kit

Fuel Control Valve - Main (LF6)

Pin

Wire

Circuit

Function

1

0.8 OG

Y736

Fuel Enable On/Of Valve

2

0.8 BU

Y734

Low Reference

Fuel Control Valve - Pilot (LF6)


Object Number: 784092  Size: CH

Connector Part Information

  • OEM: 2304011
  • Service: See Catalog
  • Description: 2-Way F, Sealed (Caterpillar)

Terminal Part Information

  • Terminal/Tray: See Terminal Repair Kit
  • Core/Insulation Crimp: See Terminal Repair Kit
  • Release Tool/Test Probe: See Terminal Repair Kit

Fuel Control Valve - Pilot (LF6)

Pin

Wire

Circuit

Function

1

0.8 PU

Y733

Fuel Enable On/Of Valve

2

0.8 OG

Y736

Low Reference

Fuel Enable Valve (LF6)


Object Number: 784092  Size: CH

Connector Part Information

  • OEM: 2304011
  • Service: See Catalog
  • Description: 2-Way F, Sealed (Caterpillar)

Terminal Part Information

  • Terminal/Tray: See Terminal Repair Kit
  • Core/Insulation Crimp: See Terminal Repair Kit
  • Release Tool/Test Probe: See Terminal Repair Kit

Fuel Enable Valve (LF6)

Pin

Wire

Circuit

Function

1

0.8 YE

Y737

Fuel Enable On/Of Valve

2

0.8 GY

Y738

Low Reference

Fuel Heater (LMM)


Object Number: 1428179  Size: CH

Connector Part Information

  • OEM: 7118-3320-30
  • Service: See Catalog
  • Description: 2-Way M Yazaki, Sealed (BK)

Terminal Part Information

  • Terminal/Tray: See Terminal Repair Kit
  • Core/Insulation Crimp: See Terminal Repair Kit
  • Release Tool/Test Probe: See Terminal Repair Kit

Fuel Heater (LMM)

Pin

Wire

Circuit

Function

A

0.85 PK

IC95

Ignition 1 Voltage

B

0.85 BK

IC96

Ground

Fuel Injector 1 (L18)


Object Number: 833727  Size: CH

Connector Part Information

  • OEM: 15411634
  • Service: 15306160
  • Description: 2-Way F Micro-Pack 064 Series Sealed (BK)

Terminal Part Information

  • Terminal/Tray: See Terminal Repair Kit
  • Core/Insulation Crimp: See Terminal Repair Kit
  • Release Tool/Test Probe: See Terminal Repair Kit

Fuel Injector 1 (L18)

Pin

Wire

Circuit

Function

A

0.8 PK/WH

539

Ignition 1 Voltage

B

0.8 BK

1744

Fuel Injector 1 Control

Fuel Injector 2 (L18)


Object Number: 833727  Size: CH

Connector Part Information

  • OEM: 15411634
  • Service: 15306160
  • Description: 2-Way F Micro-Pack 064 Series Sealed (BK)

Terminal Part Information

  • Terminal/Tray: See Terminal Repair Kit
  • Core/Insulation Crimp: See Terminal Repair Kit
  • Release Tool/Test Probe: See Terminal Repair Kit

Fuel Injector 2 (L18)

Pin

Wire

Circuit

Function

A

0.8 PK

339

Ignition 1 Voltage

B

0.8 L-GN/BK

1745

Fuel Injector 2 Control

Fuel Injector 3 (L18)


Object Number: 833727  Size: CH

Connector Part Information

  • OEM: 15411634
  • Service: 15306160
  • Description: 2-Way F Micro-Pack 064 Series Sealed (BK)

Terminal Part Information

  • Terminal/Tray: See Terminal Repair Kit
  • Core/Insulation Crimp: See Terminal Repair Kit
  • Release Tool/Test Probe: See Terminal Repair Kit

Fuel Injector 3 (L18)

Pin

Wire

Circuit

Function

A

0.8 PK/WH

539

Ignition 1 Voltage

B

0.8 PK

1746

Fuel Injector 3 Control

Fuel Injector 4 (L18)


Object Number: 833727  Size: CH

Connector Part Information

  • OEM: 15411634
  • Service: 15306160
  • Description: 2-Way F Micro-Pack 064 Series Sealed (BK)

Terminal Part Information

  • Terminal/Tray: See Terminal Repair Kit
  • Core/Insulation Crimp: See Terminal Repair Kit
  • Release Tool/Test Probe: See Terminal Repair Kit

Fuel Injector 4 (L18)

Pin

Wire

Circuit

Function

A

0.8 PK

339

Ignition 1 Voltage

B

0.8 L-BU/BK

844

Fuel Injector 4 Control

Fuel Injector 5 (L18)


Object Number: 833727  Size: CH

Connector Part Information

  • OEM: 15411634
  • Service: 15306160
  • Description: 2-Way F Micro-Pack 064 Series Sealed (BK)

Terminal Part Information

  • Terminal/Tray: See Terminal Repair Kit
  • Core/Insulation Crimp: See Terminal Repair Kit
  • Release Tool/Test Probe: See Terminal Repair Kit

Fuel Injector 5 (L18)

Pin

Wire

Circuit

Function

A

0.8 PK/WH

539

Ignition 1 Voltage

B

0.8 BK/WH

845

Fuel Injector 5 Control

Fuel Injector 6 (L18)


Object Number: 833727  Size: CH

Connector Part Information

  • OEM: 15411634
  • Service: 15306160
  • Description: 2-Way F Micro-Pack 064 Series Sealed (BK)

Terminal Part Information

  • Terminal/Tray: See Terminal Repair Kit
  • Core/Insulation Crimp: See Terminal Repair Kit
  • Release Tool/Test Probe: See Terminal Repair Kit

Fuel Injector 6 (L18)

Pin

Wire

Circuit

Function

A

0.8 PK

339

Ignition 1 Voltage

B

0.8 YE/BK

846

Fuel Injector 6 Control

Fuel Injector 7 (L18)


Object Number: 833727  Size: CH

Connector Part Information

  • OEM: 15411634
  • Service: 15306160
  • Description: 2-Way F Micro-Pack 064 Series Sealed (BK)

Terminal Part Information

  • Terminal/Tray: See Terminal Repair Kit
  • Core/Insulation Crimp: See Terminal Repair Kit
  • Release Tool/Test Probe: See Terminal Repair Kit

Fuel Injector 7 (L18)

Pin

Wire

Circuit

Function

A

0.8 PK/WH

539

Ignition 1 Voltage

B

0.8 RD/BK

877

Fuel Injector 7 Control

Fuel Injector 8 (L18)


Object Number: 833727  Size: CH

Connector Part Information

  • OEM: 15411634
  • Service: 15306160
  • Description: 2-Way F Micro-Pack 064 Series Sealed (BK)

Terminal Part Information

  • Terminal/Tray: See Terminal Repair Kit
  • Core/Insulation Crimp: See Terminal Repair Kit
  • Release Tool/Test Probe: See Terminal Repair Kit

Fuel Injector 8 (L18)

Pin

Wire

Circuit

Function

A

0.8 PK

339

Ignition 1 Voltage

B

0.8 D-BU/WH

878

Fuel Injector 8 Control

Fuel Injector 1 (LF6)


Object Number: 833727  Size: CH

Connector Part Information

  • OEM: 1539693
  • Service: See Catalog
  • Description: 2-Way F (Caterpillar)

Terminal Part Information

  • Terminal/Tray: See Terminal Repair Kit
  • Core/Insulation Crimp: See Terminal Repair Kit
  • Release Tool/Test Probe: See Terminal Repair Kit

Fuel Injector 1 (LF6)

Pin

Wire

Circuit

Function

A

1.0 PU

T957

Fuel Injector 1 Control

B

1.0 GY

T858

Low Reference

Fuel Injector 2 (LF6)


Object Number: 833727  Size: CH

Connector Part Information

  • OEM: 1539693
  • Service: See Catalog
  • Description: 2-Way F (Caterpillar)

Terminal Part Information

  • Terminal/Tray: See Terminal Repair Kit
  • Core/Insulation Crimp: See Terminal Repair Kit
  • Release Tool/Test Probe: See Terminal Repair Kit

Fuel Injector 2 (LF6)

Pin

Wire

Circuit

Function

A

1.0 YE

T958

Fuel Injector 2 Control

B

1.0 GY

T858

Low Reference

Fuel Injector 3 (LF6)


Object Number: 833727  Size: CH

Connector Part Information

  • OEM: 1539693
  • Service: See Catalog
  • Description: 2-Way F (Caterpillar)

Terminal Part Information

  • Terminal/Tray: See Terminal Repair Kit
  • Core/Insulation Crimp: See Terminal Repair Kit
  • Release Tool/Test Probe: See Terminal Repair Kit

Fuel Injector 3 (LF6)

Pin

Wire

Circuit

Function

A

1.0 BN

T959

Fuel Injector 3 Control

B

1.0 WH

T859

Low Reference

Fuel Injector 4 (LF6)


Object Number: 833727  Size: CH

Connector Part Information

  • OEM: 1539693
  • Service: See Catalog
  • Description: 2-Way F (Caterpillar)

Terminal Part Information

  • Terminal/Tray: See Terminal Repair Kit
  • Core/Insulation Crimp: See Terminal Repair Kit
  • Release Tool/Test Probe: See Terminal Repair Kit

Fuel Injector 4 (LF6)

Pin

Wire

Circuit

Function

A

1.0 BU

T960

Fuel Injector 4 Control

B

1.0 WH

T859

Low Reference

Fuel Injector 5 (LF6)


Object Number: 833727  Size: CH

Connector Part Information

  • OEM: 1539693
  • Service: See Catalog
  • Description: 2-Way F (Caterpillar)

Terminal Part Information

  • Terminal/Tray: See Terminal Repair Kit
  • Core/Insulation Crimp: See Terminal Repair Kit
  • Release Tool/Test Probe: See Terminal Repair Kit

Fuel Injector 5 (LF6)

Pin

Wire

Circuit

Function

A

1.0 GN

T961

Fuel Injector 5 Control

B

1.0 OG

T860

Low Reference

Fuel Injector 6 (LF6)


Object Number: 833727  Size: CH

Connector Part Information

  • OEM: 1539693
  • Service: See Catalog
  • Description: 2-Way F (Caterpillar)

Terminal Part Information

  • Terminal/Tray: See Terminal Repair Kit
  • Core/Insulation Crimp: See Terminal Repair Kit
  • Release Tool/Test Probe: See Terminal Repair Kit

Fuel Injector 6 (LF6)

Pin

Wire

Circuit

Function

A

1.0 WH

T962

Fuel Injector 6 Control

B

1.0 OG

T860

Low Reference

Fuel Injector 1 (LMM)


Object Number: 784092  Size: CH

Connector Part Information

  • OEM: 1 928 404 213
  • Service: See Catalog
  • Description: 2-Way F BOSCH®, Sealed (BK)

Terminal Part Information

  • Terminal/Tray: See Terminal Repair Kit
  • Core/Insulation Crimp: See Terminal Repair Kit
  • Release Tool/Test Probe: See Terminal Repair Kit

Fuel Injector 1 (LMM)

Pin

Wire

Circuit

Function

1

2.0 BK

1744

Fuel Injector 1 Control

2

2.0 OG

5421

Injector Positive Voltage Control Group 1

Fuel Injector 2 (LMM)


Object Number: 784092  Size: CH

Connector Part Information

  • OEM: 1 928 404 213
  • Service: See Catalog
  • Description: 2-Way F BOSCH®, Sealed (BK)

Terminal Part Information

  • Terminal/Tray: See Terminal Repair Kit
  • Core/Insulation Crimp: See Terminal Repair Kit
  • Release Tool/Test Probe: See Terminal Repair Kit

Fuel Injector 2 (LMM)

Pin

Wire

Circuit

Function

1

2.0 L-GN/BK

1745

Fuel Injector 2 Control

2

2.0 PU

5423

Injector Positive Voltage Control Group 3

Fuel Injector 3 (LMM)


Object Number: 784092  Size: CH

Connector Part Information

  • OEM: 1 928 404 213
  • Service: See Catalog
  • Description: 2-Way F BOSCH®, Sealed (BK)

Terminal Part Information

  • Terminal/Tray: See Terminal Repair Kit
  • Core/Insulation Crimp: See Terminal Repair Kit
  • Release Tool/Test Probe: See Terminal Repair Kit

Fuel Injector 3 (LMM)

Pin

Wire

Circuit

Function

1

2.0 PK/BK

1746

Fuel Injector 3 Control

2

2.0 PK

5425

Injector Positive Voltage Control Group 4

Fuel Injector 4 (LMM)


Object Number: 784092  Size: CH

Connector Part Information

  • OEM: 1 928 404 213
  • Service: See Catalog
  • Description: 2-Way F BOSCH®, Sealed (BK)

Terminal Part Information

  • Terminal/Tray: See Terminal Repair Kit
  • Core/Insulation Crimp: See Terminal Repair Kit
  • Release Tool/Test Probe: See Terminal Repair Kit

Fuel Injector 4 (LMM)

Pin

Wire

Circuit

Function

1

2.0 L-BU/BK

844

Fuel Injector 4 Control

2

2.0 OG

5421

Injector Positive Voltage Control Group 1

Fuel Injector 5 (LMM)


Object Number: 784092  Size: CH

Connector Part Information

  • OEM: 1 928 404 213
  • Service: See Catalog
  • Description: 2-Way F BOSCH®, Sealed (BK)

Terminal Part Information

  • Terminal/Tray: See Terminal Repair Kit
  • Core/Insulation Crimp: See Terminal Repair Kit
  • Release Tool/Test Probe: See Terminal Repair Kit

Fuel Injector 5 (LMM)

Pin

Wire

Circuit

Function

1

2.0 BK/WH

845

Fuel Injector 5 Control

2

2.0 PU

5423

Injector Positive Voltage Control Group 3

Fuel Injector 6 (LMM)


Object Number: 784092  Size: CH

Connector Part Information

  • OEM: 1 928 404 213
  • Service: See Catalog
  • Description: 2-Way F BOSCH®, Sealed (BK)

Terminal Part Information

  • Terminal/Tray: See Terminal Repair Kit
  • Core/Insulation Crimp: See Terminal Repair Kit
  • Release Tool/Test Probe: See Terminal Repair Kit

Fuel Injector 6 (LMM)

Pin

Wire

Circuit

Function

1

2.0 YE/BK

846

Fuel Injector 6 Control

2

2.0 YE

5422

Injector Positive Voltage Control Group 2

Fuel Injector 7 (LMM)


Object Number: 784092  Size: CH

Connector Part Information

  • OEM: 1 928 404 213
  • Service: See Catalog
  • Description: 2-Way F BOSCH®, Sealed (BK)

Terminal Part Information

  • Terminal/Tray: See Terminal Repair Kit
  • Core/Insulation Crimp: See Terminal Repair Kit
  • Release Tool/Test Probe: See Terminal Repair Kit

Fuel Injector 7 (LMM)

Pin

Wire

Circuit

Function

1

2.0 RD/BK

877

Fuel Injector 7 Control

2

2.0 YE

5422

Injector Positive Voltage Control Group 2

Fuel Injector 8 (LMM)


Object Number: 784092  Size: CH

Connector Part Information

  • OEM: 1 928 404 213
  • Service: See Catalog
  • Description: 2-Way F BOSCH®, Sealed (BK)

Terminal Part Information

  • Terminal/Tray: See Terminal Repair Kit
  • Core/Insulation Crimp: See Terminal Repair Kit
  • Release Tool/Test Probe: See Terminal Repair Kit

Fuel Injector 8 (LMM)

Pin

Wire

Circuit

Function

1

2.0 D-BU/WH

878

Fuel Injector 8 Control

2

2.0 PK

5425

Injector Positive Voltage Control Group 4

Fuel Pressure Regulator (LMM)


Object Number: 784092  Size: CH

Connector Part Information

  • OEM: 1 928 403 874
  • Service: See Catalog
  • Description: 2-Way F BOSCH®, Sealed (BK)

Terminal Part Information

  • Terminal/Tray: See Terminal Repair Kit
  • Core/Insulation Crimp: See Terminal Repair Kit
  • Release Tool/Test Probe: See Terminal Repair Kit

Fuel Pressure Regulator (LMM)

Pin

Wire

Circuit

Function

1

0.5 YE

2834

Fuel Pressure Regulator Solenoid Control

2

0.5 PU/WH

2530

Fuel Pressure Regulator Solenoid Supply Voltage

Fuel Pressure Sensor - Main (LF6)


Object Number: 258299  Size: CH

Connector Part Information

  • OEM: 2370227
  • Service: See Catalog
  • Description: 3-Way F, Sealed (BK) (Caterpillar)

Terminal Part Information

  • Terminal/Tray: See Terminal Repair Kit
  • Core/Insulation Crimp: See Terminal Repair Kit
  • Release Tool/Test Probe: See Terminal Repair Kit

Fuel Pressure Sensor - Main (LF6)

Pin

Wire

Circuit

Function

A

0.8 WH

Y748

5-Volt Reference

B

0.8 GN

Y749

Low Reference

C

0.8 BN

Y747

Fuel Main Pressure Signal

Fuel Pressure Sensor - Pilot (LF6)


Object Number: 1664596  Size: CH

Connector Part Information

  • OEM: 2304013
  • Service: See Catalog
  • Description: 3-Way F, Sealed (Caterpillar) (BK)

Terminal Part Information

  • Terminal/Tray: See Terminal Repair Kit
  • Core/Insulation Crimp: See Terminal Repair Kit
  • Release Tool/Test Probe: See Terminal Repair Kit

Fuel Pressure Sensor - Pilot (LF6)

Pin

Wire

Circuit

Function

1

0.8 WH

Y748

5-Volt Reference

2

0.8 GN

Y749

Low Reference

3

0.8 BN

C803

Fuel Pilot Pressure Signal

Fuel Pump 1 Solenoid (LF6)


Object Number: 833727  Size: CH

Connector Part Information

  • OEM: 2388245
  • Service: See Catalog
  • Description: 2-Way F (Caterpillar)

Terminal Part Information

  • Terminal/Tray: See Terminal Repair Kit
  • Core/Insulation Crimp: See Terminal Repair Kit
  • Release Tool/Test Probe: See Terminal Repair Kit

Fuel Pump 1 Solenoid (LF6)

Pin

Wire

Circuit

Function

A

0.8 BU

C818

Fuel Pump 1 Driver

B

0.8 PU

C819

Fuel Pump 1 Driver Return

Fuel Pump 2 Solenoid (LF6)


Object Number: 833727  Size: CH

Connector Part Information

  • OEM: 2388245
  • Service: See Catalog
  • Description: 2-Way F (Caterpillar)

Terminal Part Information

  • Terminal/Tray: See Terminal Repair Kit
  • Core/Insulation Crimp: See Terminal Repair Kit
  • Release Tool/Test Probe: See Terminal Repair Kit

Fuel Pump 2 Solenoid (LF6)

Pin

Wire

Circuit

Function

A

0.8 OG

C820

Fuel Pump 2 Driver

B

0.8 BN

C821

Fuel Pump 2 Driver Return

Fuel Pump (LMM)


Object Number: 68721  Size: CH

Connector Part Information

  • OEM: 12059450
  • Service: 15306134
  • Description: 2-Way F Metri-Pack 280 Series, Sealed (BK)

Terminal Part Information

  • Terminal/Tray: See Terminal Repair Kit
  • Core/Insulation Crimp: See Terminal Repair Kit
  • Release Tool/Test Probe: See Terminal Repair Kit

Fuel Pump (LMM)

Pin

Wire

Circuit

Function

A

2.0 BK

350

Ground

B

2.0 GY

120

Fuel Pump Supply Voltage

Fuel Pump (L18/Dual Tanks)


Object Number: 603213  Size: CH

Connector Part Information

  • OEM: 15326679
  • Service: 15306196
  • Description: 2-Way F GT 280 Series, Sealed (BK)

Terminal Part Information

  • Terminal/Tray: 15304720/19
  • Core/Insulation Crimp: 4/5
  • Release Tool/Test Probe: 15315247/J-35616-4A (PU)

Fuel Pump (L18/Dual Tanks)

Pin

Wire

Circuit

Function

A

2.0 BK

350

Ground

B

2.0 L-GN

1058

Fuel Balance Pump Supply Voltage

Fuel Pump and Sender Assembly (L18)


Object Number: 697003  Size: CH

Connector Part Information

  • OEM: 15324862
  • Service: 15306441
  • Description: 4-Way F FCI Apex Series Sealed (GY)

Terminal Part Information

  • Pins: 1, 3
  • Terminal/Tray: 54001400/22
  • Core/Insulation Crimp: 2/D
  • Release Tool/Test Probe: 12094429/J-35616-4A (PU)
  • Pins: 2, 4
  • Terminal/Tray: 54001800/22
  • Core/Insulation Crimp: 2/4
  • Release Tool/Test Probe: 12094429/J-35616-4A (PU)

Fuel Pump and Sender Assembly (L18)

Pin

Wire

Circuit

Function

1

2.0 GY

120

Fuel Pump Supply Voltage

2

0.8 BK

470

Low Reference

3

2.0 BK

350

Ground

4

0.8 PU

1589

Fuel Level Sensor Signal - Primary

Fuel Pump Relay (L18/Dual Tanks)


Object Number: 535912  Size: CH

Connector Part Information

  • OEM: 12129716
  • Service: 12166225
  • Description: 4-Way F Metri-Pack 280 Series, Sealed (GY)

Terminal Part Information

  • Pins: 30, 86, 87
  • Terminal/Tray: 12110845/4
  • Core/Insulation Crimp: Pins 30, 87 - A/5
  • Core/Insulation Crimp: Pins 86 - See Terminal Repair Kit
  • Release Tool/Test Probe: 15315247/J-35616-4A (PU)
  • Pins: 85
  • Terminal/Tray: 12110847/4
  • Core/Insulation Crimp: C/5
  • Release Tool/Test Probe: 15315247/J-35616-4A (PU)

Fuel Pump Relay (L18/Dual Tanks)

Pin

Wire

Circuit

Function

30

2.0 GY

120

Fuel Pump Supply Voltage

85

0.8 TN

1465

Fuel Pump Relay Control - Secondary

86

1.0 GY

120

Fuel Pump Supply Voltage

87

0.8 L-GN

1058

Fuel Balance Pump Supply Voltage

Fuel Rail Pressure (FRP) Sensor (LF6)


Object Number: 1664596  Size: CH

Connector Part Information

  • OEM: 2304013
  • Service: See Catalog
  • Description: 3-Way F, Sealed (Caterpillar) (BK)

Terminal Part Information

  • Terminal/Tray: See Terminal Repair Kit
  • Core/Insulation Crimp: See Terminal Repair Kit
  • Release Tool/Test Probe: See Terminal Repair Kit

Fuel Rail Pressure (FRP) Sensor (LF6)

Pin

Wire

Circuit

Function

1

0.8 BN

G826

5-Volt Reference

2

0.8 PK

G833

Low Reference

3

0.8 BN

G849

Fuel Rail Pressure Sensor Signal

Fuel Rail Pressure (FRP) Sensor (LF8)


Object Number: 1998240  Size: CH

Connector Part Information

  • OEM: 7323-1339-30
  • Service: See Catalog
  • Description: 3-Way F, Sealed Yazaki (BK)

Terminal Part Information

  • Terminal/Tray: See Terminal Repair Kit
  • Core/Insulation Crimp: See Terminal Repair Kit
  • Release Tool/Test Probe: See Terminal Repair Kit

Fuel Rail Pressure (FRP) Sensor (LF8)

Pin

Wire

Circuit

Function

A

0.5 BK

CF61

Low Reference

B

0.5 WH

CF67

FRP Sensor Signal

C

0.5 RD

CF59

5-Volt Reference

Fuel Rail Pressure (FRP) Sensor (LMM)


Object Number: 1331443  Size: CH

Connector Part Information

  • OEM: 1 928 403 968
  • Service: See Catalog
  • Description: 3-Way F BOSCH®, Sealed (BK)

Terminal Part Information

  • Terminal/Tray: See Terminal Repair Kit
  • Core/Insulation Crimp: See Terminal Repair Kit
  • Release Tool/Test Probe: See Terminal Repair Kit

Fuel Rail Pressure (FRP) Sensor (LMM)

Pin

Wire

Circuit

Function

1

0.5 OG/BK

2919

Low Reference

2

0.5 YE

2918

FRP Sensor Signal

3

0.5 TN

2917

5-Volt Reference 2

Fuel Rail Temperature (FRT) Sensor (LMM)


Object Number: 784094  Size: CH

Connector Part Information

  • OEM: 178392-6
  • Service: See Catalog
  • Description: 2-Way F AMP, Sealed (GY)

Terminal Part Information

  • Terminal/Tray: See Terminal Repair Kit
  • Core/Insulation Crimp: See Terminal Repair Kit
  • Release Tool/Test Probe: See Terminal Repair Kit

Fuel Rail Temperature (FRT) Sensor (LMM)

Pin

Wire

Circuit

Function

1

0.5 YE

1578

Fuel Temperature Signal

2

0.5 BN

6062

Low Reference

Fuel Sender (LF6/LF8/LMM)


Object Number: 697003  Size: CH

Connector Part Information

  • OEM: 15324862
  • Service: 15306441
  • Description: 4-Way F FCI Apex Series Sealed (GY)

Terminal Part Information

  • Terminal/Tray: 54001800/22
  • Core/Insulation Crimp: 2/4
  • Release Tool/Test Probe: 12094429/J-35616-4A (PU)

Fuel Sender (LF6/LF8/LMM)

Pin

Wire

Circuit

Function

1

--

--

Not Used

2

0.8 BK

470

Low Reference

3

--

--

Not Used

4

0.8 PU

1589

Fuel Level Sensor Signal - Secondary

Fuel Sender - Secondary (Dual Tanks)


Object Number: 697003  Size: CH

Connector Part Information

  • OEM: 15324862
  • Service: 15306441
  • Description: 4-Way F FCI Apex Series Sealed (GY)

Terminal Part Information

  • Terminal/Tray: 54001800/22
  • Core/Insulation Crimp: 2/4
  • Release Tool/Test Probe: 12094429/J-35616-4A (PU)

Fuel Sender - Secondary (Dual Tanks)

Pin

Wire

Circuit

Function

1

--

--

Not Used

2

0.8 BK

470

Low Reference

3

--

--

Not Used

4

0.8 D-BU

1936

Fuel Level Sensor Signal - Secondary

Fuel Temperature Sensor (LF8)


Object Number: 1428251  Size: CH

Connector Part Information

  • OEM: 7383-8326-10
  • Service: See Catalog
  • Description: 2-Way F Yazaki (D-GY)

Terminal Part Information

  • Terminal/Tray: See Terminal Repair Kit
  • Core/Insulation Crimp: See Terminal Repair Kit
  • Release Tool/Test Probe: See Terminal Repair Kit

Fuel Temperature Sensor (LF8)

Pin

Wire

Circuit

Function

A

0.5 BK

CF90

Low Reference

B

0.5 YE

CF89

Fuel Temperature Sensor Signal

Fuse Holder Brake Booster Fuse (JE3)


Object Number: 523591  Size: CH

Connector Part Information

  • OEM: 12092677
  • Service: 12167144
  • Description: 2-Way F Metri-Pack 630 Series, Sealed (BK)

Terminal Part Information

  • Pins: A
  • Terminal/Tray: 12033997/8
  • Core/Insulation Crimp: B/G
  • Release Tool/Test Probe: 12094430/J-35616-42 (RD)
  • Pins: B
  • Terminal/Tray: 12020156/8
  • Core/Insulation Crimp: C/D
  • Release Tool/Test Probe: 12094430/J-35616-42 (RD)

Fuse Holder Brake Booster Fuse (JE3)

Pin

Wire

Circuit

Function

A

5.0 OG

1470

Brake Booster Pump Motor Supply Voltage

B

0.8 L-GN

2674

Battery Positive Voltage

Generator X1 (L18/LMM)

Terminal Part Information

  • Terminal: 12146366
  • Core/Insulation Crimp: N/A
  • Description: Ring Terminal

Generator X1 (L18/LMM)

Pin

Wire

Circuit

Function

+

19 RD

2

Battery Positive Voltage

Generator X1 (LF6)

Terminal Part Information

  • Terminal: 12146362
  • Core/Insulation Crimp: N/A
  • Description: Ring Terminal

Generator X1 (LF6)

Pin

Wire

Circuit

Function

+

19 RD

2

Battery Positive Voltage

Generator X1 (LF8)

Terminal Part Information

  • Terminal: 12146578
  • Core/Insulation Crimp: N/A
  • Description: Ring Terminal

Generator X1 (LF8)

Pin

Wire

Circuit

Function

+

19 RD

2

Battery Positive Voltage

Generator X2


Object Number: 697046  Size: CH

Connector Part Information

  • OEM: 12186684
  • Service: 12085537
  • Description: 4-Way F (BK)

Terminal Part Information

  • Terminal/Tray: 12048074/2
  • Core/Insulation Crimp: Pins B-C - E/1
  • Core/Insulation Crimp: Pins D - 2/1
  • Release Tool/Test Probe: 12094429/J-35616-2A (GY)

Generator X2

Pin

Wire

Circuit

Function

A

--

--

Not Used

B

0.8 BN

25

Charge Indicator Control

C

0.8 GY

23

Generator Field Duty Cycle Signal

D

1.0 RD

2

Battery Positive Voltage

Generator - Left X1 (L18/LMM with K65)

Terminal Part Information

  • Terminal: 12146366
  • Core/Insulation Crimp: N/A
  • Description: Ring Terminal

Generator - Left X1 (L18/LMM with K65)

Pin

Wire

Circuit

Function

+

19 RD

2

Battery Positive Voltage

Generator - Left X2 (L18/LMM with K65)


Object Number: 697046  Size: CH

Connector Part Information

  • OEM: 12186684
  • Service: 12085537
  • Description: 4-Way F (BK)

Terminal Part Information

  • Pins: B, D
  • Terminal/Tray: 12048074/2
  • Core/Insulation Crimp: Pins B - E/1
  • Core/Insulation Crimp: Pins D - 2/1
  • Release Tool/Test Probe: 12094429/J-35616-2A (GY)

Generator - Left X2 (L18/LMM with K65)

Pin

Wire

Circuit

Function

A

--

--

Not Used

B

0.8 BN

2524

Generator Turn On Signal (LLM)

0.8 BN

25

Charge Indicator Control (L18)

C

--

--

Not Used

D

1.0 RD

2

Battery Positive Voltage

Glow Plug Control Module (GPCM) X1 (LMM)


Object Number: 1366585  Size: CH

Connector Part Information

  • OEM: 15443870
  • Service: 88987604
  • Description: 1-Way F Sealed (BK)

Terminal Part Information

  • Terminal/Tray: See Terminal Repair Kit
  • Core/Insulation Crimp: See Terminal Repair Kit
  • Release Tool/Test Probe: See Terminal Repair Kit

Glow Plug Control Module (GPCM) X1 (LMM)

Pin

Wire

Circuit

Function

1

19.0 RD

2

Battery Positive Voltage

Glow Plug Control Module (GPCM) X2 (LMM)


Object Number: 1576764  Size: CH

Connector Part Information

  • OEM: 897386-6110
  • Service: 97386611
  • Description: 53-Way F MLK 1.2/SLK 2.8 Series, Sealed (BK)

Terminal Part Information

  • Pins: 1-4, 6-9
  • Terminal/Tray: 2 21 24 47297 0/27
  • Core/Insulation Crimp: 4/C/1
  • Release Tool/Test Probe: 15314260/J-35616-4A (PU)
  • Pins: 26-31, 43-46, 51-53
  • Terminal/Tray: 2 21 24 61420 0/15
  • Core/Insulation Crimp: K/K
  • Release Tool/Test Probe: J-38125-24/J-35616-16 (L-GN)

Glow Plug Control Module (GPCM) X2 (LMM)

Pin

Wire

Circuit

Function

1

2.0 RD/WH

HB13

Glow Plug 3 Supply Voltage

2

2.0 WH/D-GN

HB12

Glow Plug 2 Supply Voltage

3

2.0 RD/D-GN

HB11

Glow Plug 1 Supply Voltage

4

2.0 WH/YE

HB14

Glow Plug 4 Supply Voltage

5

--

--

Not Used

6

2.0 WH/RD

HB18

Glow Plug 8 Supply Voltage

7

2.0 RD/L-GN

HB15

Glow Plug 5 Supply Voltage

8

2.0 WH/L-GN

HB16

Glow Plug 6 Supply Voltage

9

2.0 PK

HB17

Glow Plug 7 Supply Voltage

10-25

--

--

Not Used

26

0.75 YE

IC182

IAH Command 2

27

0.75 RD

IC185

IAH Feedback Signal

28

0.75 BK

IC180

IAH Temperature Signal

29

0.75 PK

IC183

IAH Current Signal

30

0.75 TN

IC184

IAH Voltage Signal

31

1.0 OG

IC181

IAH Command 1

32-42

--

--

Not Used

43

0.75 L-BU

6106

High Speed GMLAN Serial Data Bus-

44

0.75 D-BU

6105

High Speed GMLAN Serial Data Bus+

45

0.75 L-BU

6106

High Speed GMLAN Serial Data Bus-

46

0.75 D-BU

6105

High Speed GMLAN Serial Data Bus+

47-50

--

--

Not Used

51

0.75 RD

HB03

Ground

52

0.75 PK

239

Ignition 1 Voltage

53

1.0 PK

1020

Ignition 0 Voltage

Glow Plug Control Module (GPCM) (LF8) X1


Object Number: 1998239  Size: CH

Connector Part Information

  • OEM: 7383-9505-30
  • Description: 1-Way F Sealed, Yazaki (BK)

Glow Plug Control Module (GPCM) (LF8) X1

Pin

Wire

Circuit

Function

A

8.0 RD

HB25

Ignition 1 Voltage

Glow Plug Control Module (GPCM) (LF8) X2


Object Number: 1998241  Size: CH

Connector Part Information

  • OEM: 09 4474 01
  • Description: 12-Way F Sealed, Kostal (BK)

Glow Plug Control Module (GPCM) (LF8) X2

Pin

Wire

Circuit

Function

1-4

--

--

Not Used

5

0.75 RD

HB21

Ignition 1 Voltage

6

0.75 BN/RD

HB23

CAN Low

7-10

--

--

Not Used

11

0.75 BK

IC01

Ground

12

0.75 D-BU

HB22

CAN High

Glow Plug Relay (LF8)


Object Number: 603108  Size: CH

Connector Part Information

  • OEM: 15336743
  • Service: See Catalog
  • Description: 4-Way F GT 280/Metri-Pack 800 Series, Sealed (GY)

Terminal Part Information

  • Terminal/Tray: See Terminal Repair Kit
  • Core/Insulation Crimp: See Terminal Repair Kit
  • Release Tool/Test Probe: See Terminal Repair Kit

Glow Plug Relay (LF8)

Pin

Wire

Circuit

Function

30

5.0 OG

503

Glow Plug Supply Voltage - Bank 1

85

1.0 BK/WH

1120

Ignition 1 Voltage

86

1.0 YE

505

Glow Plug Relay Control

87

5.0 RD

2

Battery Positive Voltage

Headlamp - Left (GRW)


Object Number: 306269  Size: CH

Connector Part Information

  • OEM: 12034372
  • Service: 12117369
  • Description: 3-Way F Metri-Pack 800 Series (BK)

Terminal Part Information

  • Pins: A, C
  • Terminal/Tray: See Terminal Repair Kit
  • Core/Insulation Crimp: See Terminal Repair Kit
  • Release Tool/Test Probe: See Terminal Repair Kit
  • Pins: B
  • Terminal/Tray: 12020634/18
  • Core/Insulation Crimp: 4/B
  • Release Tool/Test Probe: 12150860/J-35616-44 (YE)

Headlamp - Left (GRW)

Pin

Wire

Circuit

Function

A

1.0 BK

350

Ground

B

1.0 L-GN

11

Headlamp High Beam Supply Voltage

C

1.0 TN

12

Headlamp Low Beam Supply Voltage

Headlamp - Right (GRW)


Object Number: 306269  Size: CH

Connector Part Information

  • OEM: 12034372
  • Service: 12117369
  • Description: 3-Way F Metri-Pack 800 Series (BK)

Terminal Part Information

  • Pins: A, C
  • Terminal/Tray: See Terminal Repair Kit
  • Core/Insulation Crimp: See Terminal Repair Kit
  • Release Tool/Test Probe: See Terminal Repair Kit
  • Pins: B
  • Terminal/Tray: 12020634/18
  • Core/Insulation Crimp: 4/B
  • Release Tool/Test Probe: 12150860/J-35616-44 (YE)

Headlamp - Right (GRW)

Pin

Wire

Circuit

Function

A

1.0 BK

350

Ground

B

1.0 L-GN

11

Headlamp High Beam Supply Voltage

C

1.0 TN

12

Headlamp Low Beam Supply Voltage

Headlamp - Left (V22)


Object Number: 892522  Size: CH

Connector Part Information

  • OEM: 6288471
  • Service: See Catalog
  • Description: 3-Way F Metri-Pack 800 Series (CL)

Terminal Part Information

  • Terminal/Tray: 2973216/1
  • Core/Insulation Crimp: C/B
  • Release Tool/Test Probe: 12094430/J-35616-42 (RD)

Headlamp - Left (V22)

Pin

Wire

Circuit

Function

A

1.0 TN

12

Headlamp Low Beam Supply Voltage

B

1.0 L-GN

11

Headlamp High Beam Supply Voltage

C

1.0 BK

350

Ground

Headlamp - Right (V22)


Object Number: 892522  Size: CH

Connector Part Information

  • OEM: 6288471
  • Service: See Catalog
  • Description: 3-Way F Metri-Pack 800 Series (CL)

Terminal Part Information

  • Terminal/Tray: 2973216/1
  • Core/Insulation Crimp: C/B
  • Release Tool/Test Probe: 12094430/J-35616-42 (RD)

Headlamp - Right (V22)

Pin

Wire

Circuit

Function

A

1.0 TN

12

Headlamp Low Beam Supply Voltage

B

1.0 L-GN

11

Headlamp High Beam Supply Voltage

C

1.0 BK

350

Ground

Headlamp - Left High Beam (V22)


Object Number: 892520  Size: CH

Connector Part Information

  • OEM: 6288472
  • Service: See Catalog
  • Description: 2-Way F Metri-Pack 800 Series (CL)

Terminal Part Information

  • Terminal/Tray: 2973216/1
  • Core/Insulation Crimp: C/B
  • Release Tool/Test Probe: 12094430/J-35616-42 (RD)

Headlamp - Left High Beam (V22)

Pin

Wire

Circuit

Function

A

1.0 L-GN

11

Headlamp High Beam Supply Voltage

B

1.0 BK

350

Ground

Headlamp - Right High Beam (V22)


Object Number: 892520  Size: CH

Connector Part Information

  • OEM: 6288472
  • Service: See Catalog
  • Description: 2-Way F Metri-Pack 800 Series (CL)

Terminal Part Information

  • Terminal/Tray: 2973216/1
  • Core/Insulation Crimp: C/B
  • Release Tool/Test Probe: 12094430/J-35616-42 (RD)

Headlamp - Right High Beam (V22)

Pin

Wire

Circuit

Function

A

1.0 L-GN

11

Headlamp High Beam Supply Voltage

B

1.0 BK

350

Ground

Headlamp Switch


Object Number: 68785  Size: CH

Connector Part Information

  • OEM: 12146952
  • Service: 12167155
  • Description: 12-Way F Metri-Pack 280 Series Flexlock (BK)

Terminal Part Information

  • Pins: B, D, E, G-H, L-M, N, R, S
  • Terminal/Tray: 12110844/4
  • Core/Insulation Crimp: Pins B, D, L-M - E/A
  • Core/Insulation Crimp: Pins E, G-H, N, R-S - C/A
  • Release Tool/Test Probe: 15315247/J-35616-4A (PU)
  • Pins: C
  • Terminal/Tray: 12110842/4
  • Core/Insulation Crimp: F/G
  • Release Tool/Test Probe: 15315247/J-35616-4A (PU)

Headlamp Switch

Pin

Wire

Circuit

Function

A

--

--

Not Available

B

0.5 GY

157

Courtesy Lamp Control

C

3.0 RD

1142

Battery Positive Voltage

D

0.5 PK

39

Ignition 1 Voltage

E

0.8 D-GN

44

Instrument Panel Lamps Dimmer Switch Signal

F

--

--

Not Available

G

1.0 YE

10

Headlamp Switch Signal

H

3.0 OG

240

Battery Positive Voltage

J

--

--

Not Available

K

--

--

Not Used

L

0.5 PU

328

Interior Lamp Switch Signal

M

0.5 WH

156

Courtesy Lamp Switch Signal

0.5 WH

156

Courtesy Lamp Switch Signal

N

1.0 PU/WH

1382

LED Dimming Signal

P

--

--

Not Available

R

1.0 BK

750

Ground

S

1.0 BN

9

Park Lamp Supply Voltage

Heated Oxygen Sensor (HO2S) 1 (L18)


Object Number: 874937  Size: CH

Connector Part Information

  • OEM: 12146047
  • Service: 12146047
  • Description: 5-Way F Metri-Pack 150 Series Sealed (BK)

Terminal Part Information

  • Terminal/Tray: 12048074/2
  • Core/Insulation Crimp: E/1
  • Release Tool/Test Probe: 12094429/J-35616-2A (GY)

Heated Oxygen Sensor (HO2S) 1 (L18)

Pin

Wire

Circuit

Function

A

0.8 TN

1664

HO2S Low Signal - Bank 1 Sensor 1

B

0.8 PU/WH

1665

HO2S High Signal - Bank 1 Sensor 1

C

--

--

Not Available

D

0.8 PK

739

Ignition 1 Voltage

E

0.8 BK/WH

3113

HO2S Heater Low Control - Bank 1 Sensor 1

Heated Oxygen Sensor (HO2S) 2 (L18)


Object Number: 831392  Size: CH

Connector Part Information

  • OEM: 12092839
  • Service: 88987991
  • Description: 5-Way M Metri-Pack 150 Series Sealed (BK)

Terminal Part Information

  • Terminal/Tray: 12045773/2
  • Core/Insulation Crimp: E/1
  • Release Tool/Test Probe: 12094429/J-35616-3 (GY)

Heated Oxygen Sensor (HO2S) 2 (L18)

Pin

Wire

Circuit

Function

A

0.8 TN

1667

HO2S Low Reference

B

0.8 PU

1666

HO2S High Signal - Bank 2 Sensor 1

C

--

--

Not Available

D

0.8 PK

739

Ignition 1 Voltage

E

0.8 L-GN

3212

HO2S Heater Low Control - Bank 2 Sensor 1

High Idle Switch (UF3)


Object Number: 304345  Size: CH

Connector Part Information

  • OEM: 12177195
  • Service: 15305931
  • Description: 6-Way F Metri-Pack 150 Series (BK)

Terminal Part Information

  • Terminal/Tray: 12129484/19
  • Core/Insulation Crimp: E/C
  • Release Tool/Test Probe: 12094429/J-35616-2A (GY)

High Idle Switch (UF3)

Pin

Wire

Circuit

Function

A

0.5 BK

750

Ground

B

0.5 BK

750

Ground

C

0.5 D-GN

534

High Idle Switch Signal

D

0.5 BN

441

Ignition 3 Voltage

E

0.5 BN

2509

Left Rear Park Lamps Supply Voltage

F

0.5 BK

750

Ground

Horn


Object Number: 537107  Size: CH

Connector Part Information

  • OEM: 12052644
  • Service: See Catalog
  • Description: 2-Way F Metri-Pack 150 Series, Sealed (L-GY)

Terminal Part Information

  • Terminal/Tray: 12048074/2
  • Core/Insulation Crimp: 2/1
  • Release Tool/Test Probe: 12094429/J-35616-2A (GY)

Horn

Pin

Wire

Circuit

Function

A

1.0 BK

350

Battery Positive Voltage

B

1.0 D-GN

29

Horn Control

HVAC Control Assembly X1 (C40/C60)


Object Number: 68737  Size: CH

Connector Part Information

  • OEM: 12129489
  • Service: 12126486
  • Description: 3-Way F Metri-Pack 280 Series, Flexlock (BK)

Terminal Part Information

  • Terminal/Tray: 12110844/4
  • Core/Insulation Crimp: Pins A-B - C/A
  • Core/Insulation Crimp: Pins C - E/A
  • Release Tool/Test Probe: 15315247/J-35616-4A (PU)

HVAC Control Assembly X1 (C40/C60)

Pin

Wire

Circuit

Function

A

1.0 WH

119

Mode Door Control

B

1.0 BK

450

Ground

C

0.5 GY

8

Instrument Panel Lamps Dimmer Switch Signal

HVAC Control Assembly X2 (C40/C60)


Object Number: 62469  Size: CH

Connector Part Information

  • OEM: 12064998
  • Service: 15306189
  • Description: 8-Way F Metri-Pack 280 Series (BK)

Terminal Part Information

  • Terminal/Tray: 12066214/2
  • Core/Insulation Crimp: Pins A-E, G - F/D
  • Core/Insulation Crimp: Pins F, H - See Terminal Repair Kit
  • Release Tool/Test Probe: 12094430/J-35616-4A (PU)

HVAC Control Assembly X2 (C40/C60)

Pin

Wire

Circuit

Function

A

1.0 YE

60

Blower Motor Low Control

B

1.0 TN

63

Blower Motor Medium 1 Control

C

1.0 L-BU

72

Medium 2 Blower Motor Control

D

1.0 OG

52

Blower Motor High Control

E

1.0 BN

141

Ignition 3 Voltage

F

0.8 L-BU

733

Left Air Temperature Door Control

G

1.0 WH

119

Mode Door Control

H

0.8 L-GN

66

A/C Request Signal

HVAC Control Assembly X3 (C49)


Object Number: 62450  Size: CH

Connector Part Information

  • OEM: 12052856
  • Service: 12125636
  • Description: 4-Way F Metri-Pack 280 Series (BK)

Terminal Part Information

  • Pins: A, D
  • Terminal/Tray: 12015858/4
  • Core/Insulation Crimp: See Terminal Repair Kit
  • Release Tool/Test Probe: 12094430/J-35616-4A (PU)
  • Pins: B-C
  • Terminal/Tray: 12066214/2
  • Core/Insulation Crimp: F/D
  • Release Tool/Test Probe: 12094430/J-35616-4A (PU)

HVAC Control Assembly X3 (C49)

Pin

Wire

Circuit

Function

A

2.0 PU

1093

Rear Defog Element Supply Voltage

B

1.0 BN

141

Ignition 3 Voltage

C

1.0 BK

450

Ground

D

2.0 PU

293

Rear Defog Element Supply

HVAC Control Assembly - Auxiliary (C36)


Object Number: 284533  Size: CH

Connector Part Information

  • OEM: 12162066
  • Service: 15306189
  • Description: 8-Way F Metri-Pack 280 Series (GY)

Terminal Part Information

  • Pins: A-B, F-G
  • Terminal/Tray: 12066214/2
  • Core/Insulation Crimp: F/D
  • Release Tool/Test Probe: 12094430/J-35616-4A (PU)
  • Pins: E, H
  • Terminal/Tray: 12034046/2
  • Core/Insulation Crimp: E/A
  • Release Tool/Test Probe: 12094430/J-35616-4A (PU)

HVAC Control Assembly - Auxiliary (C36)

Pin

Wire

Circuit

Function

A

1.0 WH

1924

Auxiliary Blower Motor High Speed Control

B

1.0 RD

1925

Auxiliary Blower Motor Medium Speed Control

C-D

--

--

Not Used

E

0.8 BK

550

Ground

F

1.0 D-BU

1926

Auxiliary Blower Motor Low Speed Control

G

1.0 OG

1923

Auxiliary HVAC Switch Supply Voltage

H

0.5 GY

8

Instrument Panel Lamps Dimmer Switch Signal

Hydraulic CGI Actuator (LF6)


Object Number: 784092  Size: CH

Connector Part Information

  • OEM: 2407874
  • Service: See Catalog
  • Description: 2-Way F, Sealed (Caterpillar)

Terminal Part Information

  • Terminal/Tray: See Terminal Repair Kit
  • Core/Insulation Crimp: See Terminal Repair Kit
  • Release Tool/Test Probe: See Terminal Repair Kit

Hydraulic CGI Actuator (LF6)

Pin

Wire

Circuit

Function

1

0.8 BU

U774

CGI Actuator Signal

2

0.8 GY

U775

CGI Actuator Return

Identification (ID) Lamp - Center


Object Number: 410092  Size: CH

Connector Part Information

  • OEM: 6294702
  • Service: See Catalog
  • Description: 2-Way F Lamp Socket Wedge (NA)

Terminal Part Information

  • Terminal/Tray: See Terminal Repair Kit
  • Core/Insulation Crimp: See Terminal Repair Kit
  • Release Tool/Test Probe: See Terminal Repair Kit

Identification (ID) Lamp - Center

Pin

Wire

Circuit

Function

A

0.8 D-GN

21

Marker Lamps Supply Voltage

0.8 D-GN

21

Marker Lamps Supply Voltage

B

0.8 BK

750

Ground

0.8 BK

750

Ground

Identification (ID) Lamp - Left


Object Number: 410092  Size: CH

Connector Part Information

  • OEM: 6294702
  • Service: See Catalog
  • Description: 2-Way F Lamp Socket Wedge (NA)

Terminal Part Information

  • Terminal/Tray: See Terminal Repair Kit
  • Core/Insulation Crimp: See Terminal Repair Kit
  • Release Tool/Test Probe: See Terminal Repair Kit

Identification (ID) Lamp - Left

Pin

Wire

Circuit

Function

A

0.8 D-GN

21

Marker Lamps Supply Voltage

0.8 D-GN

21

Marker Lamps Supply Voltage

B

0.8 BK

750

Ground

0.8 BK

750

Ground

Identification (ID) Lamp - Right


Object Number: 410092  Size: CH

Connector Part Information

  • OEM: 6294702
  • Service: See Catalog
  • Description: 2-Way F Lamp Socket Wedge (NA)

Terminal Part Information

  • Terminal/Tray: See Terminal Repair Kit
  • Core/Insulation Crimp: See Terminal Repair Kit
  • Release Tool/Test Probe: See Terminal Repair Kit

Identification (ID) Lamp - Right

Pin

Wire

Circuit

Function

A

0.8 D-GN

21

Marker Lamps Supply Voltage

0.8 D-GN

21

Marker Lamps Supply Voltage

B

0.8 BK

750

Ground

0.8 BK

750

Ground

Ignition Coil 1 (L18)


Object Number: 280765  Size: CH

Connector Part Information

  • OEM: 12162144
  • Service: 12102741
  • Description: 4-Way F Metri-Pack 150 Series Sealed (BK)

Terminal Part Information

  • Terminal/Tray: See Terminal Repair Kit
  • Core/Insulation Crimp: See Terminal Repair Kit
  • Release Tool/Test Probe: See Terminal Repair Kit

Ignition Coil 1 (L18)

Pin

Wire

Circuit

Function

A

0.8 BK

250

Ground

B

0.8 BN

2129

Low Reference

C

0.8 PU

2121

IC 1 Control

D

0.8 PK

539

Ignition 1 Voltage

Ignition Coil 2 (L18)


Object Number: 280765  Size: CH

Connector Part Information

  • OEM: 12162144
  • Service: 12102741
  • Description: 4-Way F Metri-Pack 150 Series Sealed (BK)

Terminal Part Information

  • Terminal/Tray: See Terminal Repair Kit
  • Core/Insulation Crimp: See Terminal Repair Kit
  • Release Tool/Test Probe: See Terminal Repair Kit

Ignition Coil 2 (L18)

Pin

Wire

Circuit

Function

A

0.8 BK

250

Ground

B

0.8 BN

2130

Low Reference

C

0.8 PU

2122

IC 2 Control

D

0.8 PK

339

Ignition 1 Voltage

Ignition Coil 3 (L18)


Object Number: 280765  Size: CH

Connector Part Information

  • OEM: 12162144
  • Service: 12102741
  • Description: 4-Way F Metri-Pack 150 Series Sealed (BK)

Terminal Part Information

  • Terminal/Tray: See Terminal Repair Kit
  • Core/Insulation Crimp: See Terminal Repair Kit
  • Release Tool/Test Probe: See Terminal Repair Kit

Ignition Coil 3 (L18)

Pin

Wire

Circuit

Function

A

0.8 BK

250

Ground

B

0.8 BN

2129

Low Reference

C

0.8 PU

2123

IC 3 Control

D

0.8 PK

539

Ignition 1 Voltage

Ignition Coil 4 (L18)


Object Number: 280765  Size: CH

Connector Part Information

  • OEM: 12162144
  • Service: 12102741
  • Description: 4-Way F Metri-Pack 150 Series Sealed (BK)

Terminal Part Information

  • Terminal/Tray: See Terminal Repair Kit
  • Core/Insulation Crimp: See Terminal Repair Kit
  • Release Tool/Test Probe: See Terminal Repair Kit

Ignition Coil 4 (L18)

Pin

Wire

Circuit

Function

A

0.8 BK

250

Ground

B

0.8 BN

2130

Low Reference

C

0.8 PU

2124

IC 4 Control

D

0.8 PK

339

Ignition 1 Voltage

Ignition Coil 5 (L18)


Object Number: 280765  Size: CH

Connector Part Information

  • OEM: 12162144
  • Service: 12102741
  • Description: 4-Way F Metri-Pack 150 Series Sealed (BK)

Terminal Part Information

  • Terminal/Tray: See Terminal Repair Kit
  • Core/Insulation Crimp: See Terminal Repair Kit
  • Release Tool/Test Probe: See Terminal Repair Kit

Ignition Coil 5 (L18)

Pin

Wire

Circuit

Function

A

0.8 BK

250

Ground

B

0.8 BN

2129

Low Reference

C

0.8 PU

2125

IC 5 Control

D

0.8 PK

539

Ignition 1 Voltage

Ignition Coil 6 (L18)


Object Number: 280765  Size: CH

Connector Part Information

  • OEM: 12162144
  • Service: 12102741
  • Description: 4-Way F Metri-Pack 150 Series Sealed (BK)

Terminal Part Information

  • Terminal/Tray: See Terminal Repair Kit
  • Core/Insulation Crimp: See Terminal Repair Kit
  • Release Tool/Test Probe: See Terminal Repair Kit

Ignition Coil 6 (L18)

Pin

Wire

Circuit

Function

A

0.8 BK

250

Ground

B

0.8 BN

2130

Low Reference

C

0.8 PU

2126

IC 6 Control

D

0.8 PK

339

Ignition 1 Voltage

Ignition Coil 7 (L18)


Object Number: 280765  Size: CH

Connector Part Information

  • OEM: 12162144
  • Service: 12102741
  • Description: 4-Way F Metri-Pack 150 Series Sealed (BK)

Terminal Part Information

  • Terminal/Tray: See Terminal Repair Kit
  • Core/Insulation Crimp: See Terminal Repair Kit
  • Release Tool/Test Probe: See Terminal Repair Kit

Ignition Coil 7 (L18)

Pin

Wire

Circuit

Function

A

0.8 BK

250

Ground

B

0.8 BN

2129

Low Reference

C

0.8 PU

2127

IC 7 Control

D

0.8 PK

539

Ignition 1 Voltage

Ignition Coil 8 (L18)


Object Number: 280765  Size: CH

Connector Part Information

  • OEM: 12162144
  • Service: 12102741
  • Description: 4-Way F Metri-Pack 150 Series Sealed (BK)

Terminal Part Information

  • Terminal/Tray: See Terminal Repair Kit
  • Core/Insulation Crimp: See Terminal Repair Kit
  • Release Tool/Test Probe: See Terminal Repair Kit

Ignition Coil 8 (L18)

Pin

Wire

Circuit

Function

A

0.8 BK

250

Ground

B

0.8 BN

2130

Low Reference

C

0.8 PU

2128

IC 8 Control

D

0.8 PK

339

Ignition 1 Voltage

Ignition Coil (LF6)


Object Number: 1664596  Size: CH

Connector Part Information

  • OEM: 2304013
  • Service: See Catalog
  • Description: 3-Way F, Sealed (Caterpillar) (BK)

Terminal Part Information

  • Terminal/Tray: See Terminal Repair Kit
  • Core/Insulation Crimp: See Terminal Repair Kit
  • Release Tool/Test Probe: See Terminal Repair Kit

Ignition Coil (LF6)

Pin

Wire

Circuit

Function

1

0.8 YE

Y750

Ignition Coil Return

2

0.8 BK

200

Ground

3

0.8 OG

Y751

Ignition Coil Signal

Ignition Switch


Object Number: 857016  Size: CH

Connector Part Information

  • OEM: 10400853490
  • Service: See Catalog
  • Description: 7-Way F Kostal N Series (BK)

Terminal Part Information

  • Terminal/Tray: See Terminal Repair Kit
  • Core/Insulation Crimp: See Terminal Repair Kit
  • Release Tool/Test Probe: See Terminal Repair Kit

Ignition Switch

Pin

Wire

Circuit

Function

A

5.0 BN

4

Accessory Voltage

B

5.0 RD/WH

342

Battery Positive Voltage

C

5.0 PK

3

Ignition 1 Voltage

D

5.0 YE

5

Crank Voltage

E

5.0 WH

1390

Off/Run/Crank Voltage

F

3.0 RD

242

Battery Positive Voltage

G

5.0 OG

300

Ignition 3 Voltage

Inflatable Restraint Front End Discriminating Sensor (AJ3/AK5)


Object Number: 1282936  Size: CH

Connector Part Information

  • OEM: 15356724
  • Service: 15306418
  • Description: 2-Way F GT 150 Series (PU/YE)

Terminal Part Information

  • Terminal/Tray: 12191819/8
  • Core/Insulation Crimp: 2/A
  • Release Tool/Test Probe: 15315247/J-35616-2A (GY)

Inflatable Restraint Front End Discriminating Sensor (AJ3/AK5)

Pin

Wire

Circuit

Function

A

0.8 GY

2260

Front End Sensor - Return

B

0.8 YE

1834

Front End Sensor - Voltage

Inflatable Restraint I/P Module (AK5)


Object Number: 647932  Size: CH

Connector Part Information

  • OEM: 12186989
  • Service: 15306300
  • Description: 2-Way M Metri-Pack 280 Series Pull To Seat (YE)

Terminal Part Information

  • Terminal/Tray: 12066337/18
  • Core/Insulation Crimp: E/A
  • Release Tool/Test Probe: 12094429/J-35616-5 (PU)

Inflatable Restraint I/P Module (AK5)

Pin

Wire

Circuit

Function

A

0.5 WH/BK

1403

I/P Module - High Control

B

0.5 D-GN/WH

1404

I/P Module - Low Control

Inflatable Restraint I/P Module Disable Switch (AK5 without AQR)


Object Number: 362753  Size: CH

Connector Part Information

  • OEM: 15305286
  • Service: 15306014
  • Description: 6-Way F Metri-Pack 150 Series (YE)

Terminal Part Information

  • Terminal/Tray: 12129484/19
  • Core/Insulation Crimp: Pins A-B, D-E - E/C
  • Core/Insulation Crimp: Pins C, F - E/A
  • Release Tool/Test Probe: 12094429/J-35616-2A (GY)

Inflatable Restraint I/P Module Disable Switch (AK5 without AQR)

Pin

Wire

Circuit

Function

A

0.5 TN/BK

371

I/P Module Disable Switch - Signal

B

0.5 YE

1139

Ignition 1 Voltage

C

1.0 PU/WH

1382

LED Dimming Signal

D

0.5 GY

8

Instrument Panel Lamps Dimmer Switch Signal

E

0.5 PK

353

I/P Module Suppression Indicator Control

F

1.0 BK

750

Ground

Inflatable Restraint Resistor Module (AJ3)


Object Number: 232125  Size: CH

Connector Part Information

  • OEM: 12059433
  • Service: 12116930
  • Description: 4-Way F P/C Edgeboard (BK)

Terminal Part Information

  • Terminal/Tray: See Terminal Repair Kit
  • Core/Insulation Crimp: See Terminal Repair Kit
  • Release Tool/Test Probe: See Terminal Repair Kit

Inflatable Restraint Resistor Module (AJ3)

Pin

Wire

Circuit

Function

A

0.5 D-GN

1404

I/P Module - Low Control

B

0.5 WH/BK

1403

I/P Module - High Control

C

0.5 PK

353

I/P Module Suppression Indicator Control

D

0.5 YE

1139

Ignition 1 Voltage

Inflatable Restraint Sensing and Diagnostic Module (SDM) (AJ3/AK5)


Object Number: 1394178  Size: CH

Connector Part Information

  • OEM: 15357038
  • Service: See Catalog
  • Description: 34-Way F Micro-Pack 100 W 2.5 CL (YE)

Terminal Part Information

  • Terminal/Tray: 15435885/20
  • Core/Insulation Crimp: W/W
  • Release Tool/Test Probe: 12122523/J-35616-6 (BN)

Inflatable Restraint Sensing and Diagnostic Module (SDM) (AJ3/AK5)

Pin

Wire

Circuit

Function

A1

0.5 YE

1139

Ignition 1 Voltage

A2

--

--

Not Used

A3

0.5 WH/BK

1403

I/P Module - High Control

A4

0.5 D-BU

1128

SDM Class 2 Serial Data

A5

--

--

Not Used

A6

0.5 WH

347

Steering Wheel Module - High Control

A7

0.5 D-GN

348

Steering Wheel Module - Low Control

A8

0.8 D-GN/WH

1404

I/P Module - Low Control

A9

0.5 PK

353

I/P Module Suppression Indicator Control

A10

0.5 TN/BK

371

I/P Module Disable Switch - Signal

A11-A17

--

--

Not Used

A18

0.5 BK/WH

1751

Ground

B1-B4

--

--

Not Used

B5

0.5 YE

1834

Forward Discriminating Sensor Signal

B6

0.5 GY

2260

Forward Discriminating Return

B7-B8

--

--

Not Used

C1-C8

--

--

Not Used

Inflatable Restraint SIR Coil (AJ3/AK5)


Object Number: 647932  Size: CH

Connector Part Information

  • OEM: 12186989
  • Service: 15306300
  • Description: 2-Way M Metri-Pack 280 Series Pull To Seat (YE)

Terminal Part Information

  • Terminal/Tray: 12066337/18
  • Core/Insulation Crimp: E/A
  • Release Tool/Test Probe: 12094429/J-35616-5 (PU)

Inflatable Restraint SIR Coil (AJ3/AK5)

Pin

Wire

Circuit

Function

A

0.5 WH

347

Steering Wheel Module - High Control

B

0.5 D-GN

348

Steering Wheel Module - Low Control

Inflatable Restraint Steering Wheel Module (AJ3/AK5)


Object Number: 966360  Size: CH

Connector Part Information

  • OEM: 54560210
  • Service: See Catalog
  • Description: 2-Way F ABX-3 Code B (YE)

Terminal Part Information

  • Terminal/Tray: See Terminal Repair Kit
  • Core/Insulation Crimp: See Terminal Repair Kit
  • Release Tool/Test Probe: See Terminal Repair Kit

Inflatable Restraint Steering Wheel Module (AJ3/AK5)

Pin

Wire

Circuit

Function

A

0.5 WH

347

Steering Wheel Module - High Control

B

0.5 D-GN

348

Steering Wheel Module - Low Control

Inlet Air Temperature Sensor (LF6)


Object Number: 784092  Size: CH

Connector Part Information

  • OEM: 2407874
  • Service: See Catalog
  • Description: 2-Way F, Sealed (Caterpillar)

Terminal Part Information

  • Terminal/Tray: See Terminal Repair Kit
  • Core/Insulation Crimp: See Terminal Repair Kit
  • Release Tool/Test Probe: See Terminal Repair Kit

Inlet Air Temperature Sensor (LF6)

Pin

Wire

Circuit

Function

1

0.8 GN

C829

Ambient Air Temperature Sensor Signal

2

0.8 GN

G829

Low Reference

Instrument Panel Cluster (IPC)


Object Number: 62478  Size: CH

Connector Part Information

  • OEM: 12065803
  • Service: 12065803
  • Description: 34-Way F Micro-Pack 100 Series (BK)

Terminal Part Information

  • Terminal/Tray: 12146448/19
  • Core/Insulation Crimp: Pins A4, A9, A12-A13, A15, B5, B7-B8, B10-B15 - E/C
  • Core/Insulation Crimp: Pins A7-A8, A10-A11, A14, B6, B9 - E/A
  • Release Tool/Test Probe: 12031876-1/J-35616-6 (BN)

Instrument Panel Cluster (IPC)

Pin

Wire

Circuit

Function

A1-A3

--

--

Not Used

A4

0.8 OG

1140

Battery Positive Voltage

A5

0.5 D-GN/WH

7657

Regeneration Switch LED (-L18)

A6

--

--

Not Used

A7

1.0 D-BU

15

Right Turn Signal Lamps Supply Voltage Right Turn

A8

1.0 BK

750

Ground

A9

0.5 GY

8

Instrument Panel Lamps Dimmer Switch Signal

A10

1.0 L-BU

14

Left Turn Signal Lamps Supply Voltage

A11

2.0 L-GN

11

Headlamp High Beam Supply Voltage

A12

0.5 PK

39

Ignition 1 Voltage

A13

0.5 BN/WH

419

MIL Control

A14

1.0 PU/WH

1382

LED Dimming Signal

A15

0.5 GY

1036

IPC Class 2 Serial Data

A16-A17

--

--

Not Used

B1-B3

--

--

Not Used

B4

0.5 L-GN/BK

7656

Regeneration Switch Signal (-L18)

B5

0.5 PK

1020

Off/Run/Crank Voltage

B6

1.0 YE

43

Accessory Voltage

B7

0.5 L-GN

80

Key In Ignition Switch Signal

B8

0.5 BK/WH

746

Right Front Door Ajar Switch Signal

B9

1.0 BN

9

Park Lamp Supply Voltage

B10

0.5 L-BU

1134

Park Brake Switch Signal

B11

0.5 L-GN/BK

592

DRL Relay Control

B12

0.5 D-GN/WH

2662

Low Air Pressure Alarm Switch (JE4)

B13

0.5 WH

121

Engine Speed Signal

B14

0.5 D-GN/WH

817

Vehicle Speed Signal

B15

0.8 BK/WH

1451

Ground

B16-B17

--

--

Not Used

Intake Air (IA) Flow Valve (LF8)


Object Number: 1825564  Size: CH

Connector Part Information

  • OEM: 7383-8850-30
  • Service: See Catalog
  • Description: 6-Way F RH Series (BK)

Terminal Part Information

  • Terminal/Tray: See Terminal Repair Kit
  • Core/Insulation Crimp: See Terminal Repair Kit
  • Release Tool/Test Probe: See Terminal Repair Kit

Intake Air (IA) Flow Valve (LF8)

Pin

Wire

Circuit

Function

A

0.5 BK/YE

CF135

5-Volt Reference 1

B

0.5 WH

CF136

IA Sensor Signal

C

0.5 BK

CF137

Low Reference

D

--

--

Not Used

E

0.75 D-BU/BL

CF138

TAC Motor Control - 2

F

0.75 WH/BK

CF139

TAC Motor Control - 1

Intake Air (IA) Flow Valve (LMM)


Object Number: 1825564  Size: CH

Connector Part Information

  • OEM: 7283-8850-30
  • Service: See Catalog
  • Description: 6-Way F RH Series (BK)

Terminal Part Information

  • Terminal/Tray: See Terminal Repair Kit
  • Core/Insulation Crimp: See Terminal Repair Kit
  • Release Tool/Test Probe: See Terminal Repair Kit

Intake Air (IA) Flow Valve (LMM)

Pin

Wire

Circuit

Function

A

0.75 YE

581

TAC Motor Control - 1

B

0.75 BN

582

TAC Motor Control - 2

C

0.5 BK

2752

Low Reference

D

--

--

Not Used

E

0.5 D-GN

485

IA Sensor Signal

F

0.5 GY

2701

5-Volt Reference 1

Intake Air Heater (IAH) Module X1 (LMM)


Object Number: 1583743  Size: CH

Connector Part Information

  • OEM: DT16-6S-K002
  • Service: See Catalog
  • Description: 6-Way F, Sealed (GN)

Terminal Part Information

  • Terminal/Tray: Not Serviced

Intake Air Heater (IAH) Module X1 (LMM)

Pin

Wire

Circuit

Function

1

0.75 BK

IC180

IAH Temperature Signal

2

1.0 OG

IC181

IAH Command 1

3

0.75 YE

IC182

IAH Command 2

4

0.75 PK

IC183

IAH Current Status

5

0.75 TN

IC184

IAH Voltage Signal

6

0.75 RD

IC185

IAH Feedback Signal

Intake Air Heater (IAH) Module X2 (LMM)

Terminal Part Information

  • Terminal: 12146366
  • Core/Insulation Crimp: N/A
  • Description: Ring Terminal

Intake Air Heater (IAH) Module X2 (LMM)

Pin

Wire

Circuit

Function

+

19 RD

2

Battery Positive Voltage

Intake Air (IA) Heater Relay (LF6)

Terminal Part Information

  • Terminal: 12146366
  • Core/Insulation Crimp: N/A
  • Description: Ring Terminal

Intake Air (IA) Heater Relay (LF6)

Pin

Wire

Circuit

Function

87

13 RD

2

Battery Positive Voltage

Intake Air Temperature (IAT) Sensor 2 (LMM)


Object Number: 1578317  Size: CH

Connector Part Information

  • OEM: 7283-7020-10
  • Service: Service by Harness - See Part Catalog
  • Description: 2-Way F 2.3 Series, Sealed Yazaki (D-GY)

Terminal Part Information

  • Terminal/Tray: 7116-4025/11
  • Core/Insulation Crimp: E/1
  • Release Tool/Test Probe: 15313892/J-35616-18 (BK)

Intake Air Temperature (IAT) Sensor 2 (LMM)

Pin

Wire

Circuit

Function

A

0.5 L-BU

6118

IAT Sensor 2 Signal

B

0.5 YE/BK

6120

Low Reference

Intake Manifold Air Pressure (MAP) Sensor (LF6)


Object Number: 1664596  Size: CH

Connector Part Information

  • OEM: 2304013
  • Service: See Catalog
  • Description: 3-Way F, Sealed (Caterpillar) (BK)

Terminal Part Information

  • Terminal/Tray: See Terminal Repair Kit
  • Core/Insulation Crimp: See Terminal Repair Kit
  • Release Tool/Test Probe: See Terminal Repair Kit

Intake Manifold Air Pressure (MAP) Sensor (LF6)

Pin

Wire

Circuit

Function

1

0.8 BN

G826

5-Volt Reference

2

0.8 PK

G833

Low Reference

3

0.8 PK

R746

IMAP Sensor Signal

Intake Manifold Air Temperature (MAT) Sensor (LF6)


Object Number: 784092  Size: CH

Connector Part Information

  • OEM: 2304011
  • Service: See Catalog
  • Description: 2-Way F Sealed (Caterpillar)

Terminal Part Information

  • Terminal/Tray: See Terminal Repair Kit
  • Core/Insulation Crimp: See Terminal Repair Kit
  • Release Tool/Test Probe: See Terminal Repair Kit

Intake Manifold Air Temperature (MAT) Sensor (LF6)

Pin

Wire

Circuit

Function

1

0.8 BU

C967

IAT Sensor Signal

2

0.8 PK

G833

Low Reference

Intake Manifold Temperature (IMT) Sensor (LF8)


Object Number: 1578317  Size: CH

Connector Part Information

  • OEM: 7283-7020-10
  • Service: See Catalog
  • Description: 2-Way F 2.3 Series, Sealed (D-GY) (Yazaki)

Terminal Part Information

  • Terminal/Tray: 7116-4025/11
  • Core/Insulation Crimp: E/1
  • Release Tool/Test Probe: 15313892/J-35616-18 (BK)

Intake Manifold Temperature (IMT) Sensor (LF8)

Pin

Wire

Circuit

Function

A

0.5 BK

CF94

IMT Sensor Signal

B

0.5 RD

A19

Low Reference

Inter-Axle Differential Lock Switch (Tandem Axle)


Object Number: 646148  Size: CH

Connector Part Information

  • OEM: 12020599
  • Service: 12102664
  • Description: 2-Way F Metri-Pack 280 Series (BK)

Terminal Part Information

  • Terminal/Tray: 12077411/2
  • Core/Insulation Crimp: 2/5
  • Release Tool/Test Probe: 12094430/J-35616-4A (PU)

Inter-Axle Differential Lock Switch (Tandem Axle)

Pin

Wire

Circuit

Function

A

0.5 L-GN

2659

Rear Differential Lock-High-Control

B

0.5 BK

750

Ground

Inter-Axle Differential Lock Switch Lamp (Tandem Axle)


Object Number: 711794  Size: CH

Connector Part Information

  • OEM: 12103827
  • Service: 89046628
  • Description: 2-Way F Sprague (NA)

Terminal Part Information

  • Terminal/Tray: See Terminal Repair Kit
  • Core/Insulation Crimp: See Terminal Repair Kit
  • Release Tool/Test Probe: See Terminal Repair Kit

Inter-Axle Differential Lock Switch Lamp (Tandem Axle)

Pin

Wire

Circuit

Function

1

0.5 BN

2509

Left Rear Park Lamps Supply Voltage

2

0.5 BK

750

Ground

Internal Mode Switch (IMS) (LCT)


Object Number: 73215  Size: CH

Connector Part Information

  • OEM: 29543226
  • Service: See Catalog
  • Description: 6-Way F Metri-Pack 150.2 Series Pull-to-Seat (NA)

Terminal Part Information

  • Terminal/Tray: See Terminal Repair Kit
  • Core/Insulation Crimp: See Terminal Repair Kit
  • Release Tool/Test Probe: See Terminal Repair Kit

Internal Mode Switch (IMS) (LCT)

Pin

Wire

Circuit

Function

A

0.8 OG

1786

Internal Mode Switch Signal NS

B

0.8 WH

776

Internal Mode Switch Signal P

C

0.8 BU

771

Internal Mode Switch Signal A

D

0.8 YE

772

Internal Mode Switch Signal B

E

0.8 GY

773

Internal Mode Switch Signal C

F

0.8 GN

407

Low Reference

Junction Block - Isolator (Engine Chassis) (VNF)

Terminal Part Information

  • Harness: Engine Chassis
  • Terminal: 12146745
  • Core/Insulation Crimp: N/A
  • Description: Ring Terminal

Junction Block - Isolator (Engine Chassis) (VNF)

Pin

Wire

Circuit

Function

+

19.0 BK

2

Battery Positive Voltage

Junction Block - Isolator (Battery Isolator) (VNF)

Terminal Part Information

  • Harness: Battery Isolator
  • Terminal: 12146744
  • Core/Insulation Crimp: N/A
  • Description: Ring Terminal

Junction Block - Isolator (Battery Isolator) (VNF)

Pin

Wire

Circuit

Function

+

32.0 BK

2653

Battery Positive Voltage

Junction Block - Isolator ( Engine Chassis) (VNF with K65)

Terminal Part Information

  • Harness: Engine Chassis
  • Terminal: 12146745
  • Core/Insulation Crimp: N/A
  • Description: Ring Terminal

Junction Block - Isolator ( Engine Chassis) (VNF with K65)

Pin

Wire

Circuit

Function

+

19.0 BK

2

Battery Positive Voltage

Junction Block - Underhood X1 (L18)

Terminal Part Information

  • Terminal: 12146360
  • Core/Insulation Crimp: N/A
  • Description: Ring Terminal

Junction Block - Underhood X1 (L18)

Pin

Wire

Circuit

Function

+

32.0 BK

2653

Battery Positive Voltage

Junction Block - Underhood X1 (LF6/LF8/LMM)

Terminal Part Information

  • Terminal: 12103010
  • Core/Insulation Crimp: N/A
  • Description: Ring Terminal

Junction Block - Underhood X1 (LF6/LF8/LMM)

Pin

Wire

Circuit

Function

+

50.0 BK

2653

Battery Positive Voltage

Junction Block - Underhood X2 (Engine Chassis)

Terminal Part Information

  • Harness: Engine Chassis
  • Terminal: 12146360
  • Core/Insulation Crimp: N/A
  • Description: Ring Terminal

Junction Block - Underhood X2 (Engine Chassis)

Pin

Wire

Circuit

Function

+

32.0 RD

1

Battery Positive Voltage

Junction Block - Underhood X2 (Instrument Panel)

Terminal Part Information

  • Harness: Instrument Panel
  • Terminal: 12146362
  • Core/Insulation Crimp: N/A
  • Description: Ring Terminal

Junction Block - Underhood X2 (Instrument Panel)

Pin

Wire

Circuit

Function

+

19.0 RD

1

Battery Positive Voltage

Knock Sensor (KS) 1 (L18)


Object Number: 696956  Size: CH

Connector Part Information

  • OEM: 15355362
  • Service: 15306376
  • Description: 1-Way F Metri-Pack 150 Series Sealed (NA)

Terminal Part Information

  • Terminal/Tray: 12048074/2
  • Core/Insulation Crimp: E/1
  • Release Tool/Test Probe: 12094429/J-35616-2A (GY)

Knock Sensor (KS) 1 (L18)

Pin

Wire

Circuit

Function

1

0.8 D-BU

496

Knock Sensor 1 Signal

Knock Sensor (KS) 2 (L18)


Object Number: 696956  Size: CH

Connector Part Information

  • OEM: 15355362
  • Service: 15306376
  • Description: 1-Way F Metri-Pack 150 Series Sealed (NA)

Terminal Part Information

  • Terminal/Tray: See Terminal Repair Kit
  • Core/Insulation Crimp: See Terminal Repair Kit
  • Release Tool/Test Probe: See Terminal Repair Kit

Knock Sensor (KS) 2 (L18)

Pin

Wire

Circuit

Function

1

0.8 L-BU

1876

Knock Sensor 2 Signal

Low Air Pressure Switch - Primary (JE4)


Object Number: 516616  Size: CH

Connector Part Information

  • OEM: 12065400
  • Service: See Catalog
  • Description: 2-Way F Metri-Pack 150 Series (L-GN)

Terminal Part Information

  • Terminal/Tray: See Terminal Repair Kit
  • Core/Insulation Crimp: See Terminal Repair Kit
  • Release Tool/Test Probe: See Terminal Repair Kit

Low Air Pressure Switch - Primary (JE4)

Pin

Wire

Circuit

Function

A

0.8 BK

350

Ground

B

0.8 D-GN/WH

2662

Low Air Pressure Switch Signal

C-D

--

--

Not Available

Low Air Pressure Switch - Secondary (JE4)


Object Number: 516616  Size: CH

Connector Part Information

  • OEM: 12065400
  • Service: See Catalog
  • Description: 2-Way F Metri-Pack 150 Series (L-GN)

Terminal Part Information

  • Terminal/Tray: See Terminal Repair Kit
  • Core/Insulation Crimp: See Terminal Repair Kit
  • Release Tool/Test Probe: See Terminal Repair Kit

Low Air Pressure Switch - Secondary (JE4)

Pin

Wire

Circuit

Function

A

0.8 BK

350

Ground

B

0.8 D-GN/WH

2662

Low Air Pressure Switch Signal

C-D

--

--

Not Available

Main Mode Solenoid (LCT)


Object Number: 82345  Size: CH

Connector Part Information

  • OEM: 12146094
  • Service: 12146094
  • Description: 2-Way F Metri-Pack 150.2 Series Pull-to-Seat (GY)

Terminal Part Information

  • Terminal/Tray: See Terminal Repair Kit
  • Core/Insulation Crimp: See Terminal Repair Kit
  • Release Tool/Test Probe: See Terminal Repair Kit

Main Mode Solenoid (LCT)

Pin

Wire

Circuit

Function

A

0.8 OG

2528

12-Volt Reference

B

0.8 BU

1530

Transmission Mainline Pressure Solenoid Control

Manifold Absolute Pressure (MAP) Sensor (L18/LMM)


Object Number: 684840  Size: CH

Connector Part Information

  • OEM: 12129946
  • Service: 88987997
  • Description: 3-Way F Metri-Pack 150 Series Sealed (GY)

Terminal Part Information

  • Terminal/Tray: 12048074/2
  • Core/Insulation Crimp: E/1
  • Release Tool/Test Probe: 12094429/J-35616-2A (GY)

Manifold Absolute Pressure (MAP) Sensor (L18/LMM)

Pin

Wire

Circuit

Function

A

0.5 OG/BK

469

Low Reference

B

0.5 L-GN

432

MAP Sensor Signal

C

0.5 GY

2704 (LMM)

5-Volt Reference

597 (L18)

Manifold Absolute Pressure (MAP) Sensor (LF6)


Object Number: 1664596  Size: CH

Connector Part Information

  • OEM: 2304013
  • Service: See Catalog
  • Description: 3-Way F, Sealed (Caterpillar) (BK)

Terminal Part Information

  • Terminal/Tray: See Terminal Repair Kit
  • Core/Insulation Crimp: See Terminal Repair Kit
  • Release Tool/Test Probe: See Terminal Repair Kit

Manifold Absolute Pressure (MAP) Sensor (LF6)

Pin

Wire

Circuit

Function

1

0.8 WH

G828

5-Volt Reference

2

0.8 GN

G829

Low Reference

3

0.8 WH

U780

MAP Sensor Signal

Manifold Absolute Pressure (MAP) Sensor (LF8)


Object Number: 1998240  Size: CH

Connector Part Information

  • OEM: 7323-1339-30
  • Service: 88987997
  • Description: 3-Way F, Sealed Yazaki (BK)

Terminal Part Information

  • Terminal/Tray: See Terminal Repair Kit
  • Core/Insulation Crimp: See Terminal Repair Kit
  • Release Tool/Test Probe: See Terminal Repair Kit

Manifold Absolute Pressure (MAP) Sensor (LF8)

Pin

Wire

Circuit

Function

A

0.5 WH

CF51

MAP Sensor Signal

B

0.5 BK

CF52

Low Reference

C

0.5 RD

CF50

5-Volt Reference

Marker Lamps Switch (without UZA)


Object Number: 40446  Size: CH

Connector Part Information

  • OEM: 12177194
  • Service: 15305927
  • Description: 6-Way F Metri-Pack 150 Series (WH)

Terminal Part Information

  • Terminal/Tray: 12129484/19
  • Core/Insulation Crimp: E/C
  • Release Tool/Test Probe: 12094429/J-35616-2A (GY)

Marker Lamps Switch (without UZA)

Pin

Wire

Circuit

Function

A

0.5 BK

750

Ground

B

0.5 BK

750

Ground

C

0.5 OG/BK

2666

Battery Positive Voltage

D

--

--

Not Used

E

0.5 BN

2509

Left Rear Park Lamps Supply Voltage

F

--

--

Not Used

Mass Air Flow (MAF) Temperature Sensor (LF6)


Object Number: 1566785  Size: CH

Connector Part Information

  • OEM: 2610524
  • Service: See Catalog
  • Description: 4-Way F, Sealed (Caterpillar) (BK)

Terminal Part Information

  • Terminal/Tray: See Terminal Repair Kit
  • Core/Insulation Crimp: See Terminal Repair Kit
  • Release Tool/Test Probe: See Terminal Repair Kit

Mass Air Flow (MAF) Temperature Sensor (LF6)

Pin

Wire

Circuit

Function

1

0.8 WH

G828

5-Volt Reference

2

0.8 GN

G829

Low Reference

3

0.8 PU

U773

MAF Temperature Sensor Signal

4

--

--

Not Used

Mass Air Flow (MAF)/Intake Air Temperature (IAT) Sensor (L18)


Object Number: 366067  Size: CH

Connector Part Information

  • OEM: 15305555
  • Service: 15306113
  • Description: 5-Way F Metri-Pack 150 Series Sealed (BK)

Terminal Part Information

  • Terminal/Tray: 15326267/19
  • Core/Insulation Crimp: Pins A-B, E - E/4
  • Core/Insulation Crimp: Pins C-D - E/1
  • Release Tool/Test Probe: 15315247/J-35616-2A (GY)

Mass Air Flow (MAF)/Intake Air Temperature (IAT) Sensor (L18)

Pin

Wire

Circuit

Function

A

0.5 BK

552

Low Reference

B

0.5 TN

472

IAT Sensor Signal

C

0.8 BK/WH

351

Ground

D

0.8 PK

239

Ignition 1 Voltage

E

0.5 YE

492

MAF Sensor Signal

Mass Air Flow (MAF)/Intake Air Temperature (IAT) Sensor (LF8)


Object Number: 1399241  Size: CH

Connector Part Information

  • OEM: 6189-1046
  • Service: See Catalog
  • Description: 5-Way F TS Series, Sealed, Sumitomo (BK)

Terminal Part Information

  • Terminal/Tray: See Terminal Repair Kit
  • Core/Insulation Crimp: See Terminal Repair Kit
  • Release Tool/Test Probe: See Terminal Repair Kit

Mass Air Flow (MAF)/Intake Air Temperature (IAT) Sensor (LF8)

Pin

Wire

Circuit

Function

1

0.5 RD

DF15

Ignition 1 Voltage

2

0.5 BK

DF17

Low Reference

3

0.5 WH

DF16

MAF Sensor Signal

4

0.5 D-GN/WH

DF13

IAT Sensor Signal

5

0.5 BK

DF14

Low Reference

Mass Air Flow (MAF)Sensor/Intake Air Temperature (IAT) Sensor (LMM)


Object Number: 1399241  Size: CH

Connector Part Information

  • OEM: 15443141
  • Service: See Catalog
  • Description: 5-Way F Sealed (BK)

Terminal Part Information

  • Terminal/Tray: 8100-3456/Sumitomo26
  • Core/Insulation Crimp: K/K
  • Release Tool/Test Probe: 15315247/J-35616-64B (L-BU)

Mass Air Flow (MAF)Sensor/Intake Air Temperature (IAT) Sensor (LMM)

Pin

Wire

Circuit

Function

1

0.5 YE

492

MAF Sensor Signal

2

0.5 BK

476

Low Reference

3

0.5 PK

239

Ignition 1 Voltage

4

0.5 BK

552

Low Reference

5

0.5 TN

472

IAT Sensor 1 Signal

Outside Rearview Mirror Switch (DB6)


Object Number: 62439  Size: CH

Connector Part Information

  • OEM: 12047886
  • Service: 12101822
  • Description: 8-Way F Metri-Pack 150 Series (BK)

Terminal Part Information

  • Terminal/Tray: 12047767/2
  • Core/Insulation Crimp: E/A
  • Release Tool/Test Probe: 12094429/J-35616-2A (GY)

Outside Rearview Mirror Switch (DB6)

Pin

Wire

Circuit

Function

A

0.8 GY

90

Mirror Motor Left Control

B

0.8 BN/WH

1498

Passenger Mirror Motor Up Control

C

0.8 L-BU/WH

1497

Passenger Mirror Motor Left/Down Control

D

0.8 BK

450

Ground

E

1.0 OG

540

Battery Positive Voltage

F

0.8 YE

1517

Driver Mirror Switch Up Signal

G

0.8 L-BU

1516

Driver Mirror Switch Left Signal

H

0.8 L-GN

1499

Driver Mirror Motor Left/Down Control

Outside Rearview Mirror Switch (DB6/DB8)


Object Number: 40422  Size: CH

Connector Part Information

  • OEM: 12064762
  • Service: 12125665
  • Description: 6-Way F Metri-Pack 150 Series (L-GY)

Terminal Part Information

  • Pins: A, C-D
  • Terminal/Tray: 12047767/2
  • Core/Insulation Crimp: E/A
  • Release Tool/Test Probe: 12094429/J-35616-2A (GY)
  • Pins: B, E-F
  • Terminal/Tray: 12064971/5
  • Core/Insulation Crimp: E/C
  • Release Tool/Test Probe: 12094429/J-35616-2A (GY)

Outside Rearview Mirror Switch (DB6/DB8)

Pin

Wire

Circuit

Function

A

0.8 BN

641

Ignition 3 Voltage

B

0.5 BN

2509

Left Rear Park Lamps Supply Voltage

C

0.8 OG

267

Heated Mirror Supply Voltage

D

0.8 OG

267

Heated Mirror Supply Voltage

E

0.5 BK

750

Ground

F

0.5 BK

750

Ground

Outside Rearview Mirror - Driver (DB6/DB7/DB8)


Object Number: 684916  Size: CH

Connector Part Information

  • OEM: 15326840
  • Service: 15326840
  • Description: 8-Way M GT 150 Sealed 4.0 (BK)

Terminal Part Information

  • Terminal/Tray: 15326269/19
  • Core/Insulation Crimp: E/1
  • Release Tool/Test Probe: 15315247/J-35616-3 (GY)

Outside Rearview Mirror - Driver (DB6/DB7/DB8)

Pin

Wire

Circuit

Function

A

0.8 BK

550

Ground (DB6/DB8)

B

0.8 BK

550

Ground (DB6/DB7)

C

0.8 L-GN

1499

Driver Mirror Motor Left/Down Control (DB6)

D

0.8 YE

1517

Driver Mirror Switch Up Signal (DB6)

E

--

--

Not Used

F

0.8 L-BU

1516

Driver Mirror Switch Left Signal (DB6)

G

0.8 D-GN

21

Marker Lamps Supply Voltage (DB6/DB7)

H

0.8 OG

267

Heated Mirror Supply Voltage (DB6/DB8)

Outside Rearview Mirror - Passenger (DB6/DB7/DB8)


Object Number: 684916  Size: CH

Connector Part Information

  • OEM: 15326840
  • Service: 15326840
  • Description: 8-Way M GT 150 Sealed 4.0 (BK)

Terminal Part Information

  • Terminal/Tray: 15326269/19
  • Core/Insulation Crimp: E/1
  • Release Tool/Test Probe: 15315247/J-35616-3 (GY)

Outside Rearview Mirror - Passenger (DB6/DB7/DB8)

Pin

Wire

Circuit

Function

A

0.8 BK

550

Ground (DB6/DB8)

B

0.8 BK

550

Ground (DB6/DB7)

C

0.8 L-GN

1499

Passenger Mirror Motor Left/Down Control (DB6)

D

0.8 YE

1517

Passenger Mirror Switch Up Signal (DB6)

E

--

--

Not Used

F

0.8 L-BU

1516

Passenger Mirror Switch Left Signal (DB6)

G

0.8 D-GN

21

Marker Lamps Supply Voltage (DB6/DB7)

H

0.8 OG

267

Heated Mirror Supply Voltage (DB6/DB8)

Overdrive Defeat Switch (LCT)


Object Number: 40422  Size: CH

Connector Part Information

  • OEM: 12064762
  • Service: 12125665
  • Description: 6-Way F Metri-Pack 150 Series (L-GY)

Terminal Part Information

  • Terminal/Tray: 12064971/5
  • Core/Insulation Crimp: E/C
  • Release Tool/Test Probe: 12094429/J-35616-2A (GY)

Overdrive Defeat Switch (LCT)

Pin

Wire

Circuit

Function

A

0.5 BK

750

Ground

B

0.5 BK

750

Ground

C

0.5 TN/WH

2678

Overdrive Defeat Switch Signal

D

0.5 PK

239

Ignition 1 Voltage

E

0.5 BN

2509

Left Rear Park Lamps Supply Voltage

F

0.5 TN/WH

2678

Overdrive Defeat Switch Signal

Park Brake Switch (C4/C5 with JE3) (Foot Operated)


Object Number: 856503  Size: CH

Connector Part Information

  • OEM: 8911256
  • Service: See Catalog
  • Description: 1-Way F (WH)

Terminal Part Information

  • Terminal/Tray: See Terminal Repair Kit
  • Core/Insulation Crimp: See Terminal Repair Kit
  • Release Tool/Test Probe: See Terminal Repair Kit

Park Brake Switch (C4/C5 with JE3) (Foot Operated)

Pin

Wire

Circuit

Function

A

0.5 L-BU

1134

Park Brake Switch Signal

Park Brake Switch (JE3) (Hand Operated)


Object Number: 856501  Size: CH

Connector Part Information

  • OEM: 2977373
  • Service: See Catalog
  • Description: 2-Way F (GY)

Terminal Part Information

  • Terminal/Tray: 12124515/1
  • Core/Insulation Crimp: C/D
  • Release Tool/Test Probe: 12094430/J-35616-42 (RD)

Park Brake Switch (JE3) (Hand Operated)

Pin

Wire

Circuit

Function

A

0.5 L-BU

1134

Park Brake Switch Signal

B

0.5 BK

750

Ground

Park Brake Switch (JE4)


Object Number: 876326  Size: CH

Connector Part Information

  • OEM: 12065402
  • Service: 12125695
  • Description: 2-Way F Metri-Pack 150 Series Sealed (BN)

Terminal Part Information

  • Terminal/Tray: 12048074/2
  • Core/Insulation Crimp: E/1
  • Release Tool/Test Probe: 12094429/J-35616-2A (GY)

Park Brake Switch (JE4)

Pin

Wire

Circuit

Function

A-B

--

--

Not Available

C

0.5 L-BU

1134

Park Brake Switch Signal

D

0.5 BK

750

Ground

Park/Turn Signal Lamp - Left Front


Object Number: 73223  Size: CH

Connector Part Information

  • OEM: 12162182
  • Service: 12085483
  • Description: 3-Way F Metri-Pack 150.2 Series, Sealed Pull To Seat (BK)

Terminal Part Information

  • Terminal/Tray: 12124075/5
  • Core/Insulation Crimp: C/A
  • Release Tool/Test Probe: 12180559-1/J-35616-2A (GY)

Park/Turn Signal Lamp - Left Front

Pin

Wire

Circuit

Function

A

1.0 L-BU

14

Left Turn Signal Lamps Supply Voltage

B

1.0 BK

350

Ground

C

1.0 BN

2509

Left Rear Park Lamps Supply Voltage

Park/Turn Signal Lamp - Right Front


Object Number: 73223  Size: CH

Connector Part Information

  • OEM: 12162182
  • Service: 12085483
  • Description: 3-Way F Metri-Pack 150.2 Series, Sealed Pull To Seat (BK)

Terminal Part Information

  • Terminal/Tray: 12124075/5
  • Core/Insulation Crimp: C/A
  • Release Tool/Test Probe: 12180559-1/J-35616-2A (GY)

Park/Turn Signal Lamp - Right Front

Pin

Wire

Circuit

Function

A

1.0 D-BU

15

Left Turn Signal Lamps Supply Voltage

B

1.0 BK

350

Ground

C

1.0 BN

2609

Right Rear Park Lamps Supply Voltage

Particulate Trap Differential (PTD) Pressure Sensor (LF6)


Object Number: 1664596  Size: CH

Connector Part Information

  • OEM: 2304013
  • Service: See Catalog
  • Description: 3-Way F, Sealed (Caterpillar) (BK)

Terminal Part Information

  • Terminal/Tray: See Terminal Repair Kit
  • Core/Insulation Crimp: See Terminal Repair Kit
  • Release Tool/Test Probe: See Terminal Repair Kit

Particulate Trap Differential (PTD) Pressure Sensor (LF6)

Pin

Wire

Circuit

Function

1

1.0 WH

Y748

5-Volt Reference

2

1.0 GN

Y749

Low Reference

3

1.0 RD

Y746

PDT Pressure Sensor Signal

Particulate Trap Temperature (PTT) Sensor (LF6)


Object Number: 1566785  Size: CH

Connector Part Information

  • OEM: 2305008
  • Service: See Catalog
  • Description: 4-Way F, Sealed (Caterpillar) (BK)

Terminal Part Information

  • Terminal/Tray: See Terminal Repair Kit
  • Core/Insulation Crimp: See Terminal Repair Kit
  • Release Tool/Test Probe: See Terminal Repair Kit

Particulate Trap Temperature (PTT) Sensor (LF6)

Pin

Wire

Circuit

Function

1

1.0 WH

Y748

5-Volt Reference

2

1.0 BU

Y745

Low Reference

3

1.0 YE

Y741

Trap Intake Temperature Sensor Signal

4

1.0 GN

Y742

Trap Outlet Temperature Sensor Signal

Power Take-Off (PTO) Switch


Object Number: 304344  Size: CH

Connector Part Information

  • OEM: 12177196
  • Service: 15305918
  • Description: 6-Way F Metri-Pack 150 Series (BN)

Terminal Part Information

  • Terminal/Tray: 12129484/19
  • Core/Insulation Crimp: E/C
  • Release Tool/Test Probe: 12094429/J-35616-2A (GY)

Power Take-Off (PTO) Switch

Pin

Wire

Circuit

Function

A

0.5 PK

239

Ignition 1 Voltage

B

0.5 BN

2509

Left Rear Park Lamps Supply Voltage

C

0.5 L-GN

488

PTO On Switch Signal

D

0.5 L-GN

488

PTO On Switch Signal

E

0.5 BK

750

Ground

F

0.5 BK

750

Ground

Powertrain Control Module (PCM) X1


Object Number: 73173  Size: CH

Connector Part Information

  • OEM: 12191110
  • Service: 12167308
  • Description: 80-Way F Micro-Pack 100W, Sealed (BU)

Terminal Part Information

  • Terminal/Tray: See Terminal Repair Kit
  • Core/Insulation Crimp: See Terminal Repair Kit
  • Release Tool/Test Probe: See Terminal Repair Kit

Powertrain Control Module (PCM) X1

Pin

Wire

Circuit

Function

1

0.8 BK/WH

351

Ground

2

0.5 L-GN

1867

12-Volt Reference

3

0.5 PK/BK

1746

Fuel Injector 3 Control

4

0.5 L-GN/BK

1745

Fuel Injector 2 Control

5-6

--

--

Not Used

7

0.8 GY

705

5-Volt Reference

8-10

--

--

Not Used

11

0.8 L-BU

1876

KS 2 Signal

12

0.5 D-BU/WH

1869

CKP Sensor Signal

13

0.8 OG/BK

463

Requested Torque Signal (LCT)

14

0.5 OG/BK

1061

UART Serial Data (Secondary)

15

0.5 D-BU/WH

774

UART Serial Data (Tertiary)

16-18

--

--

Not Used

19

0.8 PK

439

Ignition 1 Voltage

20

0.8 OG

440

Battery Positive Voltage

21

0.5 YE/BK

1868

Low Reference

22

0.5 L-GN

488

PTO On Switch Signal

23

0.8 BK

470

Low Reference

24

0.8 BK/WH

251

Ground

25

--

--

Not Used

26

0.8 TN

1667

HO2S Low Signal - Bank 2 Sensor 1

27

0.8 BK/WH

251

Ground

28

--

--

Not Used

29

0.8 TN

1664

HO2S Low Signal - Bank 1 Sensor 1

30

0.5 L-GN

1478

Coolant Level Switch Signal

31

0.8 D-GN

534

High Idle Switch Signal

32

--

--

Not Used

33

0.5 PU

420

TCC Brake Switch/Cruise Control Release Signal

34

0.8 OG/BK

1786

Park/Neutral Signal (Automatic Transmission)

35

0.5 BN/WH

379

CPP Switch Signal (Manual Transmission)

36

0.5 BK

1744

Fuel Injector 1 Control

37

0.5 YE/BK

846

Fuel Injector 6 Control

38

--

--

Not Used

39

0.8 YE

447

Starter Relay Coil Control

40

0.8 BK/WH

351

Ground

41-42

--

--

Not Used

43

0.5 RD/BK

877

Fuel Injector 7 Control

44

0.5 L-BU/BK

844

Fuel Injector 4 Control

45-47

--

--

Not Used

48

0.5 GY

597

5-Volt Reference

49-50

--

--

Not Used

51

0.8 D-BU

496

KS 1 Signal

52

0.8 YE

2522

PTO Engage Signal

53

--

--

Not Used

54

0.5 OG/BK

469

Low Reference

55-56

--

--

Not Used

57

0.8 OG

440

Battery Positive Voltage

58

0.5 D-GN

1049

ECM/PCM/VCM Class 2 Serial Data

59-60

--

--

Not Used

61

0.5 PK/BK

632

Low Reference

62

--

--

Not Used

63

0.8 BK

407

Low Reference

64-65

--

--

Not Used

66

0.8 PU

1666

HO2S High Signal - Bank 2 Sensor 1

67-68

--

--

Not Used

69

0.8 PU/WH

1665

HO2S High Signal - Bank 1 Sensor 1

70

0.8 BN

1174

Oil Level Switch Signal

71

0.8 L-BU

494

Primary Brake Indicator Control

72

--

--

Not Used

73

0.5 BN/WH

633

CMP Sensor Signal

74

0.5 YE

410

ECT Sensor Signal

75

0.8 PK

1020

Off/Run/Crank Voltage

76

0.5 BK/WH

845

Fuel Injector 5 Control

77

0.5 D-BU/WH

878

Fuel Injector 8 Control

78

0.5 PU

2562

PTO Control

79

--

--

Not Used

80

0.5 GY

720

Low Reference

Powertrain Control Module (PCM) X2


Object Number: 73173  Size: CH

Connector Part Information

  • OEM: 12191110
  • Service: 12167308
  • Description: 80-Way F Micro-Pack 100W, Sealed (GN)

Terminal Part Information

  • Terminal/Tray: See Terminal Repair Kit
  • Core/Insulation Crimp: See Terminal Repair Kit
  • Release Tool/Test Probe: See Terminal Repair Kit

Powertrain Control Module (PCM) X2

Pin

Wire

Circuit

Function

1

0.8 BK/WH

351

Ground

2

0.8 WH

2467

Crankshaft Sensor Supply Voltage (LCT)

3

0.5 TN

1465

Fuel Pump Relay Control - Secondary

4

--

--

Not Used

5

0.8 TN/BK

464

Delivered Torque Signal (LCT)

6-8

--

--

Not Used

9

0.8 D-GN/WH

465

Fuel Pump Relay Control - Primary

10

0.5 WH

121

Engine Speed Signal

11-14

--

--

Not Used

15

0.8 BN

25

Charge Indicator Control

16

--

--

Not Used

17

0.8 D-GN/WH

762

A/C Request Signal

18

--

--

Not Used

19

0.8 GY/BK

1467

Air Shift Switch Signal (w/HPZ)

20

0.8 D-GN

2222

Signal Low - Rear (Manual Transmission)

21

0.8 L-BU

2221

Signal High - Rear

22-24

--

--

Not Used

25

0.5 TN

472

IAT Sensor Signal

26

0.5 PU

2121

IC 1 Control

27

0.5 RD

2127

IC 7 Control

28

0.5 L-BU/WH

2126

IC 6 Control

29

0.5 D-GN/WH

2124

IC 4 Control

30

--

--

Not Used

31

0.5 YE

492

MAF Sensor Signal

32

0.5 L-GN

432

MAP Sensor Signal

33

--

--

Not Used

34

0.8 D-GN/WH

428

EVAP Canister Purge Solenoid Control

35-38

--

--

Not Used

39

0.5 RD

631

12-Volt Reference

40

0.8 BK/WH

351

Ground

41-42

--

--

Not Used

43

0.5 D-GN/WH

459

A/C Compressor Clutch Relay Control

44

0.8 RD

2013

High Idle Indicator Control

45

--

--

Not Used

46

0.5 BN/WH

419

MIL Control

47-48

--

--

Not Used

49

0.8 YE/BK

1827

Vehicle Speed Signal

50

0.5 D-GN/W

817

Vehicle Speed Signal

51-53

--

--

Not Used

54

0.8 PU

1589

Fuel Level Sensor Signal - Primary

55

0.5 D-GN

603

Low Coolant Indicator Control

56

--

--

Not Used

57

0.5 BK

552

Low Reference

58

0.8 TN/WH

332

Oil Pressure Sensor Signal

59

0.8 PU

806

Crank Voltage (Automatic Transmission)

D-GN

1433

PNP/Clutch Start Switch Signal (Manual Transmission)

60

0.8 BN

2129

Low Reference

61

0.8 BN/WH

2130

Low Reference

62-65

--

--

Not Used

66

0.5 PU/WH

2128

IC 8 Control

67

0.5 RD/WH

2122

IC 2 Control

68

0.5 D-GN

2125

IC 5 Control

69

0.5 L-BU

2123

IC 3 Control

70-71

--

--

Not Used

72

0.8 BK/WH

3213

HO2S Heater High Control - Bank 2 Sensor 1

73

0.5 D-BU

1936

Fuel Level Sensor Signal - Secondary

74

0.8 L-GN

3212

HO2S Heater Low Control - Bank 2 Sensor 1

75

0.8 GY

23

Generator Field Duty Cycle Signal

76-80

--

--

Not Used

Pressure Control (PC) Solenoid Valve 1 (LCT)


Object Number: 711794  Size: CH

Connector Part Information

  • OEM: 15326727
  • Service: See Catalog
  • Description: 2-Way F SRS Faston (NA)

Terminal Part Information

  • Terminal/Tray: See Terminal Repair Kit
  • Core/Insulation Crimp: See Terminal Repair Kit
  • Release Tool/Test Probe: See Terminal Repair Kit

Pressure Control (PC) Solenoid Valve 1 (LCT)

Pin

Wire

Circuit

Function

1

0.8 OG

2528

12-Volt Reference

2

0.8 WH

1229

PC Solenoid Valve 1 Low Control

Pressure Control (PC) Solenoid Valve 1 (MD)


Object Number: 711794  Size: CH

Connector Part Information

  • OEM: 15326727
  • Service: See Catalog
  • Description: 2-Way F SRS Faston (NA)

Terminal Part Information

  • Terminal/Tray: See Terminal Repair Kit
  • Core/Insulation Crimp: See Terminal Repair Kit
  • Release Tool/Test Probe: See Terminal Repair Kit

Pressure Control (PC) Solenoid Valve 1 (MD)

Pin

Wire

Circuit

Function

1

0.8 YE

323

12-Volt Reference

2

0.8 OG

7581

PC Solenoid Valve 1 Low Control

Pressure Control (PC) Solenoid Valve 2 (LCT)


Object Number: 711794  Size: CH

Connector Part Information

  • OEM: 15326727
  • Service: See Catalog
  • Description: 2-Way F SRS Faston (NA)

Terminal Part Information

  • Terminal/Tray: See Terminal Repair Kit
  • Core/Insulation Crimp: See Terminal Repair Kit
  • Release Tool/Test Probe: See Terminal Repair Kit

Pressure Control (PC) Solenoid Valve 2 (LCT)

Pin

Wire

Circuit

Function

1

0.8 YE

323

12-Volt Reference

2

0.8 OG

2469

PC Solenoid Valve 2 Low Control

Pressure Control (PC) Solenoid Valve 2 (MD)


Object Number: 711794  Size: CH

Connector Part Information

  • OEM: 15326727
  • Service: See Catalog
  • Description: 2-Way F SRS Faston (NA)

Terminal Part Information

  • Terminal/Tray: See Terminal Repair Kit
  • Core/Insulation Crimp: See Terminal Repair Kit
  • Release Tool/Test Probe: See Terminal Repair Kit

Pressure Control (PC) Solenoid Valve 2 (MD)

Pin

Wire

Circuit

Function

1

0.8 YE

323

12-Volt Reference

2

0.8 GN

7580

PC Solenoid Valve 2 Low Control

Pressure Control (PC) Solenoid Valve 3 (MD)


Object Number: 711794  Size: CH

Connector Part Information

  • OEM: 15326727
  • Service: See Catalog
  • Description: 2-Way F SRS Faston (NA)

Terminal Part Information

  • Terminal/Tray: See Terminal Repair Kit
  • Core/Insulation Crimp: See Terminal Repair Kit
  • Release Tool/Test Probe: See Terminal Repair Kit

Pressure Control (PC) Solenoid Valve 3 (MD)

Pin

Wire

Circuit

Function

1

0.8 YE

323

12-Volt Reference

2

0.8 YE

7579

PC Solenoid Valve 3 Low Control

Pressure Control (PC) Solenoid Valve 4 (MD)


Object Number: 711794  Size: CH

Connector Part Information

  • OEM: 15326727
  • Service: See Catalog
  • Description: 2-Way F SRS Faston (NA)

Terminal Part Information

  • Terminal/Tray: See Terminal Repair Kit
  • Core/Insulation Crimp: See Terminal Repair Kit
  • Release Tool/Test Probe: See Terminal Repair Kit

Pressure Control (PC) Solenoid Valve 4 (MD)

Pin

Wire

Circuit

Function

1

0.8 OG

323

12-Volt Reference

2

0.8 WH

7582

PC Solenoid Valve 4 Low Control

Pressure Switch Manifold (PSM) (LCT)


Object Number: 73215  Size: CH

Connector Part Information

  • OEM: 29543226
  • Service: See Catalog
  • Description: 6-Way F Metri-Pack 150.2 Series Pull-to-Seat (NA)

Terminal Part Information

  • Terminal/Tray: See Terminal Repair Kit
  • Core/Insulation Crimp: See Terminal Repair Kit
  • Release Tool/Test Probe: See Terminal Repair Kit

Pressure Switch Manifold (PSM) (LCT)

Pin

Wire

Circuit

Function

A

0.8 BU

1224

Transmission Fluid Pressure Switch Signal 1

B

0.8 PK

1225

Transmission Fluid Pressure Switch Signal 2

C

0.8 WH

1226

Transmission Fluid Pressure Switch Signal 3

D

0.8 GN

2529

Transmission Fluid Pressure Switch Signal 4 (Reverse)

E

0.8 TN

1227

TFT Sensor Signal

F

0.8 GN

407

Low Reference

Purge Air Control Solenoid (LF6)


Object Number: 784092  Size: CH

Connector Part Information

  • OEM: 1552269
  • Service: See Catalog
  • Description: 2-Way F (Caterpillar)

Terminal Part Information

  • Terminal/Tray: See Terminal Repair Kit
  • Core/Insulation Crimp: See Terminal Repair Kit
  • Release Tool/Test Probe: See Terminal Repair Kit

Purge Air Control Solenoid (LF6)

Pin

Wire

Circuit

Function

1

0.8 PK

Y735

Purge Air Control Signal

2

0.8 YE

H807

Purge Air Control Return

Radio


Object Number: 73156  Size: CH

Connector Part Information

  • OEM: 12110088
  • Service: 15306210
  • Description: 24-Way F Micro-Pack 100 Series (GY)

Terminal Part Information

  • Pins: A1, A8-A12, B1, B4, B8-B11
  • Terminal/Tray: 12146447/3
  • Core/Insulation Crimp: E/C
  • Release Tool/Test Probe: 12031876-1/J-35616-6 (BN)
  • Pins: B12
  • Terminal/Tray: 12146448/19
  • Core/Insulation Crimp: E/A
  • Release Tool/Test Probe: 12031876-1/J-35616-6 (BN)

Radio

Pin

Wire

Circuit

Function

A1

0.5 OG

1044

Radio Class 2 Serial Data

A2-A7

--

--

Not Used

A8

0.5 TN

201

Left Front Speaker Output (+)

A9

0.5 GY

118

Left Front Speaker Output (-)

A10

0.5 L-BU

115

Right Rear Speaker Output (-)

A11

0.5 D-BU

46

Right Rear Speaker Output (+)

A12

0.8 BK/WH

1451

Ground

B1

0.8 OG

1140

Battery Positive Voltage

B2-B3

--

--

Not Used

B4

0.5 GY

8

Instrument Panel Lamps Dimmer Switch Signal

B5-B7

--

--

Not Used

B8

0.5 BN

199

Left Rear Speaker Output (+)

B9

0.5 YE

116

Left Rear Speaker Output (-)

B10

0.5 D-GN

117

Right Front Speaker Output (-)

B11

0.5 L-GN

200

Right Front Speaker Output (+)

B12

1.0 PU/WH

1382

LED Dimming Signal

Rear Axle Driver Control Switch - Two Speed (HPZ with A/T)


Object Number: 40446  Size: CH

Connector Part Information

  • OEM: 12177194
  • Service: 15305927
  • Description: 6-Way F Metri-Pack, 150 Series (NA)

Terminal Part Information

  • Terminal/Tray: See Terminal Repair Kit
  • Core/Insulation Crimp: See Terminal Repair Kit
  • Release Tool/Test Probe: See Terminal Repair Kit

Rear Axle Driver Control Switch - Two Speed (HPZ with A/T)

Pin

Wire

Circuit

Function

A

0.5 BK

750

Ground

B

0.5 BK

750

Ground

C

0.5 GY/BK

1467

Shift Motor Relay - Control

D

0.5 PK

239

Ignition 1 Voltage

E

0.5 BN

2509

Left Rear Park Lamps Supply Voltage

F

0.5 GY/BK

1467

Shift Motor Relay - Control

Rear Axle Driver Control Switch - Two Speed (HPZ with M/T)


Object Number: 82383  Size: CH

Connector Part Information

  • OEM: 12047662
  • Service: 12085535
  • Description: 2-Way F Metri-Pack, 150 Series (BK)

Terminal Part Information

  • Terminal/Tray: See Terminal Repair Kit
  • Core/Insulation Crimp: See Terminal Repair Kit
  • Release Tool/Test Probe: See Terminal Repair Kit

Rear Axle Driver Control Switch - Two Speed (HPZ with M/T)

Pin

Wire

Circuit

Function

A

0.8 GY/BK

1467

Shift Motor Relay - Control

B

0.8 BK

250

Ground

Rear Axle Driver Control Switch Lamp - Two Speed (HR1 with A/T)


Object Number: 711794  Size: CH

Connector Part Information

  • OEM: 12103827
  • Service: 89046628
  • Description: 2-Way F Sprague (NA)

Terminal Part Information

  • Terminal/Tray: See Terminal Repair Kit
  • Core/Insulation Crimp: See Terminal Repair Kit
  • Release Tool/Test Probe: See Terminal Repair Kit

Rear Axle Driver Control Switch Lamp - Two Speed (HR1 with A/T)

Pin

Wire

Circuit

Function

1

0.5 BN

2509

Left Rear Park Lamps Supply Voltage

2

0.5 BK

750

Ground

Rear Axle Shift Motor - Two Speed (HPZ)


Object Number: 309547  Size: CH

Connector Part Information

  • OEM: 12020737
  • Service: See Catalog
  • Description: 3-Way F (BK)

Terminal Part Information

  • Terminal/Tray: 12124582/1
  • Core/Insulation Crimp: 2/5
  • Release Tool/Test Probe: 12014012-1/J-35616-9 (OG)

Rear Axle Shift Motor - Two Speed (HPZ)

Pin

Wire

Circuit

Function

A

2.0 L-BU

1469

Shift Motor Control - High Gear

B

2.0 BK

350

Ground

C

2.0 L-GN

1466

Shift-Signal

Rear Axle Shift Relay - Two Speed (HPZ)


Object Number: 39685  Size: CH

Connector Part Information

  • OEM: 12110539
  • Service: 12166225
  • Description: 5-Way F Metri-Pack 280 Series, Flexlock, Sealed (BK)

Terminal Part Information

  • Pins: 30, 86, 87, 87A
  • Terminal/Tray: 12110845/4
  • Core/Insulation Crimp: A/5
  • Release Tool/Test Probe: 15315247/J-35616-4A (PU)
  • Pins: 85
  • Terminal/Tray: 12110847/4
  • Core/Insulation Crimp: C/5
  • Release Tool/Test Probe: 15315247/J-35616-4A (PU)

Rear Axle Shift Relay - Two Speed (HPZ)

Pin

Wire

Circuit

Function

30

2.0 BN

241

Ignition 3 Voltage

85

0.8 GY/BU

1467

Shift Motor Relay - Control

86

2.0 BN

241

Ignition 3 Voltage

87

2.0 L-BU

1469

Shift Motor Control - High Gear

87A

2.0 L-GN

1466

Shift-Signal

Rear Axle Shift Switch - Two Speed (HR1/HR2)


Object Number: 876326  Size: CH

Connector Part Information

  • OEM: 12065402
  • Service: 12125695
  • Description: 2-Way F Metri-Pack 150 Series (BN)

Terminal Part Information

  • Terminal/Tray: 12048074/2
  • Core/Insulation Crimp: E/1
  • Release Tool/Test Probe: 12094429/J-35616-2A (GY)

Rear Axle Shift Switch - Two Speed (HR1/HR2)

Pin

Wire

Circuit

Function

A-B

--

--

Not Available

C

0.8 GY/BK

1467

Air Shift Switch Signal

D

0.8 BK

250

Ground

Rear Window Defogger Grid X1 (C49)


Object Number: 365953  Size: CH

Connector Part Information

  • OEM: 12092133
  • Service: 12167133
  • Description: 1-Way F Metri-Pack 630 Series Self Lock (BK)

Terminal Part Information

  • Terminal/Tray: 12103325/3
  • Core/Insulation Crimp: A/B
  • Release Tool/Test Probe: 12094430/J-35616-42 (RD)

Rear Window Defogger Grid X1 (C49)

Pin

Wire

Circuit

Function

A

2.0 PU

293

Rear Defog Element Supply Voltage

Rear Window Defogger Grid X2 (C49)


Object Number: 365953  Size: CH

Connector Part Information

  • OEM: 12092133
  • Service: 12167133
  • Description: 1-Way F Metri-Pack 630 Series Self Lock (BK)

Terminal Part Information

  • Terminal/Tray: 12103325/3
  • Core/Insulation Crimp: A/B
  • Release Tool/Test Probe: 12094430/J-35616-42 (RD)

Rear Window Defogger Grid X2 (C49)

Pin

Wire

Circuit

Function

A

2.0 BK

850

Ground

Regeneration Switch (without L18)


Object Number: 304344  Size: CH

Connector Part Information

  • OEM: 12177195
  • Service: 15305931
  • Description: 6-Way F Metri-Pack 150 Series (BK)

Terminal Part Information

  • Terminal/Tray: 12129484/19
  • Core/Insulation Crimp: E/C
  • Release Tool/Test Probe: 12094429/J-35616-2A (GY)

Regeneration Switch (without L18)

Pin

Wire

Circuit

Function

A

0.5 BK

750

Ground

B

0.5 BK

750

Ground

C

0.5 D-GN/WH

7657

Diesel Particulate Filter Switch Signal

D

0.5 BN

541

Ignition 3 Voltage

E

0.5 BN

2509

Left Rear Park Lamps Supply Voltage

F

0.5 L-GN/BK

7656

Diesel Particulate Filter Switch LED Signal

Remote Control Door Lock Receiver (RCDLR) (AU0)


Object Number: 283847  Size: CH

Connector Part Information

  • OEM: 12129431
  • Service: 12129431
  • Description: 16-Way F Metri-Pack 280 Series ACT (BK)

Terminal Part Information

  • Terminal/Tray: 12186457/5
  • Core/Insulation Crimp: Pins A-B, E, N, R - C/A
  • Core/Insulation Crimp: Pins C, J-L, S - E/C
  • Release Tool/Test Probe: 12094429/J-35616-4A (PU)

Remote Control Door Lock Receiver (RCDLR) (AU0)

Pin

Wire

Circuit

Function

A

TN

294

Door Lock Actuator Unlock Control

B

WH

194

Door Unlock Control

C

BK

28

Horn Relay Control

D

--

--

Not Used

E

OG

540

Battery Positive Voltage

F-H

--

--

Not Used

J

PK

39

Ignition 1 Voltage

K

GY

157

Courtesy Lamp Control

L

BK/WH

1455

Keyless Entry Program Enable Signal

M

--

--

Not Used

N

BK

550

Ground

P

--

--

Not Used

R

L-BU

195

Door Lock Control

S

WH

156

Courtesy Lamp Switch Signal

Serial Data Gateway (SDG) Module (L18 with JE4, LF6/LF8)


Object Number: 744296  Size: CH

Connector Part Information

  • OEM: 12110259
  • Service: 12110259
  • Description: 16-Way F Micro-Pack 100 Series (GN)

Terminal Part Information

  • Terminal/Tray: 12146447/3
  • Core/Insulation Crimp: E/C
  • Release Tool/Test Probe: 12031876-1/J-35616-6 (BN)

Serial Data Gateway (SDG) Module (L18 with JE4, LF6/LF8)

Pin

Wire

Circuit

Function

A1

0.5 D-BU

2362

SAE J1939 Serial Data Bus-

A2

0.5 YE

2361

SAE J1939 Serial Data Bus+

A3

--

--

Not Used

A4

1.0 BK/WH

1451

Ground

A5

--

--

Not Used

A6

0.5 OG

440

Battery Positive Voltage

A7

--

--

Not Used

A8

0.5 RD/WH

2673

Serial Data Class 2

B1-B5

--

--

Not Used

B6

0.5 PK

1020

Off/Run/Crank Voltage

B7-B8

--

--

Not Used

Shift Solenoid (SS) Valve 1 (LCT)


Object Number: 82345  Size: CH

Connector Part Information

  • OEM: 12146094
  • Service: 12146094
  • Description: 2-Way F Metri-Pack 150.2 Series Pull-to-Seat (GY)

Terminal Part Information

  • Terminal/Tray: See Terminal Repair Kit
  • Core/Insulation Crimp: See Terminal Repair Kit
  • Release Tool/Test Probe: See Terminal Repair Kit

Shift Solenoid (SS) Valve 1 (LCT)

Pin

Wire

Circuit

Function

A

0.8 YE

323

12-Volt Reference

B

0.8 GN

898

Shift Solenoid 1 Valve Control

Shift Solenoid (SS) Valve 1 (MD)


Object Number: 82345  Size: CH

Connector Part Information

  • OEM: 12146094
  • Service: 12146094
  • Description: 2-Way F Metri-Pack 150.2 Series Pull-to-Seat (GY)

Terminal Part Information

  • Terminal/Tray: See Terminal Repair Kit
  • Core/Insulation Crimp: See Terminal Repair Kit
  • Release Tool/Test Probe: See Terminal Repair Kit

Shift Solenoid (SS) Valve 1 (MD)

Pin

Wire

Circuit

Function

A

0.8 YE

323

12-Volt Reference

B

0.8 WH

7578

Shift Solenoid 1 Valve Control

Shift Solenoid (SS) Valve 2 (LCT)


Object Number: 82345  Size: CH

Connector Part Information

  • OEM: 12146094
  • Service: 12146094
  • Description: 2-Way F Metri-Pack 150.2 Series Pull-to-Seat (GY)

Terminal Part Information

  • Terminal/Tray: See Terminal Repair Kit
  • Core/Insulation Crimp: See Terminal Repair Kit
  • Release Tool/Test Probe: See Terminal Repair Kit

Shift Solenoid (SS) Valve 2 (LCT)

Pin

Wire

Circuit

Function

A

0.8 YE

323

12-Volt Reference

B

0.8 YE

2879

Shift Solenoid 2 Valve Control

Shift Solenoid (SS) Valve 3 (LCT)


Object Number: 82345  Size: CH

Connector Part Information

  • OEM: 12146094
  • Service: 12146094
  • Description: 2-Way F Metri-Pack 150.2 Series Pull-to-Seat (GY)

Terminal Part Information

  • Terminal/Tray: See Terminal Repair Kit
  • Core/Insulation Crimp: See Terminal Repair Kit
  • Release Tool/Test Probe: See Terminal Repair Kit

Shift Solenoid (SS) Valve 3 (LCT)

Pin

Wire

Circuit

Function

A

0.8 YE

323

12-Volt Reference

B

0.8 WH

2527

Shift Solenoid 3 Valve Control

Speaker - Left Front


Object Number: 280768  Size: CH

Connector Part Information

  • OEM: 12052832
  • Service: 12101825
  • Description: 2-Way F Metri-Pack 150 Series (BK)

Terminal Part Information

  • Terminal/Tray: 12064971/5
  • Core/Insulation Crimp: E/C
  • Release Tool/Test Probe: 12094429/J-35616-2A (GY)

Speaker - Left Front

Pin

Wire

Circuit

Function

A

0.5 GY

118

Left Front Speaker Output (-)

B

0.5 TN

201

Left Front Speaker Output (+)

Speaker - Left Front Tweeter (ZQ2)


Object Number: 766913  Size: CH

Connector Part Information

  • OEM: 12052833
  • Service: 12117275
  • Description: 2-Way M Metri-Pack 150 Series (BK)

Terminal Part Information

  • Terminal/Tray: 12047581/2
  • Core/Insulation Crimp: E/C
  • Release Tool/Test Probe: 12094429/J-35616-3 (GY)

Speaker - Left Front Tweeter (ZQ2)

Pin

Wire

Circuit

Function

A

0.5 GY

118

Left Front Speaker Output (-)

B

0.5 TN

201

Left Front Speaker Output (+)

Speaker - Left Rear (Crew Cab)


Object Number: 280768  Size: CH

Connector Part Information

  • OEM: 12052832
  • Service: 12101825
  • Description: 2-Way F Metri-Pack 150 Series (BK)

Terminal Part Information

  • Terminal/Tray: See Terminal Repair Kit
  • Core/Insulation Crimp: See Terminal Repair Kit
  • Release Tool/Test Probe: See Terminal Repair Kit

Speaker - Left Rear (Crew Cab)

Pin

Wire

Circuit

Function

A

0.5 YE

116

Left Rear Speaker Output (-)

B

0.5 BN

199

Left Rear Speaker Output (+)

Speaker - Right Front


Object Number: 280768  Size: CH

Connector Part Information

  • OEM: 12052832
  • Service: 12101825
  • Description: 2-Way F Metri-Pack 150 Series (BK)

Terminal Part Information

  • Terminal/Tray: 12064971/5
  • Core/Insulation Crimp: E/C
  • Release Tool/Test Probe: 12094429/J-35616-2A (GY)

Speaker - Right Front

Pin

Wire

Circuit

Function

A

0.5 D-GN

117

Right Front Speaker Output (-)

B

0.5 L-GN

200

Right Front Speaker Output (+)

Speaker - Right Front Tweeter (ZQ2)


Object Number: 766913  Size: CH

Connector Part Information

  • OEM: 12052833
  • Service: 12117275
  • Description: 2-Way M Metri-Pack 150 Series (BK)

Terminal Part Information

  • Terminal/Tray: 12047581/2
  • Core/Insulation Crimp: E/C
  • Release Tool/Test Probe: 12094429/J-35616-3 (GY)

Speaker - Right Front Tweeter (ZQ2)

Pin

Wire

Circuit

Function

A

0.5 D-GN

117

Right Front Speaker Output (-)

B

0.5 L-GN

200

Right Front Speaker Output (+)

Speaker - Right Rear (Crew Cab)


Object Number: 280768  Size: CH

Connector Part Information

  • OEM: 12052832
  • Service: 12101825
  • Description: 2-Way F Metri-Pack 150 Series (BK)

Terminal Part Information

  • Terminal/Tray: See Terminal Repair Kit
  • Core/Insulation Crimp: See Terminal Repair Kit
  • Release Tool/Test Probe: See Terminal Repair Kit

Speaker - Right Rear (Crew Cab)

Pin

Wire

Circuit

Function

A

0.5 L-BU

115

Right Rear Speaker Output (-)

B

0.5 D-BU

46

Right Rear Speaker Output (+)

Starter Motor X1 (LF6/LF8/LMM)

Terminal Part Information

  • Terminal:12103517
  • Core/Insulation Crimp: N/A
  • Description: Ring Terminal

Starter Motor X1 (LF6/LF8/LMM)

Pin

Wire

Circuit

Function

S

5.0 PU

6

Battery Positive Voltage

Starter Motor X1 (L18)

Terminal Part Information

  • Terminal:15354670
  • Core/Insulation Crimp: N/A
  • Description: Ring Terminal

Starter Motor X1 (L18)

Pin

Wire

Circuit

Function

S

3.0 PU

6

Battery Positive Voltage

Starter Motor X2 (Battery Cable) (L18)

Terminal Part Information

  • Harness: Battery Cable
  • Terminal: 12160234
  • Core/Insulation Crimp: N/A
  • Description: Ring Terminal

Starter Motor X2 (Battery Cable) (L18)

Pin

Wire

Circuit

Function

B

50.0 RD

2

Battery Positive Voltage

Starter X2 (Engine Chassis) (L18 with K65 without VNF)

Terminal Part Information

  • Harness: Engine Chassis
  • Terminal: 12146364
  • Core/Insulation Crimp: N/A
  • Description: Ring Terminal

Starter X2 (Engine Chassis) (L18 with K65 without VNF)

Pin

Wire

Circuit

Function

B

8.0 RD

2

Battery Positive Voltage

8.0 RD

2

Battery Positive Voltage

0.5 RD

2

Battery Positive Voltage

Starter Motor X2 (Engine Chassis) (L18 without K65/VNF)

Terminal Part Information

  • Harness: Engine Chassis
  • Terminal: 12146364
  • Core/Insulation Crimp: N/A
  • Description: Ring Terminal

Starter Motor X2 (Engine Chassis) (L18 without K65/VNF)

Pin

Wire

Circuit

Function

B

8.0 RD

2

Battery Positive Voltage

0.5 RD

2

Battery Positive Voltage

Starter Motor X2 (Engine Chassis) (L18 with VNF)

Terminal Part Information

  • Harness: Engine Chassis
  • Terminal: 12010299
  • Core/Insulation Crimp: N/A
  • Description: Ring Terminal

Starter Motor X2 (Engine Chassis) (L18 with VNF)

Pin

Wire

Circuit

Function

B

0.5 RD

2

Battery Positive Voltage

Starter X2 (Battery Cable) (LMM)

Terminal Part Information

  • Harness: Battery Cable
  • Terminal: 15358800
  • Core/Insulation Crimp: N/A
  • Description: Ring Terminal

Starter X2 (Battery Cable) (LMM)

Pin

Wire

Circuit

Function

B

62.0 RD

2

Battery Positive Voltage

Starter Motor X2 (Engine Chassis) (LMM)

Terminal Part Information

  • Harness: Engine Chassis
  • Terminal: 12160991
  • Core/Insulation Crimp: N/A
  • Description: Ring Terminal

Starter Motor X2 (Engine Chassis) (LMM)

Pin

Wire

Circuit

Function

B

8.0 BK

2

Battery Positive Voltage

Starter Motor X2 (Engine Chassis) (LMM with K65 without VNF)

Terminal Part Information

  • Harness: Engine Chassis
  • Terminal: 12146469
  • Core/Insulation Crimp: N/A
  • Description: Ring Terminal

Starter Motor X2 (Engine Chassis) (LMM with K65 without VNF)

Pin

Wire

Circuit

Function

B

8.0 BK

2

Battery Positive Voltage

8.0 BK

2

Battery Positive Voltage

Starter Motor X2 (Engine Chassis) (LMM without K65/VNF)

Terminal Part Information

  • Harness: Engine Chassis
  • Terminal: 12160991
  • Core/Insulation Crimp: N/A
  • Description: Ring Terminal

Starter Motor X2 (Engine Chassis) (LMM without K65/VNF)

Pin

Wire

Circuit

Function

B

8.0 BK

2

Battery Positive Voltage

Starter Motor X2 (Engine Chassis) (LMM with VNF)

Terminal Part Information

  • Harness: Engine Chassis
  • Terminal: 12103508
  • Core/Insulation Crimp: N/A
  • Description: Ring Terminal

Starter Motor X2 (Engine Chassis) (LMM with VNF)

Pin

Wire

Circuit

Function

B

0.5 RD

2

Battery Positive Voltage

Starter Motor X2 (Battery Cable) (LF6)

Terminal Part Information

  • Harness: Battery Cable
  • Terminal: 12162566
  • Core/Insulation Crimp: N/A
  • Description: Ring Terminal

Starter Motor X2 (Battery Cable) (LF6)

Pin

Wire

Circuit

Function

B

103.0 BK

2653

Battery Positive Voltage

Starter Motor X2 (Engine Chassis) (LF6)

Terminal Part Information

  • Harness: Engine Chassis Harness
  • Terminal: 12004984
  • Core/Insulation Crimp: N/A
  • Description: Ring Terminal

Starter Motor X2 (Engine Chassis) (LF6)

Pin

Wire

Circuit

Function

B

8.0 RD

2

Battery Positive Voltage

0.5 RD

2

Battery Positive Voltage

Starter Motor X2 (Battery Cable) (LF8)

Terminal Part Information

  • Harness: Battery Cable
  • Terminal: 15383009
  • Core/Insulation Crimp: N/A
  • Description: Ring Terminal

Starter Motor X2 (Battery Cable) (LF8)

Pin

Wire

Circuit

Function

B

62.0 BK

2653

Battery Positive Voltage

Starter X2 (Engine Chassis) (LF8)

Terminal Part Information

  • Harness: Engine Chassis Harness
  • Terminal: 15358637
  • Core/Insulation Crimp: N/A
  • Description: Ring Terminal

Starter X2 (Engine Chassis) (LF8)

Pin

Wire

Circuit

Function

B

8.0 RD

2

Battery Positive Voltage

0.5 RD

2

Battery Positive Voltage

Starter Temperature Switch (KQR)


Object Number: 655692  Size: CH

Connector Part Information

  • OEM: 12162193
  • Service: 88987993
  • Description: 2-Way F Metri-Pack 150.2 Series, Sealed Pull To Seat (BK)

Terminal Part Information

  • Terminal/Tray: See Terminal Repair Kit
  • Core/Insulation Crimp: See Terminal Repair Kit
  • Release Tool/Test Probe: See Terminal Repair Kit

Starter Temperature Switch (KQR)

Pin

Wire

Circuit

Function

A

1.0 YE

447

Starter Relay Coil Control

B

1.0 YE

447

Starter Relay Coil Control

Stop Lamp Switch (JE3/C4)


Object Number: 62424  Size: CH

Connector Part Information

  • OEM: 12040551
  • Service: 12102763
  • Description: 6-Way F Metri-Pack 480 Series (BK)

Terminal Part Information

  • Pins: C-D
  • Terminal/Tray: 12015860/4
  • Core/Insulation Crimp: Pins C - C/A
  • Core/Insulation Crimp: Pins D - E/A
  • Release Tool/Test Probe: 12094430/J-35616-40 (BU)
  • Pins: E-F
  • Terminal/Tray: 12124304/2
  • Core/Insulation Crimp: F/D
  • Release Tool/Test Probe: 12094430/J-35616-40 (BU)

Stop Lamp Switch (JE3/C4)

Pin

Wire

Circuit

Function

A-B

--

--

Not Used

C

0.5 BN

441

Ignition 3 Voltage

D

0.5 PU

420

TCC Brake Switch/Cruise Control Release Signal

E

1.0 OG

140

Battery Positive Voltage

F

1.0 WH

17

Stop Lamp Supply Voltage

Stop Lamp Switch (JE3/C5/C6/C7)


Object Number: 62424  Size: CH

Connector Part Information

  • OEM: 12040551
  • Service: 12102763
  • Description: 6-Way F Metri-Pack 480 Series (BK)

Terminal Part Information

  • Pins: A-B
  • Terminal/Tray: 12124304/2
  • Core/Insulation Crimp: F/D
  • Release Tool/Test Probe: 12094430/J-35616-40 (BU)
  • Pins: C-F
  • Terminal/Tray: 12015860/4
  • Core/Insulation Crimp: Pins C - E/A
  • Core/Insulation Crimp: Pins D-F - C/A
  • Release Tool/Test Probe: 12094430/J-35616-40 (BU)

Stop Lamp Switch (JE3/C5/C6/C7)

Pin

Wire

Circuit

Function

A

1.0 WH

17

Stop Lamp Switch Signal

B

1.0 OG

140

Battery Positive Voltage

C

0.5 PU

420

TCC Brake Switch/Cruise Control Release Signal

D

0.5 BN

441

Ignition 3 Voltage

E

0.8 BN

86

Cruise Control Release Signal

F

0.8 BK/WH

451

Ground

Stop Lamp Switch (JE4)


Object Number: 62424  Size: CH

Connector Part Information

  • OEM: 12040551
  • Service: 12102763
  • Description: 6-Way F Metri-Pack 480 Series (BK)

Terminal Part Information

  • Pins: A-D
  • Terminal/Tray: 12015860/4
  • Core/Insulation Crimp: Pins A-C - C/A
  • Core/Insulation Crimp: Pins D - E/A
  • Release Tool/Test Probe: 12094430/J-35616-40 (BU)
  • Pins: E-F
  • Terminal/Tray: 12124304/2
  • Core/Insulation Crimp: F/D
  • Release Tool/Test Probe: 12094430/J-35616-40 (BU)

Stop Lamp Switch (JE4)

Pin

Wire

Circuit

Function

A

0.8 BK/WH

451

Ground

B

0.8 BN

86

Cruise Control Release Signal

C

0.5 BN

441

Ignition 3 Voltage

D

0.5 PU

420

TCC Brake Switch/Cruise Control Release Signal

E

1.0 OG

140

Battery Positive Voltage

F

1.0 WH

17

Stop Lamp Switch Signal

Suction Control Valve (SCV) (LF8)


Object Number: 1428251  Size: CH

Connector Part Information

  • OEM: 7323-8827-80
  • Service: See Catalog
  • Description: 2-Way F Yazaki (BN)

Terminal Part Information

  • Terminal/Tray: See Terminal Repair Kit
  • Core/Insulation Crimp: See Terminal Repair Kit
  • Release Tool/Test Probe: See Terminal Repair Kit

Suction Control Valve (SCV) (LF8)

Pin

Wire

Circuit

Function

A

1.25 RD

CF40

SCV Low Signal

B

1.25 WH

CF38

SCV High Signal

Tail Lamp - Left


Object Number: 236398  Size: CH

Connector Part Information

  • OEM: 12065862
  • Service: 15305873
  • Description: 4-Way F Metri-Pack 280 Series, Sealed (BK)

Terminal Part Information

  • Terminal/Tray: 12129493/2
  • Core/Insulation Crimp: 4/5
  • Release Tool/Test Probe: 12094430/J-35616-4A (PU)

Tail Lamp - Left

Pin

Wire

Circuit

Function

A

2.0 L-GN

24

Backup Lamp Supply Voltage

B

2.0 BN

2509

Left Rear Park Lamps Supply Voltage

C

2.0 YE

618

Left Rear Turn Signal Lamp Supply Voltage

D

--

--

Not Available

E

2.0 BK

350

Ground

Tail Lamp - Right


Object Number: 236398  Size: CH

Connector Part Information

  • OEM: 12065862
  • Service: 15305873
  • Description: 4-Way F Metri-Pack 280 Series, Sealed (BK)

Terminal Part Information

  • Terminal/Tray: 12129493/2
  • Core/Insulation Crimp: 4/5
  • Release Tool/Test Probe: 12094430/J-35616-4A (PU)

Tail Lamp - Right

Pin

Wire

Circuit

Function

A

2.0 L-GN

24

Backup Lamp Supply Voltage

B

2.0 BN/WH

2609

Right Rear Park Lamps Supply Voltage

C

2.0 D-GN

619

Right Rear Turn Signal Lamp Supply Voltage

D

--

--

Not Available

E

2.0 BK

350

Ground

Throttle Actuator Control (TAC) Module X1 (L18)


Object Number: 261930  Size: CH

Connector Part Information

  • OEM: 12191065
  • Service: 88987977
  • Description: 16-Way F Micro-Pack 100W, Sealed (NA)

Terminal Part Information

  • Terminal/Tray: 12084912/5
  • Core/Insulation Crimp: W/W
  • Release Tool/Test Probe: 12122523/J-35616-6 (BN)

Throttle Actuator Control (TAC) Module X1 (L18)

Pin

Wire

Circuit

Function

1

0.5 D-GN

485

TP Sensor 1 Signal

2

0.5 GY

416

5-Volt Reference

3

0.5 BK

452

Low Reference

4

0.5 D-BU

84

Cruise Control Set/Coast Switch Signal

5

0.5 GY/BK

87

Control Switch Signal

6

0.5 L-BU

1320

Stop Lamp Supply Voltage

7

0.8 PK

439

Ignition 1 Voltage

8

0.8 BN

582

TAC Motor Control - 2

9

0.8 L-BU/BK

1688

5-Volt Reference

10

0.5 BK/WH

1704

Low Reference

11

0.5 PU

486

TP Sensor 2 Signal

12

0.5 OG/BK

1061

UART Serial Data Secondary

13

0.5 D-BU/WH

774

UART Serial Data Tertiary

14

0.5 GY

397

Cruise Control On Switch Signal

15

0.8 BK/WH

351

Ground

16

0.8 YE

581

TAC Motor Control - 1

Throttle Actuator Control (TAC) Module X2 (L18)


Object Number: 570216  Size: CH

Connector Part Information

  • OEM: 12065425
  • Service: 12125676
  • Description: 10-Way F Metri-Pack 150 Series Sealed (BK)

Terminal Part Information

  • Terminal/Tray: 12048074/2
  • Core/Insulation Crimp: E/1
  • Release Tool/Test Probe: 12094429/J-35616-2A (GY)

Throttle Actuator Control (TAC) Module X2 (L18)

Pin

Wire

Circuit

Function

A

--

--

Not Used

B

0.5 PU

1274

5-Volt Reference

C

0.5 L-BU

1162

APP Sensor 2 Signal

D

0.5 PU

1272

Low Reference

E

--

--

Not Used

F

0.5 D-BU

1161

APP Sensor 1 Signal

G

0.5 WH/BK

1164

5-Volt Reference

H

--

--

Not Used

J

0.5 BN

1271

Low Reference

K

--

--

Not Used

Throttle Body (L18)


Object Number: 831368  Size: CH

Connector Part Information

  • OEM: 15326836
  • Service: 88986255
  • Description: 8-Way F Metri-Pack 150 Series Sealed (BK)

Terminal Part Information

  • Terminal/Tray: See Terminal Repair Kit
  • Core/Insulation Crimp: See Terminal Repair Kit
  • Release Tool/Test Probe: See Terminal Repair Kit

Throttle Body (L18)

Pin

Wire

Circuit

Function

A

0.8 YE

581

TAC Motor Control - 1

B

0.5 BK/WH

1704

Low Reference

C

0.8 BN

582

TAC Motor Control - 2

D

0.5 BK

452

Low Reference

E

0.8 L-BU/BK

1688

5-Volt Reference

F

0.5 PU

486

TP Sensor 2 Signal

G

0.5 D-GN

485

TP Sensor 1 Signal

H

0.5 GY

416

5-Volt Reference

Torque Converter Clutch (TCC) Solenoid Valve (LCT)


Object Number: 711794  Size: CH

Connector Part Information

  • OEM: 15326727
  • Service: See Catalog
  • Description: 2-Way F SRS Faston (NA)

Terminal Part Information

  • Terminal/Tray: See Terminal Repair Kit
  • Core/Insulation Crimp: See Terminal Repair Kit
  • Release Tool/Test Probe: See Terminal Repair Kit

Torque Converter Clutch (TCC) Solenoid Valve (LCT)

Pin

Wire

Circuit

Function

1

0.8 OG

2528

12-Volt Reference

2

0.8 WH

1994

TCC PWM Solenoid Valve Control

Torque Converter Clutch (TCC) Solenoid Valve (MD)


Object Number: 711794  Size: CH

Connector Part Information

  • OEM: 15326727
  • Service: See Catalog
  • Description: 2-Way F SRS Faston (NA)

Terminal Part Information

  • Terminal/Tray: See Terminal Repair Kit
  • Core/Insulation Crimp: See Terminal Repair Kit
  • Release Tool/Test Probe: See Terminal Repair Kit

Torque Converter Clutch (TCC) Solenoid Valve (MD)

Pin

Wire

Circuit

Function

1

0.8 YE

1531

12-Volt Reference

2

0.8 WH

1994

TCC PWM Solenoid Valve Control

Traction Control Switch (NW9)


Object Number: 304344  Size: CH

Connector Part Information

  • OEM: 12177196
  • Service: 15305918
  • Description: 6-Way F Metri-Pack 150 Series (BN)

Terminal Part Information

  • Terminal/Tray: 12129484/19
  • Core/Insulation Crimp: E/C
  • Release Tool/Test Probe: 12094429/J-35616-2A (GY)

Traction Control Switch (NW9)

Pin

Wire

Circuit

Function

A

0.5 BK

750

Ground

B

0.5 L-BU

832

Traction Control Active Signal

C

0.5 BN/WH

1571

Traction Control Switch Signal

D

0.5 BN

541

Ignition 3 Voltage

E

0.5 BN

2509

Left Rear Park Lamps Supply Voltage

F

0.5 WH

1808

Service Traction Control Signal

Traction Control Valve (JE4/NW9)


Object Number: 666646  Size: CH

Connector Part Information

  • OEM: 15336024
  • Service: 88987993
  • Description: 6-Way F Metri-Pack 150 Series (BN)

Terminal Part Information

  • Terminal/Tray: See Terminal Repair Kit
  • Core/Insulation Crimp: See Terminal Repair Kit
  • Release Tool/Test Probe: See Terminal Repair Kit

Traction Control Valve (JE4/NW9)

Pin

Wire

Circuit

Function

1

0.8 PK

2668

Traction Control Valve (Air) Hi

2

0.8 PK/WH

2669

Traction Control Valve (Air) Lo

Tractor/Trailer Plug (VPG)


Object Number: 872904  Size: CH

Connector Part Information

  • OEM: 15022090
  • Service: See Catalog
  • Description: 7-Way F Pollak (BK)

Terminal Part Information

  • Terminal/Tray: See Terminal Repair Kit
  • Core/Insulation Crimp: See Terminal Repair Kit
  • Release Tool/Test Probe: See Terminal Repair Kit

Tractor/Trailer Plug (VPG)

Pin

Wire

Circuit

Function

1

WH

22

Ground

2

BK

1412

Marker Lamps

3

YE

318

Left Turn/Hazard Lamps

4

RD

1411

Stop Lamps and ABS Backup Power

5

D-GN

319

Right Turn/Hazard Lamps

6

BN

9

Tail and License Plate Lamps

7

RD

642

ABS Continuous Shared Power

Tractor/Trailer Receptacle (JE4/RQ3)


Object Number: 872904  Size: CH

Connector Part Information

  • OEM: 11-811
  • Service: See Catalog
  • Description: 7-Way M Pollak (BK)

Terminal Part Information

  • Terminal/Tray: See Terminal Repair Kit
  • Core/Insulation Crimp: See Terminal Repair Kit
  • Release Tool/Test Probe: See Terminal Repair Kit

Tractor/Trailer Receptacle (JE4/RQ3)

Pin

Wire

Circuit

Function

1

5.0 WH

22

Ground

2

3.0 BK

1412

Marker Lamp Supply Voltage

3

3.0 YE

318

Left Rear Trailer Stop/Turn Lamp Supply Voltage

4

5.0 RD

1411

Stop Lamps and ABS Backup Power

5

3.0 D-GN

319

Right Rear Trailer Stop/Turn Lamp Supply Voltage

6

3.0 BN

9

Park Lamps Supply Voltage

7

5.0 D-BU

1413

Battery Positive Voltage

Trailer Connector (C4/C5 with RQ2 and U86/RQ3)


Object Number: 525095  Size: CH

Connector Part Information

  • OEM: 15354653
  • Service: 15306164
  • Description: 7-Way F Metri-Pack 280 Sealed (BK)

Terminal Part Information

  • Pins: A, C-G
  • Terminal/Tray: 12110845/4
  • Core/Insulation Crimp: F/5
  • Release Tool/Test Probe: 15315247/J-35616-4A (PU)
  • Pins: B
  • Terminal/Tray: 15305232/23
  • Core/Insulation Crimp: B/3
  • Release Tool/Test Probe: J-38125-11A/J-35616-42 (RD)
  • Pins: E
  • Terminal/Tray: 12110853/4
  • Core/Insulation Crimp: B/5
  • Release Tool/Test Probe: 15315247/J-35616-4A (PU)

Trailer Connector (C4/C5 with RQ2 and U86/RQ3)

Pin

Wire

Circuit

Function

A

3.0 L-GN

24

Backup Lamp Supply Voltage

B

5.0 WH

22

Ground

C

3.0 D-BU

47

Trailer Auxiliary Supply Voltage

D

1.0 D-GN

319

Right Rear Trailer Stop/Turn Lamp Supply Voltage

E

5.0 RD

642

Battery Positive Voltage

F

3.0 BN

9

Park Lamp Supply Voltage

G

1.0 YE

318

Left Rear Trailer Stop/Turn Lamp Supply Voltage

Trailer Stop Lamp Switch (JE4 and RQ2 and U86 or JE4 and RQ3)


Object Number: 646148  Size: CH

Connector Part Information

  • OEM: 12020599
  • Service: 12102664
  • Description: 2-Way F Metri-Pack 280 Series (BK)

Terminal Part Information

  • Terminal/Tray: 12077411/2
  • Core/Insulation Crimp: 2/5
  • Release Tool/Test Probe: 12094430/J-35616-4A (PU)

Trailer Stop Lamp Switch (JE4 and RQ2 and U86 or JE4 and RQ3)

Pin

Wire

Circuit

Function

A

1.0 OG

140

Battery Positive Voltage

B

1.0 WH

17

Stop Lamp Switch Signal

Transfer Case Encoder Motor (NP1)


Object Number: 646412  Size: CH

Connector Part Information

  • OEM: 15326642
  • Service: 15306395
  • Description: 5-Way F GT 280 Series, Sealed (BK)

Terminal Part Information

  • Pins: A-C
  • Terminal/Tray: 15304719/19
  • Core/Insulation Crimp: E/5
  • Release Tool/Test Probe: 15315247/J-35616-4A (PU)
  • Pins: D-E
  • Terminal/Tray: 15304720/19
  • Core/Insulation Crimp: 4/5
  • Release Tool/Test Probe: 15315247/J-35616-4A (PU)

Transfer Case Encoder Motor (NP1)

Pin

Wire

Circuit

Function

A

0.5 L-GN/BK

431

5-Volt Reference

B

0.8 BN/WH

1555

Encoder Signal

C

0.5 BK/WH

1554

Encoder Low Reference

D

3.0 BK

1552

Motor Control A

E

3.0 RD

1553

Motor Control B

Transfer Case Shift Control Module X1 (NP1)


Object Number: 744295  Size: CH

Connector Part Information

  • OEM: 12084944
  • Service: 12084944
  • Description: 16-Way F Micro-Pack 100 Series (BK)

Terminal Part Information

  • Terminal/Tray: 12146448/19
  • Core/Insulation Crimp: E/C
  • Release Tool/Test Probe: 12031876-1/J-35616-6 (BN)

Transfer Case Shift Control Module X1 (NP1)

Pin

Wire

Circuit

Function

A1

0.5 D-GN/WH

1133

ATC Class 2 Serial Data

A2-A3

--

--

Not Used

A4

0.5 PU/WH

1565

4 LO Indicator - Control

A5

0.35 TN/BK

1566

4 HI Indicator - Control

A6

0.35 L-BU

1693

Switch Signal

A7

0.5 BK/WH

1554

Encoder Low Reference

A8

--

--

Not Used

B1-B2

--

--

Not Used

B3

0.35 L-GN/BK

1563

2 HI Indicator - Control

B4

0.5 BN

1560

Neutral Indicator Control

B5

0.35 GY/BK

1694

4WD Low Signal

B6

0.35 BN/WH

1555

Encoder Signal

B7

--

--

Not Used

B8

0.8 BK/WH

751

Ground

Transfer Case Shift Control Module X2 (NP1)


Object Number: 73152  Size: CH

Connector Part Information

  • OEM: 12084945
  • Service: 12084945
  • Description: 16-Way F Micro-Pack 100 Series (GY)

Terminal Part Information

  • Terminal/Tray: 12146447/3
  • Core/Insulation Crimp: E/C
  • Release Tool/Test Probe: 12031876-1/J-35616-6 (BN)

Transfer Case Shift Control Module X2 (NP1)

Pin

Wire

Circuit

Function

A1-A7

--

--

Not Used

A8

0.5 L-GN/BK

431

5-Volt Reference

B1-B7

--

--

Not Used

B8

0.35 GY

596

5-Volt Reference

Transfer Case Shift Control Module X3 (NP1)


Object Number: 62450  Size: CH

Connector Part Information

  • OEM: 12052856
  • Service: 12125636
  • Description: 4-Way F Metri-Pack 280 Series (BK)

Terminal Part Information

  • Pins: A
  • Terminal/Tray: 12066214/2
  • Core/Insulation Crimp: A/B
  • Release Tool/Test Probe: 12094430/J-35616-4A (PU)
  • Pins: B-D
  • Terminal/Tray: 12015858/4
  • Core/Insulation Crimp: F/G
  • Release Tool/Test Probe: 12094430/J-35616-4A (PU)

Transfer Case Shift Control Module X3 (NP1)

Pin

Wire

Circuit

Function

A

2.0 BK

2250

Ground

B

3.0 RD

242

Battery Positive Voltage

C

3.0 BK

1552

Motor Control A

D

3.0 RD

1553

Motor Control B

Transfer Case Shift Control Switch (NP1)


Object Number: 647976  Size: CH

Connector Part Information

  • OEM: 15332161
  • Service: 15306416
  • Description: 12-Way F GT 150 Series (BK)

Terminal Part Information

  • Terminal/Tray: 12191812/19
  • Core/Insulation Crimp: Pins A, C-G, J, M - E/C
  • Core/Insulation Crimp: Pins B, H - C/A
  • Release Tool/Test Probe: 15315247/J-35616-2A (GY)

Transfer Case Shift Control Switch (NP1)

Pin

Wire

Circuit

Function

A

0.35 PU/WH

1565

4 LO Indicator - Control

B

0.8 BN

241

Ignition 3 Voltage

C

0.35 BN/WH

230

Instrument Panel Lamps Dimming Control

D

0.35 BK

2250

Ground

E

0.5 TN/BK

1566

4 HI Indicator - Control

F

0.35 L-GN/BK

1563

2 HI Indicator - Control

G

0.5 BN

1560

Neutral Indicator Control

H

0.8 BN

241

Ignition 3 Voltage

J

0.35 GY

596

5-Volt Reference

K-L

--

--

Not Used

M

0.35 L-BU

1693

Switch Signal

Transmission Control Module (TCM) (LCT)


Object Number: 1608552  Size: CH

Connector Part Information

  • OEM: 13551663
  • Service: N/A
  • Description: 80-Way F Sealed (BK)

Terminal Part Information

  • Terminal/Tray: See Terminal Repair Kit
  • Core/Insulation Crimp: See Terminal Repair Kit
  • Release Tool/Test Probe: See Terminal Repair Kit

Transmission Control Module (TCM) (LCT)

Pin

Wire

Circuit

Function

1

0.8 TN

1147

Transmission Shift Inhibit Signal

2

--

--

Not Used

3

0.8 TN

476

Low Reference

4

0.8 L-BU

1480

Transmission Power Take-Off Enable Signal

5

0.8 OG/BK

463

Requested Torque Signal (L18)

6

0.8 D-BU

6105

High Speed GMLAN Serial Data Bus+

7

--

--

Not Used

8

0.8 D-GN

2362

SAE J1939 Serial Data Bus- (w/o LMM)

9

0.8 BK/WH

351

Ground

10

0.8 OG

440

Battery Positive Voltage

11

0.8 D-GN/WH

2528

12-Volt Reference

12-13

--

--

Not Used

14

0.8 GY

773

Internal Mode Switch Signal C

15-16

--

--

Not Used

17

0.8 PK

1224

Transmission Fluid Pressure Switch Signal 1

18

0.8 L-BU

2221

Signal High - Rear

19

--

--

Not Used

20

0.8 L-BU

1984

Transmission Turbine Speed Switch Low Reference

21

--

--

Not Used

22

0.8 WH

2467

Unmanaged Torque Signal (L18)

23

0.8 YE

1479

A/T Neutral Signal

24-25

--

--

Not Used

26

0.8 TN/WH

6105

High Speed GMLAN Serial Data Bus+ (w/o LMM)

27

0.8 TN

6106

High Speed GMLAN Serial Data Bus-

28

--

--

Not Used

29

0.8 GY

1234

Do Not Shift Indicator Control

30-32

--

--

Not Used

33

0.8 YE/BK

2879

Shift Solenoid 2 Valve Control

34

0.8 WH

776

Internal Mode Switch Signal P

35

--

--

Not Used

36

0.8 BN/WH

2469

PCS Valve 2 Control

37

--

--

Not Used

38

0.8 OG

1786

Ignition Lock Cylinder Control Actuator Signal (LF6/LF8)

39

0.8 D-BU/WH

1231

AT ISS Low Signal

40

0.8 L-GN/BK

822

VSS Low Signal

41-42

--

--

Not Used

43

0.8 YE

2522

PTO Engaged Signal

44

0.8 TN/BK

464

Delivered Torque Signal (L18)

45

0.8 PU

1146

Range Indicator

46

0.8 YE

2470

Class 2 Serial Data

47

0.8 TN

6106

High Speed GMLAN Serial Data Bus- (LMM)

48

0.8 YE

2361

SAE J1939 Serial Data Bus+ (w/o LMM)

49-50

--

--

Not Used

51

0.8 OG/WH

2527

Shift Solenoid 3 Valve Control

52

0.8 PU

898

Shift Solenoid 1 Valve Control

53

0.8 YE

772

Internal Mode Switch Signal B

54

0.8 YE/BK

1227

TFT Sensor Signal

55

0.8 L-BU/WH

1229

PCS Valve 1 Control (L18/LMM)

0.8 PU

7581

Transmission Pressure Control Solenoid 1 (LF6/LF8)

56

--

--

Not Used

57

0.8 RD

1226

Transmission Fluid Pressure Switch Signal 3

58

0.8 BK

407

Low Reference

59

0.8 RD/BK

1230

AT ISS High Signal

60

0.8 PU/WH

821

VSS High Signal

61

0.8 TN/WH

2678

Overdrive Defeat Switch Signal

62

--

--

Not Used

63

0.8 PK

1020

Ignition 0 Voltage

64

--

--

Not Used

65

0.8 GY

1524

Backup Lamp Relay Control

66

0.8 D-BU

6105

High Speed GMLAN Serial Data Bus+ (LMM)

67-68

--

--

Not Used

69

0.8 BK/WH

351

Ground

70

0.8 OG

440

Battery Positive Voltage

71

0.8 BN

323

12-Volt Reference

72

--

--

Not Used

73

0.8 BK/WH

771

Internal Mode Switch Signal A

74

0.8 D-BU

1530

Transmission Mainline Pressure Solenoid Control

75

--

--

Not Used

76

0.8 PU

2471

Trans ID

77

0.8 L-GN/BK

2529

Transmission Fluid Pressure Switch Signal 4 (Reverse)

78

0.8 WH

1994

TCC PWM Solenoid Valve Control

79

0.8 D-BU

1225

Transmission Fluid Pressure Switch Signal 2

80

0.8 OG

1983

Transmission Turbine Speed Switch Signal

Transmission Control Module (TCM) (MD)


Object Number: 1608552  Size: CH

Connector Part Information

  • OEM: 13551663
  • Service: N/A
  • Description: 80-Way F Sealed (BK)

Terminal Part Information

  • Terminal/Tray: See Terminal Repair Kit
  • Core/Insulation Crimp: See Terminal Repair Kit
  • Release Tool/Test Probe: See Terminal Repair Kit

Transmission Control Module (TCM) (MD)

Pin

Wire

Circuit

Function

1

0.8 TN

1147

Transmission Shift Inhibit Signal

2

--

--

Not Used

3

0.8 TN

476

Low Reference

4-5

--

--

Not Used

6

0.8 D-BU

6105

High Speed GMLAN Serial Data Bus+

7

--

--

Not Used

8

0.8 D-GN

2362

SAE J1939 Serial Data Bus-

9

0.8 BK/WH

351

Ground

10

0.8 OG

440

Battery Positive Voltage

11

0.8 BN

323

Shift Solenoid Supply Voltage

12

0.8 GY

598

5-Volt Reference

13-15

--

--

Not Used

16

0.8 WH

1971

Transmission Oil Level Sensor Signal

17

0.8 YE

1479

A/T Neutral Signal

18-19

--

--

Not Used

20

0.8 L-BU

1984

Transmission Turbine Speed Switch Low Reference

21

--

--

Not Used

22

0.8 TN/WH

981

Pump Enable

23

0.8 PU/WH

980

Pump Mode Request

24-25

--

--

Not Used

26

0.8 TN/WH

6105

High Speed GMLAN Serial Data Bus+

27

0.8 TN

6106

High Speed GMLAN Serial Data Bus-

28

--

--

Not Used

29

0.8 GY

1234

Do Not Shift Indicator Control

30

0.8 L-BU

1480

Transmission Power Take-Off Enable Signal

31

0.8 D-GN

1531

Shift Solenoid Supply Voltage (6)

32

--

--

Not Used

33

0.8 YE/BK

7579

Transmission Pressure Control Solenoid 3

34

0.8 D-GN

1373

Transmission Shift Selector Mode Signal

35

--

--

Not Used

36

0.8 PU

7581

Transmission Pressure Control Solenoid 1

37

0.8 WH

1994

Line Pressure Control Solenoid Valve High Control

38

--

--

Not Used

39

0.8 D-BU/WH

1231

AT ISS Low Signal

40

0.8 PU

401

VSS Low Signal

41

--

--

Not Used

42

0.8 YE

1481

Transmission Auxiliary Hold Signal

43

0.8 YE

2522

PTO Engaged Signal

44

--

--

Not Used

45

0.8 PU

1146

Range Indicator

46-47

--

--

Not Used

48

0.8 YE

2361

SAE J1939 Serial Data Bus+

49-50

--

--

Not Used

51

0.8 TN/WH

7578

Transmission Shift Solenoid (1)

52

0.8 YE

7580

Transmission Pressure Control Solenoid 2

53

--

--

Not Used

54

0.8 YE/BK

1227

TFT Sensor Signal

55

0.8 PU/BK

7582

Transmission Pressure Control Solenoid 4

56-57

--

--

Not Used

58

0.8 BK

407

Low Reference

59

0.8 RD/BK

1230

AT ISS High Signal

60

0.8 YE

400

VSS High Signal

61-62

--

--

Not Used

63

0.8 PK

1020

Ignition 0 Voltage

64

0.8 GY

1148

Transmission Shift Inhibit Signal

65

0.8 GY

1524

Backup Lamp Relay Control

66-68

--

--

Not Used

69

0.8 BK/WH

351

Ground

70

0.8 OG

440

Battery Positive Voltage

71

0.8 BN

323

12-Volt Reference

72-73

--

--

Not Used

74

0.8 D-BU

1530

Transmission Mainline Pressure Solenoid Control

75

--

--

Not Used

76

0.8 PU

2471

Trans ID

77

0.8 RD

1226

Transmission Fluid Pressure Switch Signal C

78-79

--

--

Not Used

80

0.8 OG

1983

Transmission Turbine Speed Switch Signal

Trigger Switch (LF8)


Object Number: 1283891  Size: CH

Connector Part Information

  • OEM: 15316438
  • Service: See Catalog
  • Description: 2-Way M Connector, Unsealed (NA)

Terminal Part Information

  • Terminal/Tray: See Terminal Repair Kit
  • Core/Insulation Crimp: See Terminal Repair Kit
  • Release Tool/Test Probe: See Terminal Repair Kit

Trigger Switch (LF8)

Pin

Wire

Circuit

Function

1

0.8 PU

960

Trigger Switch Signal

2

0.5 BK/WH

1451

Ground

Turbine Shaft Speed (TSS) Sensor (LCT)


Object Number: 1710949  Size: CH

Connector Part Information

  • OEM: 15490464
  • Service: See Catalog
  • Description: 2-Way F GT 150 Series Sealed (BK)

Terminal Part Information

  • Terminal/Tray: See Terminal Repair Kit
  • Core/Insulation Crimp: See Terminal Repair Kit
  • Release Tool/Test Probe: See Terminal Repair Kit

Turbine Shaft Speed (TSS) Sensor (LCT)

Pin

Wire

Circuit

Function

A

0.8 OG

1983

Transmission Turbine Speed Switch Signal

B

0.8 L-BU

1984

Transmission Turbine Speed Switch Low Reference

Turbocharger Vane Position (TVP) Control Solenoid Valve (LF8)


Object Number: 1427687  Size: CH

Connector Part Information

  • OEM: 7282-7020-10
  • Service: See Catalog
  • Description: 2-Way F Sealed, Yazaki (BK)

Terminal Part Information

  • Terminal/Tray: See Terminal Repair Kit
  • Core/Insulation Crimp: See Terminal Repair Kit
  • Release Tool/Test Probe: See Terminal Repair Kit

Turbocharger Vane Position (TVP) Control Solenoid Valve (LF8)

Pin

Wire

Circuit

Function

A

0.85 RD

DF29

Ignition 1 Voltage

B

0.85 BK

DF28

TVP Control Solenoid Valve Control

Turbocharger Vane Position (TVP) Control Solenoid Valve (LMM)


Object Number: 1366580  Size: CH

Connector Part Information

  • OEM: PR-1A020070097
  • Service: See Catalog
  • Description: 2-Way F Amphenol, Sealed (WH)

Terminal Part Information

  • Terminal/Tray: See Terminal Repair Kit
  • Core/Insulation Crimp: See Terminal Repair Kit
  • Release Tool/Test Probe: See Terminal Repair Kit

Turbocharger Vane Position (TVP) Control Solenoid Valve (LMM)

Pin

Wire

Circuit

Function

A

0.5 D-BU

5930

Turbocharger Vane Position Control Solenoid Valve Control

B

0.5 WH

5931

Turbocharger Vane Position Control Solenoid Valve Low Reference

Turbocharger Vane Position Sensor (LF8)


Object Number: 1427688  Size: CH

Connector Part Information

  • OEM: 7383-9447-40
  • Service: See Catalog
  • Description: 4-Way F Yazaki (BK)

Terminal Part Information

  • Terminal/Tray: See Terminal Repair Kit
  • Core/Insulation Crimp: See Terminal Repair Kit
  • Release Tool/Test Probe: See Terminal Repair Kit

Turbocharger Vane Position Sensor (LF8)

Pin

Wire

Circuit

Function

1

0.5 RD

CF147

5-Volt Reverence

2

0.5 BK

CF149

Low Reference

3

0.5 WH

CF148

TVP Sensor Signal

4

--

--

Not Used

Turbocharger Vane Position Sensor (LMM)


Object Number: 1556303  Size: CH

Connector Part Information

  • OEM: 12191366
  • Service: 88988603
  • Description: 4-Way F Metri-Pack 150 Series, Sealed (L-GY)

Terminal Part Information

  • Terminal/Tray: 12160223/3
  • Core/Insulation Crimp: E/1
  • Release Tool/Test Probe: 12094429/J-35616-14 (GN)

Turbocharger Vane Position Sensor (LMM)

Pin

Wire

Circuit

Function

A

--

--

Not Used

B

0.5 YE

5947

Turbocharger Vane Position Sensor Signal

C

0.5 OG/BK

5929

Low Reference

D

0.5 TN

5928

5-Volt Reference 3

Turbo Speed Sensor (LF6)


Object Number: 784092  Size: CH

Connector Part Information

  • OEM: 2407876
  • Service: See Catalog
  • Description: 2-Way F (Caterpillar)

Terminal Part Information

  • Terminal/Tray: See Terminal Repair Kit
  • Core/Insulation Crimp: See Terminal Repair Kit
  • Release Tool/Test Probe: See Terminal Repair Kit

Turbo Speed Sensor (LF6)

Pin

Wire

Circuit

Function

1

0.8 WH

X980

Turbo Speed +

2

0.8 YE

X981

Turbo Speed -

Turn Signal/Hazard Flasher Module


Object Number: 39680  Size: CH

Connector Part Information

  • OEM: 12103751
  • Service: See Catalog
  • Description: 5-Way F Metri-Pack (BK)

Terminal Part Information

  • Terminal/Tray: 12015870/2
  • Core/Insulation Crimp: C/D
  • Release Tool/Test Probe: 12094430/J-35616-42 (RD)

Turn Signal/Hazard Flasher Module

Pin

Wire

Circuit

Function

1

--

--

Not Used

2

1.0 GY

1696

Turn/Hazard Module 2 Supply Voltage

3

--

--

Not Used

4

1.0 PU

1697

Turn/Hazard Module Signal

5

1.0 BK

750

Ground

Upfitter Transmission Optional Connector


Object Number: 570216  Size: CH

Connector Part Information

  • OEM: 12065425
  • Service: 12125676
  • Description: 10-Way F Metri-Pack 150 Series Sealed (BK)

Terminal Part Information

  • Terminal/Tray: 12048074/2
  • Core/Insulation Crimp: E/1
  • Release Tool/Test Probe: 12094429/J-35616-14 (GN)

Upfitter Transmission Optional Connector

Pin

Wire

Circuit

Function

A

0.8 PU

1146

Engine Brake Enable Signal (K40)

B

0.8 YE

1479

A/T Neutral Signal

C

0.8 YE

2522

PTO Feedback

D

0.8 YE

1481

Transmission Auxiliary Hold Signal (MD)

E

0.8 D-BU

1148

Transmission Shift Inhibit Signal (MD)

F

0.8 TN

1147

Transmission Shift Inhibit Signal

G

0.8 TN/WH

981

Pump Enable (MD)

H

0.8 PU/WH

980

Low Reference (MD)

J

0.8 BK

476

Low Reference

K

0.8 L-BU

1480

Transmission Power Take-Off Enable Signal

Vacuum Pump (without L18)


Object Number: 635009  Size: CH

Connector Part Information

  • OEM: 12052641
  • Service: 12102747
  • Description: 2-Way F Metri-Pack 150 Series Sealed (BK)

Terminal Part Information

  • Terminal/Tray: See Terminal Repair Kit
  • Core/Insulation Crimp: See Terminal Repair Kit
  • Release Tool/Test Probe: See Terminal Repair Kit

Vacuum Pump (without L18)

Pin

Wire

Circuit

Function

A

1.0 BK

350

Ground

B

1.0 BN

141

Ignition 3 Voltage

Variable Nozzle Turbo (VNT) Actuator (LF6)


Object Number: 784092  Size: CH

Connector Part Information

  • OEM: 2175887
  • Service: See Catalog
  • Description: 2-Way F (Caterpillar)

Terminal Part Information

  • Terminal/Tray: See Terminal Repair Kit
  • Core/Insulation Crimp: See Terminal Repair Kit
  • Release Tool/Test Probe: See Terminal Repair Kit

Variable Nozzle Turbo (VNT) Actuator (LF6)

Pin

Wire

Circuit

Function

1

0.8 GN

C814

CGI Actuator Signal

2

0.8 BN

C815

CGI Actuator Return

Vehicle Speed Sensor (VSS) (A/T)


Object Number: 1710949  Size: CH

Connector Part Information

  • OEM: 15490464
  • Service: See Catalog
  • Description: 2-Way F GT 150 Series Sealed (BK)

Terminal Part Information

  • Terminal/Tray: See Terminal Repair Kit
  • Core/Insulation Crimp: See Terminal Repair Kit
  • Release Tool/Test Probe: See Terminal Repair Kit

Vehicle Speed Sensor (VSS) (A/T)

Pin

Wire

Circuit

Function

A

0.8 PU/WH

821

VSS High Signal (LCT)

0.8 YE

400

VSS High Signal (MD)

B

0.8 L-GN/BK

822

VSS Low Signal (LCT)

0.8 PU

401

VSS Low Signal (MD)

Vehicle Speed Sensor (VSS) (M/T)


Object Number: 1538760  Size: CH

Connector Part Information

  • OEM: 15449028
  • Service: 88987993
  • Description: 2-Way F GT 150 Series, Sealed (BK)

Terminal Part Information

  • Terminal/Tray: See Terminal Repair Kit
  • Core/Insulation Crimp: See Terminal Repair Kit
  • Release Tool/Test Probe: See Terminal Repair Kit

Vehicle Speed Sensor (VSS) (M/T)

Pin

Wire

Circuit

Function

A

0.8 L-BU

2221

Signal High - Rear

B

0.8 D-GN

2222

Signal Low - Rear

Water in Fuel Sensor (LF6/LF8/KUN/NWB)


Object Number: 523630  Size: CH

Connector Part Information

  • OEM: 13510085
  • Service: 15306156
  • Description: 2-Way F GT 150 Series, Sealed (BK)

Terminal Part Information

  • Terminal/Tray: 12191819/8
  • Core/Insulation Crimp: 2/A
  • Release Tool/Test Probe: 15315247/J-35616-2A (GY)

Water in Fuel Sensor (LF6/LF8/KUN/NWB)

Pin

Wire

Circuit

Function

A

0.8 YE/BK

508

Water In Fuel Indicator Control

B

0.8 BK/WH

351

Ground

Water in Fuel Sensor (LMM)


Object Number: 523630  Size: CH

Connector Part Information

  • OEM: 7322-1424-40
  • Service: See Catalog
  • Description: 2-Way F Yazaki, Sealed (L-GY)

Terminal Part Information

  • Terminal/Tray: See Terminal Repair Kit
  • Core/Insulation Crimp: See Terminal Repair Kit
  • Release Tool/Test Probe: See Terminal Repair Kit

Water in Fuel Sensor (LMM)

Pin

Wire

Circuit

Function

A

0.5 YE/BK

IC90

Water In Fuel Indicator Control

B

0.5 BK

IC91

Ground

Wheel Speed Sensor (WSS) - Left Front


Object Number: 697014  Size: CH

Connector Part Information

  • OEM: 15355466
  • Service: 15306399
  • Description: 2-Way M GT 150 Series, Sealed (BK)

Terminal Part Information

  • Terminal/Tray: 15326269/19
  • Core/Insulation Crimp: E/1
  • Release Tool/Test Probe: 153515247/J-35616-3 (GY)

Wheel Speed Sensor (WSS) - Left Front

Pin

Wire

Circuit

Function

A

0.8 L-GN

1903

Left Front Wheel Speed Sensor Signal

B

0.8 OG

1904

Left Front Wheel Speed Sensor Low Reference

Wheel Speed Sensor (WSS) - Left Rear (JE3)


Object Number: 697014  Size: CH

Connector Part Information

  • OEM: 15355466
  • Service: 15306399
  • Description: 2-Way M GT 150 Series, Sealed (BK)

Terminal Part Information

  • Terminal/Tray: 15326269/19
  • Core/Insulation Crimp: E/1
  • Release Tool/Test Probe: 153515247/J-35616-3 (GY)

Wheel Speed Sensor (WSS) - Left Rear (JE3)

Pin

Wire

Circuit

Function

A

0.8 D-BU/WH

1911

Left Rear Wheel Speed Sensor Signal

B

0.8 D-GN/WH

1912

Left Rear Wheel Speed Sensor Low Reference

Wheel Speed Sensor (WSS) - Left Rear (JE4)


Object Number: 684858  Size: CH

Connector Part Information

  • OEM: 12162852
  • Service: 15305901
  • Description: 2-Way F Metri-Pack 150 Series Sealed (BK)

Terminal Part Information

  • Terminal/Tray: 12124075/5
  • Core/Insulation Crimp: C/A
  • Release Tool/Test Probe: 12180559-1/J-35616-2A (GY)

Wheel Speed Sensor (WSS) - Left Rear (JE4)

Pin

Wire

Circuit

Function

A

0.8 D-BU/WH

1911

Left Rear Wheel Speed Sensor Signal

B

0.8 D-GN/WH

1912

Left Rear Wheel Speed Sensor Low Reference

Wheel Speed Sensor (WSS) - Left Rear Middle (Tandem Axle)


Object Number: 684858  Size: CH

Connector Part Information

  • OEM: 12162852
  • Service: 15305901
  • Description: 2-Way F Metri-Pack 150 Series Sealed (BK)

Terminal Part Information

  • Terminal/Tray: 12124075/5
  • Core/Insulation Crimp: E/C
  • Release Tool/Test Probe: 12180559-1/J-35616-2A (GY)

Wheel Speed Sensor (WSS) - Left Rear Middle (Tandem Axle)

Pin

Wire

Circuit

Function

A

0.8 BK

884

Left Rear Wheel Speed Sensor Signal

B

0.8 RD

885

Left Rear Wheel Speed Sensor Low Reference

Wheel Speed Sensor (WSS) - Right Front


Object Number: 697014  Size: CH

Connector Part Information

  • OEM: 15355466
  • Service: 15306399
  • Description: 2-Way M GT 150 Series, Sealed (BK)

Terminal Part Information

  • Terminal/Tray: 15326269/19
  • Core/Insulation Crimp: E/1
  • Release Tool/Test Probe: 153515247/J-35616-3 (GY)

Wheel Speed Sensor (WSS) - Right Front

Pin

Wire

Circuit

Function

A

0.8 WH

1909

Right Front Wheel Speed Sensor Signal

B

0.8 BN/WH

1910

Right Front Wheel Speed Sensor Low Reference

Wheel Speed Sensor (WSS) - Right Rear (JE3)


Object Number: 697014  Size: CH

Connector Part Information

  • OEM: 15355466
  • Service: 15306399
  • Description: 2-Way M GT 150 Series, Sealed (BK)

Terminal Part Information

  • Terminal/Tray: 15326269/19
  • Core/Insulation Crimp: E/1
  • Release Tool/Test Probe: 153515247/J-35616-3 (GY)

Wheel Speed Sensor (WSS) - Right Rear (JE3)

Pin

Wire

Circuit

Function

A

0.8 L-GN/BK

1916

Right Rear Wheel Speed Sensor Signal

B

0.8 L-BU/WH

1917

Right Rear Wheel Speed Sensor Low Reference

Wheel Speed Sensor (WSS) - Right Rear (JE4)


Object Number: 684858  Size: CH

Connector Part Information

  • OEM: 12162852
  • Service: 15305901
  • Description: 2-Way F Metri-Pack 150 Series Sealed (BK)

Terminal Part Information

  • Terminal/Tray: 12124075/5
  • Core/Insulation Crimp: E/C
  • Release Tool/Test Probe: 12180559-1/J-35616-2A (GY)

Wheel Speed Sensor (WSS) - Right Rear (JE4)

Pin

Wire

Circuit

Function

A

0.8 L-GN/BK

1916

Right Rear Wheel Speed Sensor Signal

B

0.8 L-BU/WH

1917

Right Rear Wheel Speed Sensor Low Reference

Wheel Speed Sensor (WSS) - Right Rear Middle (Tandem Axle)


Object Number: 684858  Size: CH

Connector Part Information

  • OEM: 12162852
  • Service: 15305901
  • Description: 2-Way F Metri-Pack 150 Series Sealed (BK)

Terminal Part Information

  • Terminal/Tray: 12124075/5
  • Core/Insulation Crimp: E/C
  • Release Tool/Test Probe: 12180559-1/J-35616-2A (GY)

Wheel Speed Sensor (WSS) - Right Rear Middle (Tandem Axle)

Pin

Wire

Circuit

Function

A

0.8 BN

882

Right Rear Wheel Speed Sensor Signal

B

0.8 WH

883

Right Rear Wheel Speed Sensor Low Reference

Window Motor - Driver (A31)


Object Number: 684837  Size: CH

Connector Part Information

  • OEM: 12129487
  • Service: 88988609
  • Description: 2-Way F Metri-Pack 280 Series Flexlock, Sealed (GY)

Terminal Part Information

  • Terminal/Tray: 12110845/4
  • Core/Insulation Crimp: A/5
  • Release Tool/Test Probe: 15315247/J-35616-4A (PU)

Window Motor - Driver (A31)

Pin

Wire

Circuit

Function

A

2.0 BN

165

Power Window Motor Left Front Down Control

B

2.0 D-BU

164

Power Window Motor Left Front Up Control

Window Motor - Left Rear (A31/Crew Cab)


Object Number: 684837  Size: CH

Connector Part Information

  • OEM: 12129487
  • Service: 88988609
  • Description: 2-Way F Metri-Pack 280 Series Flexlock, Sealed (GY)

Terminal Part Information

  • Terminal/Tray: See Terminal Repair Kit
  • Core/Insulation Crimp: See Terminal Repair Kit
  • Release Tool/Test Probe: See Terminal Repair Kit

Window Motor - Left Rear (A31/Crew Cab)

Pin

Wire

Circuit

Function

A

2.0 BN

669

Power Window Motor Left Rear Down Control

B

2.0 D-BU

668

Power Window Motor Left Rear Up Control

Window Motor - Passenger (A31)


Object Number: 684837  Size: CH

Connector Part Information

  • OEM: 12129487
  • Service: 88988609
  • Description: 2-Way F Metri-Pack 280 Series Flexlock, Sealed (GY)

Terminal Part Information

  • Terminal/Tray: 12110845/4
  • Core/Insulation Crimp: A/5
  • Release Tool/Test Probe: 15315247/J-35616-4A (PU)

Window Motor - Passenger (A31)

Pin

Wire

Circuit

Function

A

2.0 BN

667

Power Window Motor Right Front Down Control

B

2.0 D-BU

666

Power Window Motor Right Front Up Control

Window Motor - Right Rear (A31/Crew Cab)


Object Number: 684837  Size: CH

Connector Part Information

  • OEM: 12129487
  • Service: 88988609
  • Description: 2-Way F Metri-Pack 280 Series Flexlock, Sealed (GY)

Terminal Part Information

  • Terminal/Tray: See Terminal Repair Kit
  • Core/Insulation Crimp: See Terminal Repair Kit
  • Release Tool/Test Probe: See Terminal Repair Kit

Window Motor - Right Rear (A31/Crew Cab)

Pin

Wire

Circuit

Function

A

2.0 BN

671

Power Window Motor Right Rear Down Control

B

2.0 D-BU

670

Power Window Motor Right Rear Up Control

Window Switch - Driver (A31 w/o Crew Cab)


Object Number: 62469  Size: CH

Connector Part Information

  • OEM: 12064998
  • Service: 15306189
  • Description: 8-Way F Metri-Pack 280 Series (BK)

Terminal Part Information

  • Terminal/Tray: 12015858/4
  • Core/Insulation Crimp: See Terminal Repair Kit
  • Release Tool/Test Probe: 12094430/J-35616-4A (PU)

Window Switch - Driver (A31 w/o Crew Cab)

Pin

Wire

Circuit

Function

A

2.0 BN

165

Power Window Motor Left Front Down Control

B

2.0 L-BU

166

Power Window Master Switch Right Front Up Signal

C

--

--

Not Used

D

0.5 BN

2509

Left Rear Park Lamps Supply Voltage

E

2.0 D-BU

164

Power Window Motor Left Front Up Control

F

2.0 TN

167

Power Window Master Switch Right Front Down Signal

G

2.0 BK

550

Ground

H

2.0 YE

343

Accessory Voltage

Window Switch - Driver X1 (A31/Crew Cab)


Object Number: 295507  Size: CH

Connector Part Information

  • OEM: 12084699
  • Service: 88988742
  • Description: 6-Way F Metri-Pack 280 Series (BU)

Terminal Part Information

  • Pins: A
  • Terminal/Tray: 12034046/2
  • Core/Insulation Crimp: E/A
  • Release Tool/Test Probe: 12094430/J-35616-4A (PU)
  • Pins: B, D
  • Terminal/Tray: 12066214/2
  • Core/Insulation Crimp: A/B
  • Release Tool/Test Probe: 12094430/J-35616-4A (PU)
  • Pins: E
  • Terminal/Tray: See Terminal Repair Kit
  • Core/Insulation Crimp: See Terminal Repair Kit
  • Release Tool/Test Probe: See Terminal Repair Kit

Window Switch - Driver X1 (A31/Crew Cab)

Pin

Wire

Circuit

Function

A

0.5 BN

2509

Left Rear Park Lamps Supply Voltage

B

2.0 YE

343

Accessory Voltage

C

--

--

Not Used

D

2.0 YE

343

Accessory Voltage

E

2.0 BK

550

Ground

F

--

--

Not Used

Window Switch - Driver X2 (A31/Crew Cab)


Object Number: 333036  Size: CH

Connector Part Information

  • OEM: 12191825
  • Service: 15306048
  • Description: 8-Way Metri-Pack 280 Series (BK)

Terminal Part Information

  • Terminal/Tray: 15304713/19
  • Core/Insulation Crimp: 4/4
  • Release Tool/Test Probe: 15315247/J-35616-4A (PU)

Window Switch - Driver X2 (A31/Crew Cab)

Pin

Wire

Circuit

Function

A

2.0 L-BU

166

Power Window Master Switch Right Front Up Signal

B

2.0 TN

167

Power Window Master Switch Right Front Down Signal

C

2.0 D-BU

164

Power Window Motor Left Front Up Control

D

2.0 BN

165

Power Window Motor Left Front Down Control

E

2.0 D-GN

168

Power Window Master Switch Left Rear Up Signal

F

2.0 PU

169

Power Window Master Switch Left Rear Down Signal

G

2.0 L-GN

170

Power Window Master Switch Right Rear Up Signal

H

2.0 PU

171

Power Window Master Switch Right Rear Down Signal

Window Switch - Left Rear (A31/Crew Cab)


Object Number: 62469  Size: CH

Connector Part Information

  • OEM: 12064998
  • Service: 15306189
  • Description: 8-Way F Metri-Pack 280 Series (BK)

Terminal Part Information

  • Terminal/Tray: See Terminal Repair Kit
  • Core/Insulation Crimp: See Terminal Repair Kit
  • Release Tool/Test Probe: See Terminal Repair Kit

Window Switch - Left Rear (A31/Crew Cab)

Pin

Wire

Circuit

Function

A

2.0 BN

669

Power Window Motor Left Rear Down Control

B

0.5 BK

550

Ground

C

0.5 BN

2509

Left Rear Park Lamps Supply Voltage

D

2.0 D-GN

168

Power Window Master Switch Left Rear Up Signal

E

2.0 D-BU

668

Power Window Motor Left Rear Up Control

F

2.0 YE

343

Accessory Voltage

G

--

--

Not Used

H

2.0 PU

169

Power Window Master Switch Left Rear Down Signal

Window Switch - Passenger (A31)


Object Number: 62469  Size: CH

Connector Part Information

  • OEM: 12064998
  • Service: 15306189
  • Description: 8-Way F Metri-Pack 280 Series (BK)

Terminal Part Information

  • Terminal/Tray: 12015858/4
  • Core/Insulation Crimp: See Terminal Repair Kit
  • Release Tool/Test Probe: 12094430/J-35616-4A (PU)

Window Switch - Passenger (A31)

Pin

Wire

Circuit

Function

A

2.0 BN

667

Power Window Motor Right Front Down Control

B

0.5 BK

550

Ground

C

0.5 BN

2509

Left Rear Park Lamps Supply Voltage

0.5 BN

2509

Left Rear Park Lamps Supply Voltage

D

2.0 TN

167

Power Window Master Switch Right Front Down Signal

E

2.0 D-BU

666

Power Window Motor Right Front Up Control

F

2.0 YE

343

Accessory Voltage

G

--

--

Not Used

H

2.0 L-BU

166

Power Window Master Switch Right Front Up Signal

Window Switch - Right Rear (A31/Crew Cab)


Object Number: 62469  Size: CH

Connector Part Information

  • OEM: 12064998
  • Service: 15306189
  • Description: 8-Way F Metri-Pack 280 Series (BK)

Terminal Part Information

  • Terminal/Tray: See Terminal Repair Kit
  • Core/Insulation Crimp: See Terminal Repair Kit
  • Release Tool/Test Probe: See Terminal Repair Kit

Window Switch - Right Rear (A31/Crew Cab)

Pin

Wire

Circuit

Function

A

2.0 BN

671

Power Window Motor Right Rear Down Control

B

0.5 BK

550

Ground

C

0.5 BN

2509

Left Rear Park Lamps Supply Voltage

D

2.0 D-GN

170

Power Window Master Switch Right Rear Up Signal

E

2.0 D-BU

670

Power Window Motor Right Rear Up Control

F

2.0 YE

343

Accessory Voltage

G

--

--

Not Used

H

2.0 PU

171

Power Window Master Switch Right Rear Down Signal

Windshield Washer Fluid Level Switch


Object Number: 655692  Size: CH

Connector Part Information

  • OEM: 12052641
  • Service: 12102747
  • Description: 2-Way F Metri-Pack 150.2 Series, Sealed (BK)

Terminal Part Information

  • Terminal/Tray: See Terminal Repair Kit
  • Core/Insulation Crimp: See Terminal Repair Kit
  • Release Tool/Test Probe: See Terminal Repair Kit

Windshield Washer Fluid Level Switch

Pin

Wire

Circuit

Function

A

0.5 TN

185

Low Washer Fluid Indicator Control

B

0.5 BK

750

Ground

Windshield Washer Fluid Pump


Object Number: 635009  Size: CH

Connector Part Information

  • OEM: 12052641
  • Service: 12102747
  • Description: 2-Way F Metri-Pack 150.2 Series, Sealed (BK)

Terminal Part Information

  • Terminal/Tray: See Terminal Repair Kit
  • Core/Insulation Crimp: See Terminal Repair Kit
  • Release Tool/Test Probe: See Terminal Repair Kit

Windshield Washer Fluid Pump

Pin

Wire

Circuit

Function

A

1.0 RD

228

Windshield Washer Pump Control

B

1.0 BK

750

Ground

Windshield Wiper Motor


Object Number: 684832  Size: CH

Connector Part Information

  • OEM: 12129126
  • Service: 88988741
  • Description: 5-Way F Metri-Pack Mixed Series, Sealed (BK)

Terminal Part Information

  • Pins: A-C
  • Terminal/Tray: 12077411/2
  • Core/Insulation Crimp: 2/5
  • Release Tool/Test Probe: 12094430/J-35616-4A (PU)
  • Pins: D-E
  • Terminal/Tray: 12048074/2
  • Core/Insulation Crimp: 2/1
  • Release Tool/Test Probe: 12094429/J-35616-2A (GY)

Windshield Wiper Motor

Pin

Wire

Circuit

Function

A

0.8 BK

750

Ground

B

1.0 YE

43

Accessory Voltage

C

1.0 PU

92

Windshield Wiper Motor High Speed

D

1.0 BN

96

Windshield Wiper Switch Pulse Delay Signal

E

1.0 RD

228

Windshield Washer Pump Control

F

--

--

Not Available