GM Service Manual Online
For 1990-2009 cars only
Figure 1:

Fuse Blocks


Object Number: 231696  Size: LF
(1)Power Brake Booster Pump Motor Relay
(2)Fuse Block 2
(3)Front Chassis Harness
(4)Positive Battery Cable Feed
(5)Fuse Block 1
Figure 2:

Instrument Panel Harness, Lower Right Side Relay Block 3


Object Number: 397659  Size: LF
(1)Relay Block 3
(2)Turn Signal/Hazard Flasher Module
(3)Blower Motor
Figure 3:

Instrument Panel, Right Side Forward View


Object Number: 1400890  Size: LF
(1)Fuse Block - I/P - 1
(2)Fuse Block - I/P - 2
(3)Relay Block 1
Figure 4:

Instrument Panel, Center (Typical)


Object Number: 231681  Size: LF
(1)Relay Block 2
Figure 5:

Cab to Frame Grounds


Object Number: 628978  Size: LF
(1)Front Cross Member
(2)G114
(3)Right Frame Rail
(4)Cab Ground Cable
(5)G214
(6)Cab
Figure 6:

Engine Harness Ground to Frame (LG4)


Object Number: 628981  Size: LF
(1)G100
(2)Starter Ground Cable
(3)G101
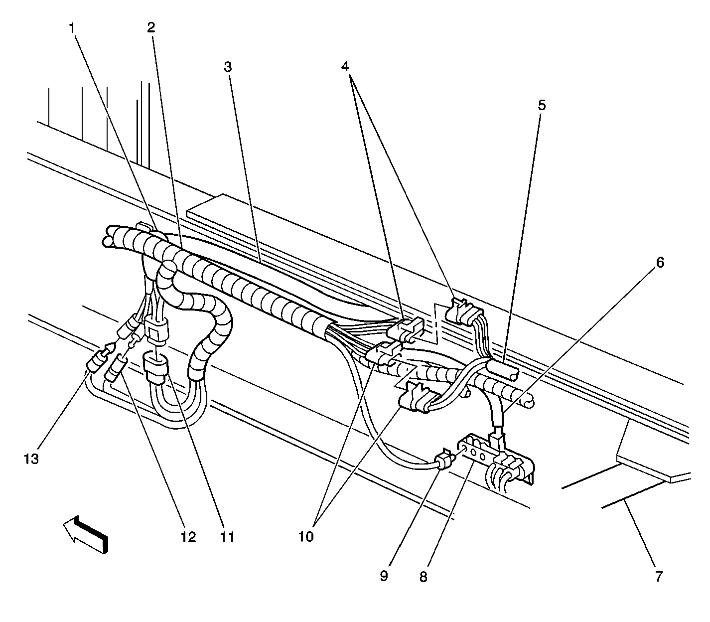
Figure 7:

Front Chassis Harness to RH Frame, LH Forward View (LG4)


Object Number: 628192  Size: LF
(1)Starter Relay
(2)Front Chassis Harness
(3)Battery Cable
(4)C403
(5)Rear Chassis Harness
(6)Negative Battery Cable
(7)Transmission Support Crossmember
(8)Ground Block - Part of Negative Battery Cable)
(9)G407
(10)C405
(11)Starter Relay Connector C3
(12)Starter Relay Connector C1
(13)Starter Relay Connector C2