GM Service Manual Online
For 1990-2009 cars only
Connector 1: Accelerator Pedal Position (APP) Sensor
Connector 2: Camshaft Position (CMP) Sensor
Connector 3: Crankshaft Position (CKP) Sensor
Connector 4: Engine Coolant Temperature (ECT) Sensor
Connector 5: Exhaust Gas Recirculation (EGR) Valve
Connector 6: Fuel Heater
Connector 7: Fuel Heater Relay
Connector 8: Fuel Rail Pressure (FRP) Sensor
Connector 9: Fuel Temperature Sensor
Connector 10: Glow Plug Relay C1
Connector 11: Glow Plug Relay C2
Connector 12: High Idle Switch (UF3)
Connector 13: Manifold Absolute Pressure (MAP) Sensor
Connector 14: Mass Air Flow (MAF)/Intake Air Temperature (IAT) Sensor
Connector 15: Suction Control Valve (SCV)
Connector 16: Turbocharger Vane Position (TVP) Control Solenoid Valve
Connector 17: Turbocharger Vane Position (TVP) Sensor

Accelerator Pedal Position (APP) Sensor


Object Number: 632344  Size: CH

Connector Part Information

  • OEM: 15326842
  • Description: 10-Way F 150 GT Series, Sealed (BK)

Accelerator Pedal Position (APP) Sensor

Pin

Wire Color

Circuit No.

Function

A

D-GN

CF18

APP Sensor 3 Signal

B

YE/BK

CF17

5-Volt Reference

C

--

--

Not Used

D

WH/BK

CF11

5-Volt Reference

E

D-BU

CF12

APP Sensor 1 Signal

F

GY

CF19

Low Reference

G

PU

CF16

Low Reference

H

L-BU

CF15

APP Sensor 2 Signal

J

BN/WH

CF14

5-Volt Reference

K

TN

CF13

Low Reference

Camshaft Position (CMP) Sensor


Object Number: 1427859  Size: CH

Connector Part Information

  • OEM: 6189-0042
  • Description: 3-Way F Sumitomo (BK)

Camshaft Position (CMP) Sensor

Pin

Wire Color

Circuit No.

Function

A

RD

B51

5-Volt Reference

B

WH

B30

CMP Sensor Signal

C

BK

B18

Low Reference

Crankshaft Position (CKP) Sensor


Object Number: 1428251  Size: CH

Connector Part Information

  • OEM: 7383-7526-40
  • Description: 2-Way F Yazaki (L-GY)

Crankshaft Position (CKP) Sensor

Pin

Wire Color

Circuit No.

Function

A

WH

B31

CKP Sensor High

B

BK

B32

CKP Sensor Low

Engine Coolant Temperature (ECT) Sensor


Object Number: 1427866  Size: CH

Connector Part Information

  • OEM: 7323-6538-90
  • Description: 3-Way F Yazaki (BU)

Engine Coolant Temperature (ECT) Sensor

Pin

Wire Color

Circuit No.

Function

A

BK/YE

IZ01

Low Reference

B

RD

B42A

Fuel Temperature Sensor 2 Signal

C

D-BU/WH

B35A

Coolant Temperature Signal

Exhaust Gas Recirculation (EGR) Valve


Object Number: 655815  Size: CH

Connector Part Information

  • OEM: 7383-7283-30
  • Description: 8-Way F Yazaki (BK)

Exhaust Gas Recirculation (EGR) Valve

Pin

Wire Color

Circuit No.

Function

A

D-BU/RD

B38

U Motor Position

B

WH/RD

B39

V Motor Position

C

--

--

Not Available

D

YE/RD

B40

W Motor Position

E

WH

B49

5-Volt Reference

F

BK/WH

B7

U Motor Signal

G

D-GN

B8

V Motor Signal

H

--

--

Not Available

J

RD/YE

B9

W Motor Signal

K

WH/BK

B17

Low Reference

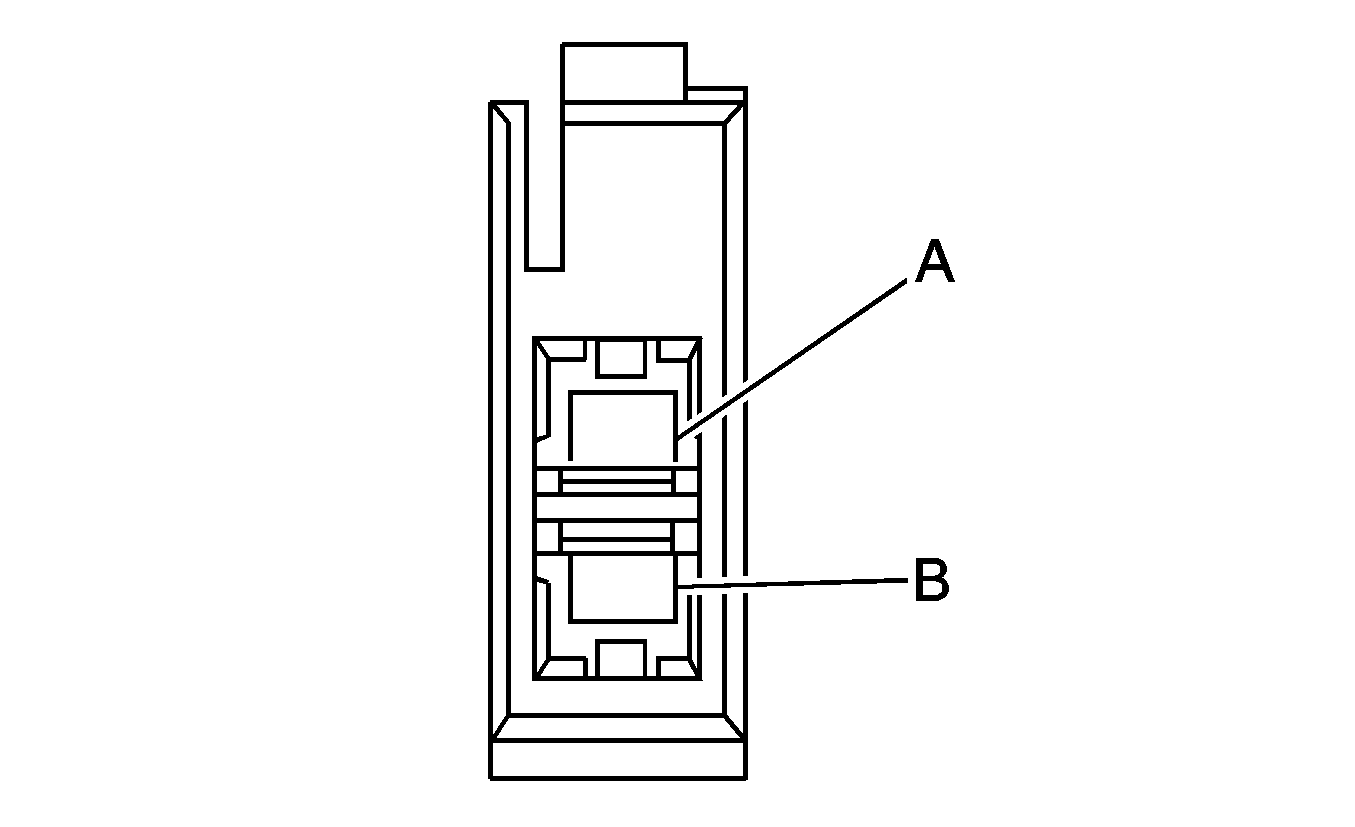
Fuel Heater


Object Number: 1428179  Size: CH

Connector Part Information

  • OEM: 7318-3324-30
  • Description: 2-Way M Yazaki (BK)

Fuel Heater

Pin

Wire Color

Circuit No.

Function

A

PK

IC35

Fuel Heater Supply Voltage

B

BK

IC36

Ground

Fuel Heater Relay


Object Number: 1427679  Size: CH

Connector Part Information

  • OEM: 7323-6055-30
  • Description: 5-Way F Yazaki (BK)

Fuel Heater Relay

Pin

Wire Color

Circuit No.

Function

30

OG

DF71

Battery Positive Voltage

85

PK

DF73

Ignition 1 Voltage

86

BK

CU18

Ground

87

PK

DF72

Fuel Heater Supply Voltage

87A

--

--

Not Used

Fuel Rail Pressure (FRP) Sensor


Object Number: 1428077  Size: CH

Connector Part Information

  • OEM: 7323-1537-30
  • Description: 3-Way F Yazaki (BK)

Fuel Rail Pressure (FRP) Sensor

Pin

Wire Color

Circuit No.

Function

1

BK

B13

Low Reference

2

WH

B25

FRP Sensor Signal

3

RD

B47

5-Volt Reference

Fuel Temperature Sensor


Object Number: 1428251  Size: CH

Connector Part Information

  • OEM: 7383-8326-10
  • Description: 2-Way F Yazaki (D-GY)

Fuel Temperature Sensor

Pin

Wire Color

Circuit No.

Function

A

BK/YE

IZ02

Low Reference

B

YE

B41

Fuel Temperature Sensor Signal

Glow Plug Relay C1


Object Number: 1454397  Size: CH

Connector Part Information

  • OEM: 7319-3023
  • Description: 2-Way F Yazaki (NA)

Glow Plug Relay C1

Pin

Wire Color

Circuit No.

Function

A

YE

HB04

Glow Plug Relay Control

B

RD/WH

HB03

ECM Voltage Supply

Glow Plug Relay C2


Object Number: 1427682  Size: CH

Connector Part Information

  • OEM: 7323-3022
  • Description: 2-Way F Yazaki (NA)

Glow Plug Relay C2

Pin

Wire Color

Circuit No.

Function

A

RD

HB01

Battery Positive Voltage

B

RD/BK

HB02

Glow Plug Supply Voltage - Bank 1

High Idle Switch (UF3)


Object Number: 237083  Size: CH

Connector Part Information

  • OEM: 7323-5060
  • Description: 6-Way F Yazaki (NA)

High Idle Switch (UF3)

Pin

Wire Color

Circuit No.

Function

1

BK

CU01

Ground

2

D-GN

CF24

High Idle Switch Signal

3

PK

CF25

Ignition 1 Voltage

4

RD

CF28

High Idle Indicator Control

5

BK/RD

CF27

Illumination Dimming Control

6

BK

CU02

Ground

Manifold Absolute Pressure (MAP) Sensor


Object Number: 684840  Size: CH

Connector Part Information

  • OEM: 12129946
  • Description: 3-Way F Metri Pack 150 Series, Sealed (L-GY)

Manifold Absolute Pressure (MAP) Sensor

Pin

Wire Color

Circuit No.

Function

A

BK

B12

Low Reference

B

WH

B24

MAP Sensor Signal

C

RD

B46

5-Volt Reference

Mass Air Flow (MAF)/Intake Air Temperature (IAT) Sensor


Object Number: 1427690  Size: CH

Connector Part Information

  • OEM: 9920-8411
  • Description: 5-Way F Sumitomo (BK)

Mass Air Flow (MAF)/Intake Air Temperature (IAT) Sensor

Pin

Wire Color

Circuit No.

Function

1

RD

IC01

Ignition 1 Voltage

2

BK

B15

Low Reference

3

WH

B28

MAF Sensor Signal

4

D-GN/WH

B37

IAT Sensor Signal

5

BK/YE

IZ04

Low Reference

Suction Control Valve (SCV)


Object Number: 1428251  Size: CH

Connector Part Information

  • OEM: 7323-8827-80
  • Description: 2-Way F Yazaki (BN)

Suction Control Valve (SCV)

Pin

Wire Color

Circuit No.

Function

A

RD

B20

SCV Low Signal

B

WH

B33

SCV High Signal

Turbocharger Vane Position (TVP) Control Solenoid Valve


Object Number: 1427687  Size: CH

Connector Part Information

  • OEM: 12162214
  • Description: 2-Way F Metri-Pack 150.2 Series, Pull to Seat, Sealed (BK)

Turbocharger Vane Position (TVP) Control Solenoid Valve

Pin

Wire Color

Circuit No.

Function

A

RD

IC02

Ignition 1 Voltage

B

BK

B1

TVP Control Solenoid Valve Control

Turbocharger Vane Position (TVP) Sensor


Object Number: 1427688  Size: CH

Connector Part Information

  • OEM: 7283-4245-30
  • Description: 4-Way F Yazaki (BK)

Turbocharger Vane Position (TVP) Sensor

Pin

Wire Color

Circuit No.

Function

1

RD

B50

5-Volt Reverence

2

BK

B16

Low Reference

3

WH

B29

TVP Sensor Signal

4

--

--

Not Used