GM Service Manual Online
For 1990-2009 cars only

Removal Procedure

    Notice: If a turbocharger has failed, clean any turbocharger debris or excessive oil from the charge air cooler system before installing the new turbocharger. Failure to clean debris from the charge air cooler system will cause severe turbocharger and engine damage upon startup. Failure to clean excessive oil from the charge air cooler system may cause an engine runaway condition on startup, resulting in severe engine damage.

  1. Tilt the cab. Refer to Cab Tilting .
  2. Disconnect the negative battery cable at the battery. Refer to Battery Negative Cable Disconnection and Connection .
  3. Remove the air inlet pipe from the turbocharger and the charge air cooler . Refer to Charge Air Cooler Inlet Pipe and Outlet Pipe Replacement .

  4. Object Number: 1400959  Size: SH
  5. Remove the exhaust pipe clamp and the exhaust pipe from the exhaust pipe adapter.

  6. Object Number: 1253437  Size: SH
  7. Loosen the 2 clamps and remove the air inlet duct from the turbocharger and the air inlet tube.

  8. Object Number: 1401155  Size: SH
  9. Remove the heat shield bolts (5) and the heat shield (4) from the turbocharger.
  10. Remove the heat shield adapter bolts (1, 3) and the heat shield adapter (2) from the turbocharger and the manifold.

  11. Object Number: 1401136  Size: SH
  12. Disconnect the turbocharger vane position sensor electrical connector (1).
  13. Disconnect the turbocharger vane position control solenoid electrical connector (2).

  14. Object Number: 1369870  Size: SH
  15. Remove the coolant feed line eye bolts (6), washers (4) and the coolant feed line (5) from the turbocharger and the engine block.
  16. Remove the coolant return line eye bolt (1), washer (2) and the coolant return line (3) from the turbocharger.
  17. Remove the coolant return line clamp bolt and clamp.

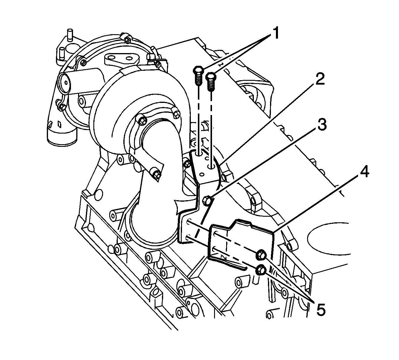
  18. Object Number: 1369897  Size: SH
  19. Remove the oil feed pipe eye bolts (5, 9), gaskets (6, 10) and the oil feed pipe (1) from the engine block and the turbocharger.
  20. Remove the oil return tube bolts (3, 7) oil return tube (2) and gaskets (4, 8) from the turbocharger and the engine block.
  21. Remove the exhaust pipe adapter bracket bolts (5, 7) and the exhaust pipe adapter bracket (6) from the exhaust pipe adapter bracket base (9) and the exhaust pipe adapter (4).
  22. Remove the exhaust pipe adapter bracket base bolts (8, 10) and the exhaust pipe adapter bracket base (9) from the engine block and the exhaust pipe adapter (4).

  23. Object Number: 1369876  Size: SH
  24. Remove the exhaust pipe adapter nuts and washers (2, 3), the exhaust pipe adapter (4) and the exhaust pipe adapter gasket (1) from the turbocharger.

  25. Object Number: 1369898  Size: SH
  26. Remove the turbocharger nuts and washers (3), bolts (4), turbocharger (1) and gasket (2) from the exhaust manifold.

Bearing Radial Clearance Measurement Procedure


    Object Number: 736622  Size: SH
  1. Use a dial indicator with an offset plunger and magnetic base. Set the plunger so that the indicator touches the turbocharger main shaft.
  2. Set the dial indicator to 0.
  3. Hold the turbocharger shaft to prevent it from moving. Move the compressor and turbine wheel up and down. Read the shaft diametrical play, compressor and turbine side clearance, on the dial indicator.
  4. Specification
    Compressor and Turbine Shaft Play: 0.0-0.0 mm (0.0-0.0 in)

Compressor End Play Measurement Procedure


    Object Number: 737438  Size: SH
  1. Use a dial indicator with an offset plunger and magnetic base. Set the plunger so that the indicator touches the turbocharger main shaft.
  2. Set the dial indicator to 0.
  3. Move the turbocharger shaft back and forth. Read the thrust end play, compressor clearance, on the dial indicator.
  4. Specification
    Thrust End Play: 0.0-0.0 mm (0.0-0.0 in)

Inspection Procedure

  1. Inspect the gasket mating surfaces of the turbocharger for cracks.
  2. Inspect the turbine blades for carbon residue and other damage.
  3. Use your hand to rotate the compressor wheel. The compressor wheel must turn smoothly and freely. There must be no binding or abnormal noise.

Installation Procedure


    Object Number: 1369898  Size: SH
  1. Install the gasket (2). The unmarked side of the gasket must be facing the exhaust manifold.
  2. Install the turbocharger (1) to the exhaust manifold.
  3. Notice: Refer to Fastener Notice in the Preface section.


    Object Number: 1369897  Size: SH
  4. Install the oil drain tube (2) and gaskets (4, 8) to the turbocharger and cylinder block with bolts (3, 7).
  5. Tighten
    Tighten the oil drain tube bolts (3, 7) to 25 N·m (18 lb ft).

  6. Install the washers and nuts (3) to the exhaust manifold bolts (4).
  7. Tighten
    Tighten the turbocharger nuts (3) to 52 N·m (38 lb ft).

    Important: Pour 118.3 ml (4 ounces) of clean engine oil into the oil feed port to pre-lubricate the turbocharger. Turn the compressor wheel with your hand to distribute the oil.

  8. Install the oil feed pipe (1) and gaskets (6) to the turbocharger and cylinder block with eye bolts (5, 9).
  9. Tighten

        • Tighten the eye bolt (9) to 34 N·m (25 lb ft).
        • Tighten the eye bolt (5) to 41 N·m (30 lb ft).
  10. Install the oil feed pipe clamp and bolt.

  11. Object Number: 1369876  Size: SH
  12. Install the gasket (1) to the exhaust pipe adapter (4).
  13. Connect the exhaust pipe adapter (4) to the turbocharger.
  14. Install the exhaust pipe adapter nuts and washers (2, 3) to the turbocharger.
  15. Tighten
    Tighten the exhaust pipe adapter nuts to 26 N·m (19 lb ft).

  16. Install the exhaust pipe adapter bracket base (9) to the cylinder block with bolts (8, 10).
  17. Tighten

        • Tighten the exhaust pipe adapter bracket base bolt (10) to 148 N·m (109 lb ft).
        • Tighten the exhaust pipe adapter bracket base bolt (8) to 24 N·m (18 lb ft).
  18. Install the exhaust pipe adapter bracket (6) to the exhaust pipe adapter bracket base (9) and the turbocharger with bolts (5, 7).
  19. Tighten

        • Tighten the exhaust pipe adapter bracket bolt (7) to 97 N·m (72 lb ft).
        • Tighten the exhaust pipe adapter bracket bolt (5) to 50 N·m (37 lb ft).

    Object Number: 1401155  Size: SH
  20. Install the heat shield adapter bracket (2) to the exhaust manifold and the exhaust pipe adapter assembly.
  21. Tighten
    Tighten the heat shield adapter bracket bolts (1, 3) to 71 N·m (52 lb ft).

  22. Install the heat shield (4) to the heat shield adapter bracket (2) with 2 bolts (5).
  23. Tighten
    Tighten the heat shield bolts (5) to 24 N·m (18 lb ft).


    Object Number: 1550319  Size: SH
  24. Install the water pipes (1, 4) to the turbocharger with 2 gaskets (2, 5) and eye bolts (3, 6).
  25. Tighten
    Tighten the joint bolts (3, 6) to 41 N·m (30 lb ft).

  26. Connect the turbocharger vane position sensor connector (1).

  27. Object Number: 1401136  Size: SH
  28. Connect the turbocharger vane position control solenoid electrical connector.

  29. Object Number: 1400959  Size: SH
  30. Install the exhaust pipe to the exhaust pipe adapter with clamp.

  31. Object Number: 1253437  Size: SH
  32. Install the inlet duct to the turbocharger and the air inlet tube with 2 clamps.
  33. Connect the air inlet hose to the turbocharger and the charge air cooler. Refer to Charge Air Cooler Inlet Pipe and Outlet Pipe Replacement .
  34. Connect the negative battery cable at the battery. Refer to Battery Negative Cable Disconnection and Connection .
  35. Lower the cab.
  36. Perform the turbocharger learn procedure. Refer to Turbocharger Learn .