GM Service Manual Online
For 1990-2009 cars only
Connector 1: Controller Area Network (CAN) Connector
Connector 2: Data Link Communications Resistor 1
Connector 3: Data Link Communications Resistor 2
Connector 4: Data Link Connector (DLC)
Connector 5: Serial Data Gateway (SDG) Module - JE4 or JE3 w/Allison® MD
Connector 6: Splice Pack SP205
Connector 7: Splice Pack SP206
Connector 8: Splice Pack SP209
Connector 9: Splice Pack SP21
Connector 10: Splice Pack SP230
Connector 11: Splice Pack SP231

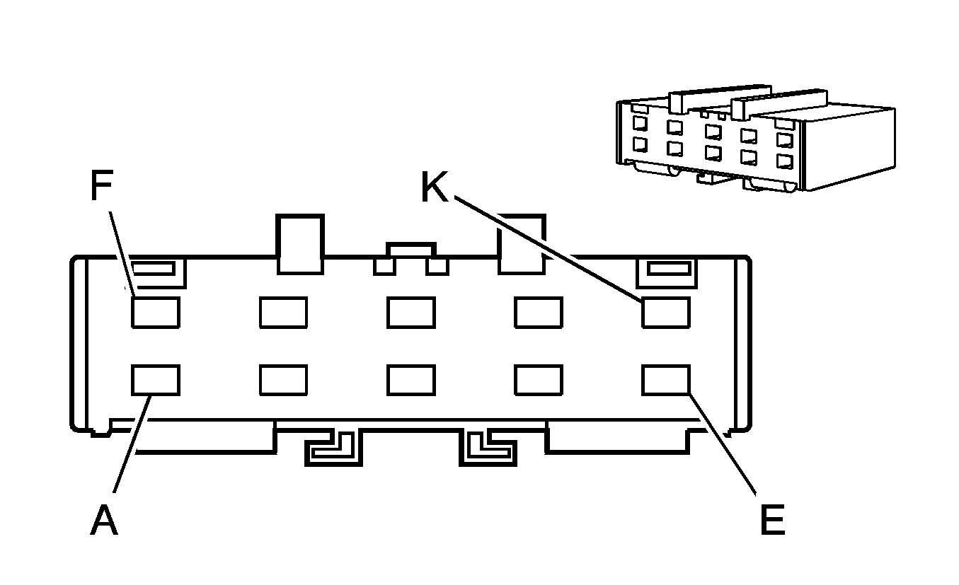
Controller Area Network (CAN) Connector


Object Number: 855174  Size: CH

Connector Part Information

  • OEM: Deutsch HD 10-9-1939PE
  • Description: 9-Way F (BK)

Controller Area Network (CAN) Connector

Pin

Wire Color

Circuit No.

Function

A

BK

HU04

Ground

B

OG

HF10

Battery Positive Voltage

C

D-BU

HF21

J1939 Serial Data High

D

BK/WH

HF22

J1939 Serial Data Low

E

--

--

Not Used

F

D-GN/WH

HF11

SAE J1708 Serial Data A

G

D-GN

HF12

SAE J1708 Serial Data B

H

--

--

Not Used

J

L-BU

NF09

Return

Data Link Communications Resistor 1


Object Number: 1430188  Size: CH

Connector Part Information

  • OEM: 15324657
  • Description: 3-Way F (L-GY)

Data Link Communications Resistor 1

Pin

Wire Color

Circuit No.

Function

A

L-GN/RD

TF08

CAN Low

B

WH/RD

TF07

CAN High

C

--

--

Not Used

Data Link Communications Resistor 2


Object Number: 1430190  Size: CH

Connector Part Information

  • OEM: 7323-6122-90
  • Description: 2-Way F Yazaki (BU)

Data Link Communications Resistor 2

Pin

Wire Color

Circuit No.

Function

A

BK/WH

TF02

CAN Low

B

D-BU

TF01

CAN High

Data Link Connector (DLC)


Object Number: 68793  Size: CH

Connector Part Information

  • OEM: 12110250
  • Description: 16-Way F (BK)

Data Link Connector (DLC)

Pin

Wire Color

Circuit No.

Function

1

--

--

Not Used

2

PU

HF09

SAE J1850 Serial Data

3

--

--

Not Used

4

BK

HU02

Ground

5

BK/WH

HU03

Ground

6

--

--

Not Used

7

D-GN/WH

HF07

SAE J1708 Serial Data A (JE4 and Allison® MD)

8-14

--

--

Not Used

15

D-GN

HF08

SAE J1708 Serial Data B

16

OG

HF06

Battery Positive Voltage

Serial Data Gateway (SDG) Module - JE4 or JE3 w/Allison® MD


Object Number: 744296  Size: CH

Connector Part Information

  • OEM: 12110259
  • Description: 16-Way F Micro-Pack 100 Series (GN)

Serial Data Gateway (SDG) Module - JE4 or JE3 w/Allison® MD

Pin

Wire Color

Circuit No.

Function

A1

BK/WH

HF18

J1939 Serial Data Low

A2

D-BU

HF17

J1939 Serial Data High

A3

--

--

Not Used

A4

BK/WH

HU01

Ground

A5

--

--

Not Used

A6

OG

HF01

Battery Positive Voltage

A7

--

--

Not Used

A8

RD/WH

HF05

Class 2 Serial Data

B1-B5

--

--

Not Used

B6

PK

HF02

Run/Start Voltage

B7-B8

--

--

Not Used

Splice Pack SP205


Object Number: 1210690  Size: CH

Connector Part Information

  • OEM: 7323-7500
  • Description: 10-Way F Yazaki (NA)

Splice Pack SP205

Pin

Wire Color

Circuit No.

Function

A

D-GN

HF08

J1708 Serial Data B

B

D-GN

HF12

J1708 Serial Data B

C

--

--

Not Used

D

D-GN/WH

HF07

J1708 Serial Data A

E

D-GN/WH

HF11

J1708 Serial Data A

F

D-GN

BB17

J1708 Serial Data B

G

D-GN

NF08

J1708 Serial Data B

H

--

--

Not Used

J

D-GN/WH

BB16

J1708 Serial Data A

K

D-GN/WH

NF08

J1708 Serial Data A

Splice Pack SP206


Object Number: 338576  Size: CH

Connector Part Information

  • OEM: 12191216
  • Description: 12-Way F Splice Savers Single Row (GY)

Splice Pack SP206

Pin

Wire Color

Circuit No.

Function

A

PU

HF09

DLC Class 2 Serial Data

B

D-GN

CF34

ECM/PCM/VCM Class 2 Serial Data

C

RD/WH

HF05

Class 2 Serial Data

D

--

--

Not Used

E

L-BU

BG04

ABS/TCS Class 2 Serial Data (JE3)

--

--

Not Used (JE4)

F

--

--

Not Used

G

GY

MA04

IPC Class 2 Serial Data

H-J

--

--

Not Used

K

YE

OA57

J1850 Class 2 Serial Data (Allison® LCT)

--

--

Not Used (All Others)

L

--

--

Not Used

M

D-BU/WH

HF16

Chime Module Bit 1 Signal

Splice Pack SP209


Object Number: 1210689  Size: CH

Connector Part Information

  • OEM: 7383-8660
  • Description: 6-Way F Yazaki (WH)

Splice Pack SP209

Pin

Wire Color

Circuit No.

Function

A

BK/WH

HF18

CAN Low

B

BK/WH

TF04

CAN Low

C

BK/WH

TF02

CAN Low

D

D-BU

HF17

CAN High

E

D-BU

TF03

CAN High

F

D-BU

TF01

CAN High

Splice Pack SP21


Object Number: 1210689  Size: CH

Connector Part Information

  • OEM: 7383-8660
  • Description: 6-Way F Yazaki (WH)

Splice Pack SP219

Pin

Wire Color

Circuit No.

Function

A

GY/D-BU

TF06

Shield

B

GY/D-BU

HF20

Shield

C-F

--

--

Not Used

Splice Pack SP230


Object Number: 1210689  Size: CH

Connector Part Information

  • OEM: 7383-8660
  • Description: 6-Way F Yazaki (WH)

Splice Pack SP230

Pin

Wire Color

Circuit No.

Function

A

BK/WH

OA61

CAN Low (Allison® LCT)

BK/WH

NF64

CAN Low (Allison® MD)

B

BK/WH

TF09

CAN Low

C

BK/WH

TF04

CAN Low

D

D-BU

OA60

CAN High (Allison® LCT)

D-BU

NF63

CAN High (Allison® MD)

E

D-BU

TF08

CAN High

F

D-BU

TF03

CAN High

Splice Pack SP231


Object Number: 1210689  Size: CH

Connector Part Information

  • OEM: 7383-8660
  • Description: 6-Way F Yazaki (WH)

Splice Pack SP231

Pin

Wire Color

Circuit No.

Function

A

GY/D-BU

TF06

Shield

B

GY/D-BU

TF11

Shield

C

GY/D-BU

OA63

Shield (Allison® LCT)

GY/D-BU

NF66

Shield (Allison® MD)

D-F

--

--

Not Used