GM Service Manual Online
For 1990-2009 cars only

Special Tools

J 41221 Oil Seal Installer

Removal Procedure


    Object Number: 1997816  Size: SH
  1. Remove the oil pan. Refer to Oil Pan Replacement .
  2. Remove the crank pulley.

  3. Object Number: 1998082  Size: SH
  4. Remove the damper to the crankshaft pulley.
  5. Inspect the damper for cracks or breakaway. If cracks or breakaway are present, replace the damper.
  6. Remove the water duct.
  7. Remove the O-ring.
  8. Remove the adjustment plate.
  9. Remove the gear case cover.
  10. Remove the idling gear and the idling gear shaft.

  11. Object Number: 1996777  Size: SH
  12. Install bolts into the gear case replacer holes.
  13. Remove the gear case.

  14. Object Number: 1996784  Size: SH
  15. Remove the O-ring.
  16. Remove the front cover oil seal. Refer to Crankshaft Front Oil Seal Replacement .
  17. Remove the front cover bolts.
  18. Remove the front cover.
  19. Important: The oil slinger must be replaced if the front cover oil seal has been removed.

  20. Using the J 41221 , remove the oil slinger.

  21. Object Number: 1998013  Size: SH
  22. Remove the water pump bolts.
  23. Remove the water pump.
  24. Remove the gear case cover bolts.
  25. Remove the gear case cover.

  26. Object Number: 1998032  Size: SH
  27. Remove the idling gear shaft.
  28. Remove the power steering pump idling gear.

  29. Object Number: 1998073  Size: SH
  30. Remove the adjustment plate.

  31. Object Number: 1998063  Size: SH
  32. Remove the gear case.
  33. Remove and discard the O-ring (1).

Installation Procedure

    Notice: Refer to Fastener Notice in the Preface section.


    Object Number: 1998063  Size: SH

    Important: 

       • Do not forget to apply liquid gasket to the arrow sections of the diagram.
       • Attach the gear case within 7 minutes of applying the liquid gasket to prevent the liquid gasket from drying.
       • Use Three Bond No. 1208 or CH Dyne 290 to prevent the O-ring from falling out.

  1. Attach the gear case as follows:
  2. 1.1. Position the gear case and apply a bead of liquid gasket (Three Bond No. 1207C or No. 1216C), approximately 2-3 mm (0.0787-01181 in) wide.
    1.2. Assemble the O-ring (1).
    1.3. Install the gear case bolts.

    Tighten
    Tighten the power steering idling gear bolt to 19 N·m (14 lb ft).


    Object Number: 1998073  Size: SH
  3. Secure the adjustment plate.
  4. Tighten
    Tighten the adjustment plate to 19 N·m (14 lb ft).

  5. Install the power steering pump idling gear.
  6. Tighten
    Tighten the power steering idling gear bolt to 19 N·m (14 lb ft).


    Object Number: 1998032  Size: SH
  7. Apply oil to the idling gear rotational movement section and attach it to the shaft.
  8. Point the shaft notch section towards the crankshaft side, and attach it to the gear case.
  9. Attach the idling gear shaft.

  10. Object Number: 1998027  Size: SH
  11. Position gear case cover.
  12. Important: Attach the gear case within 7 minutes of applying the liquid gasket to prevent the liquid gasket from drying.

  13. Apply a bead of liquid gasket (Three bond No. 1207C), approximately 2-3 mm (0.0787-0.1181 in) to the gear case cover.
  14. Attach the gear case cover.
  15. Tighten
    Tighten the gear case bolts to 19 N·m (14 lb ft).


    Object Number: 1998007  Size: SH

    Important: 

       • Attach water pump within 7 minutes of applying the liquid gasket to prevent the liquid gasket from drying.
       • Do not apply gasket in area shown (1).

  16. Apply liquid gasket to the water pump.
  17. Attach the water pump.

  18. Object Number: 1998013  Size: SH
  19. Install the water pump bolts.
  20. Tighten
    Tighten the water pump bolts to 19 N·m (14 lb ft).


    Object Number: 1997991  Size: SH
  21. Apply clean engine oil to the oil slinger.
  22. Insert the oil slinger into the adapter.
  23. Install the oil slinger sleeve (4) to the adapter.
  24. Tighten the center bolt (5) until the sleeve comes in contact with the adapter and stops.

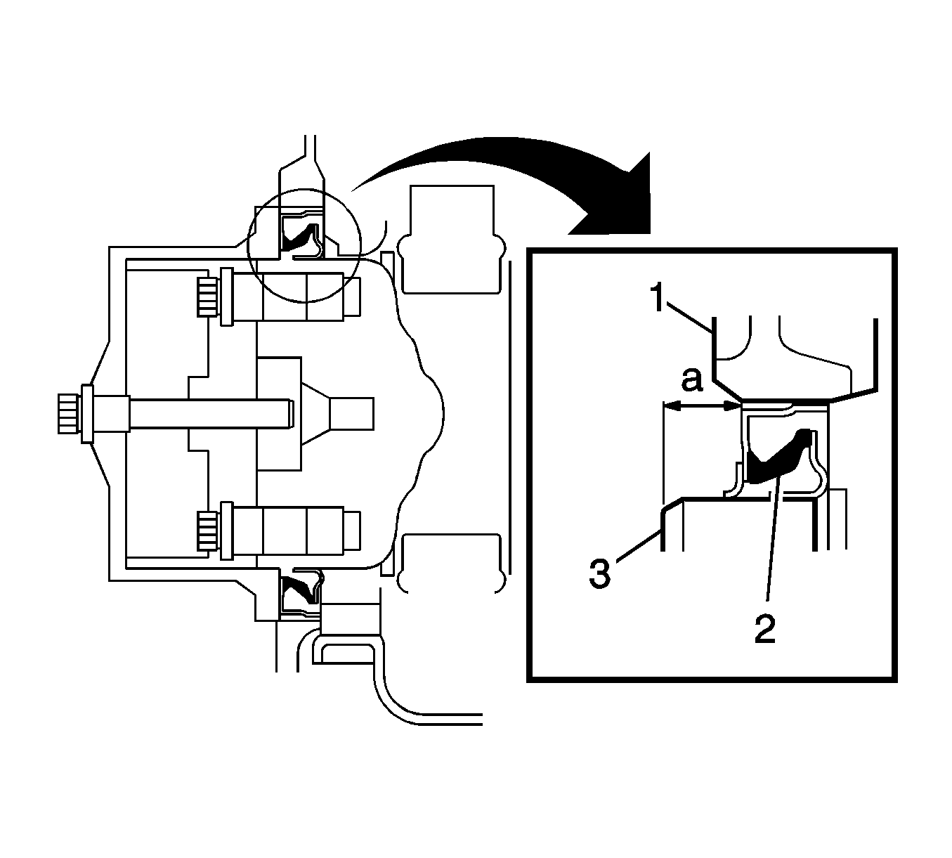
  25. Object Number: 1997944  Size: SH
  26. Inspect the distance (1) between the crankshaft end surface (3) and the oil slinger (2) at several points, ensuring that the measurement is 17.7-18.3 mm (0.6968-0.7205 in).
  27. Apply sealant on the cylinder block.
  28. Install the front cover.
  29. Install the front cover bolts.
  30. Tighten
    Tighten the front cover bolts to 19 N·m (14 lb ft).


    Object Number: 1997914  Size: SH

    Important: Apply oil to the oil seal lip section.

  31. Install the J 41221 on the crankshaft as follows:
  32. 21.1. Install the oil seal (2) to the crankshaft front cover.
    21.2. Install the front adapter (1) to the oil seal (2).
    21.3. Install the adaptor bolts (3) and sleeve (4).
    21.4. Install the center bolt (5) to the crankshaft.

    Object Number: 1997926  Size: SH
  33. Install the front cover oil seal.

  34. Object Number: 1997839  Size: SH

    Important: Check that the oil seal is press-fitted with no deflection.

  35. Measure the crankshaft edge-to-oil seal surface dimensions (1).
  36. Measure
    Oil seal press fit 8.35-8.65 mm (0.3287-0.3406 in).


    Object Number: 1996777  Size: SH
  37. Install the O-ring.
  38. Position the gear case.
  39. Remove the bolts from the gear case replacer holes.
  40. Install the idling gear and the idling gear shaft.
  41. Install the gear case cover.
  42. Install the adjustment plate.
  43. Install the O-ring.
  44. Install the water duct.

  45. Object Number: 1998082  Size: SH
  46. Install the damper to the crankshaft pulley.
  47. Tighten
    Tighten the damper bolts to 48 N·m (35 lb ft).


    Object Number: 1997816  Size: SH
  48. Install the crank pulley.
  49. Tighten
    Tighten the crank pulley bolts to 200 N·m (148 lb ft).

  50. Install the oil pan. Refer to Oil Pan Replacement .