GM Service Manual Online
For 1990-2009 cars only
Makes
🢒
Isuzu
🢒
2008
🢒
Isuzu MD F-Series
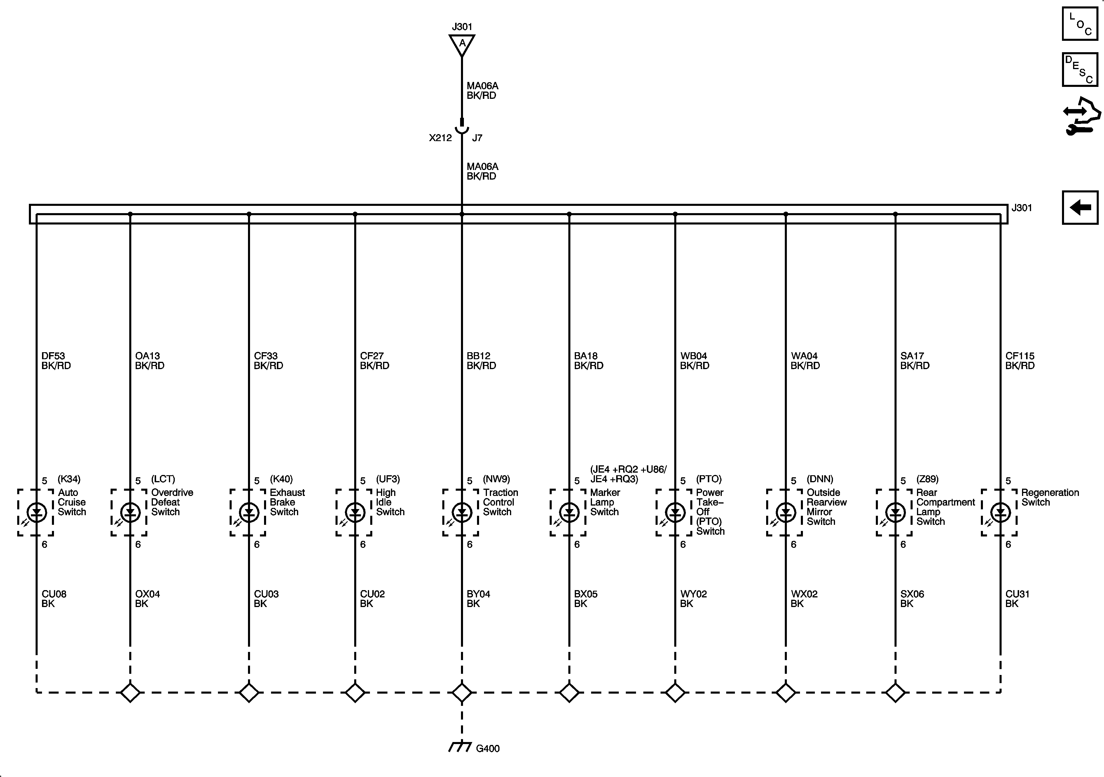
🢒 Splice J301
Splice J301
Splice S321
Master Electrical Component List
Interior Lighting Systems Description and Operation
Control Module References
I/P Dimmer Switch and Splice J321
I/P Dimmer Switch and Splice J321
Exterior Lights Schematics