GM Service Manual Online
For 1990-2009 cars only

The parking brake is not designed for use in place of service brakes. Apply the parking brake only after the vehicle is brought to a complete stop, except in an emergency. Mechanically actuated parking brakes are internal-expanding drum-and-shoe type. The parking brakes are identified by their drum diameters and manufacturers. The transmission in the vehicle determines which parking brake is used.

Lever

Parking Brake Lever


Object Number: 221273  Size: SH

Cable to Lever Attachment


Object Number: 221274  Size: SH

The parking brake hand lever is mounted next to the driver's seat. The parking brake hand lever connects to the parking brake by a flexible cable. The cable end at the parking brake may have the following components in order to connect with the brake mechanism:

    • A clevis
    • A rod eye
    • A pin

Cable System

Cable Routing on the Cab


Object Number: 221276  Size: SH

Cable Mounting to the Cab


Object Number: 221277  Size: SH

Cable Routing


Object Number: 229417  Size: SH

Mounting Bracket


Object Number: 229421  Size: SH

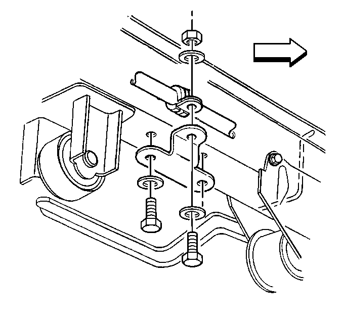
Bracket Adjustment (Manual Transmission)


Object Number: 229422  Size: SH

Cable Mounting (Automatic Transmission)


Object Number: 221282  Size: SH

Bracket Adjustment (Automatic Transmission)


Object Number: 199944  Size: SH

A cable connects the lever to the propeller shaft-mounted parking brake. Coated parking brake cable assemblies are used on these vehicles. The wire strand is coated with a nylon material that slides through plastic seals inside the conduit end fittings. The nylon material protects the cable from corrosion and reduces parking brake effort.

Notice: Handling of the parking brake cables during service requires extra care. Damage to the nylon coating reduces the corrosion protection. If the damaged area passes through the seal, increased parking brake effort could result. Avoid contacting the coating with sharp-edged tools, or the sharp surfaces of the vehicle underbody.

In order to prevent damage to the threaded parking brake adjusting rod when servicing the parking brake, complete the following steps:

    • Before turning the adjusting yoke, clean the exposed threads on each side of the yoke.
    • Lubricate the threads of the adjusting rod before turning the yoke.

Brake Lamp

The BRAKE warning lamp on the instrument cluster turns ON when you apply the parking brake. The BRAKE lamp can also be turned ON by the switch in the combination valve and the antilock brake system.

Parking Brake Switch

The parking brake switch is located on the lever assembly. The switch turns ON the BRAKE lamp when you apply the parking brake and turns OFF the BRAKE lamp when you release the parking brake.

Daytime Running Lamps

This vehicle uses a daytime running lamp (DRL) system. This system uses the parking brake switch in order to turn OFF the DRL when the ignition switch is ON and the parking brake is applied. Refer to Headlights/Daytime Running Lights (DRL) Circuit Description in Body and Accessories for more information on DRL.