GM Service Manual Online
For 1990-2009 cars only

Removal Procedure

Tools Required

    • J 3453 Holding Bar
    • J 7804-A Puller
  1. Support the propeller shaft assembly.
  2. Remove the universal joint from the yoke. Refer to Universal Joint Replacement .
  3. Remove the bracket mounting bolts and nuts.
  4. Remove the bracket and the retainer.

  5. Object Number: 198518  Size: SH
  6. Remove the yoke nut using the J 3453 .

  7. Object Number: 198515  Size: SH
  8. Remove the yoke from the propeller shaft using the J 7804-A .
  9. Remove the slinger.
  10. Remove the grease retainer, if equipped.

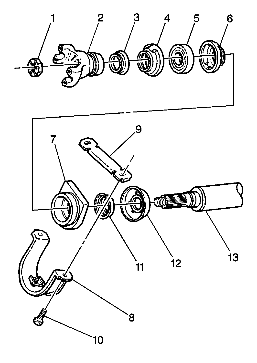
  11. Object Number: 198520  Size: MH
  12. Remove the center bearing (5).
  13. Remove the grease retainer (4 and 6), if equipped.
  14. Remove the rubber cushion (7).
  15. Remove the slinger (11) and dust shield (12), if used.
  16. Notice: Clean bearings in clean mineral spirits paint thinner, or equivalent. Do not spin dry bearings. Bearings can be damaged by use of wrong cleaning solvents and rough handling.

  17. Clean the following components:
  18. • The slingers
    • The grease retainers
    •  The center bearing
    • The rubber cushion
  19. Inspect the following components for wear or damage:
  20. • The center bearing
    • The rubber cushion
    • The slingers
    • The grease retainers

Installation Procedure

Tools Required

J 3453 Holding Bar

  1. Install the lubricant into the grease retainers, if equipped. Refer to Propeller Shaft Assembly Component Lubrication .

  2. Object Number: 198520  Size: MH
  3. Install the grease retainers (4, 6), if equipped, to the center bearing (5).
  4. Install the center bearing (5) into the rubber cushion (7).
  5. Install the dust shield (12), if used.
  6. Install the slinger (11).
  7. Install the center bearing (5) on the propeller shaft (13).
  8. Install the slinger (11) on the propeller shaft (13).
  9. Install the yoke (2).
  10. Notice: Use the correct fastener in the correct location. Replacement fasteners must be the correct part number for that application. Fasteners requiring replacement or fasteners requiring the use of thread locking compound or sealant are identified in the service procedure. Do not use paints, lubricants, or corrosion inhibitors on fasteners or fastener joint surfaces unless specified. These coatings affect fastener torque and joint clamping force and may damage the fastener. Use the correct tightening sequence and specifications when installing fasteners in order to avoid damage to parts and systems.

  11. Install the yoke nut (1) using the J 3453 .
  12. Tighten

        • Tighten the series 1480 nut to 779 N·m (575 lb ft).
        • Tighten the series 1550 bolt to 216 N·m (160 lb ft).
        • Tighten the series 1610 or 1710 nut to 983 N·m (725 lb ft).
  13. Install the bracket (8) and the retainer (9) to the rubber cushion (7).
  14. Install the mounting bolts (10) and nuts.
  15. Tighten
    Tighten the propeller shaft hanger nuts to 70 N·m (52 lb ft).

  16. Install the universal joint. Refer to Universal Joint Replacement .