GM Service Manual Online
For 1990-2009 cars only

Object Number: 198598  Size: SH

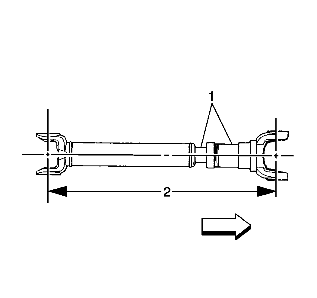
All propeller shafts (1) are designed and built with the yoke lugs (ears) in line with each other. This condition is called phasing.

The shaft will absorb the vibration from the speeding up and slowing down each time the universal joint rotates. Mark the propeller shafts when disassembling, in order to assure proper assembly alignment. Some propeller shafts have alignment arrows stamped on them at the time of production.