GM Service Manual Online
For 1990-2009 cars only
Figure 1:

Turn Signal Harness, Left Side


Object Number: 216301  Size: LF
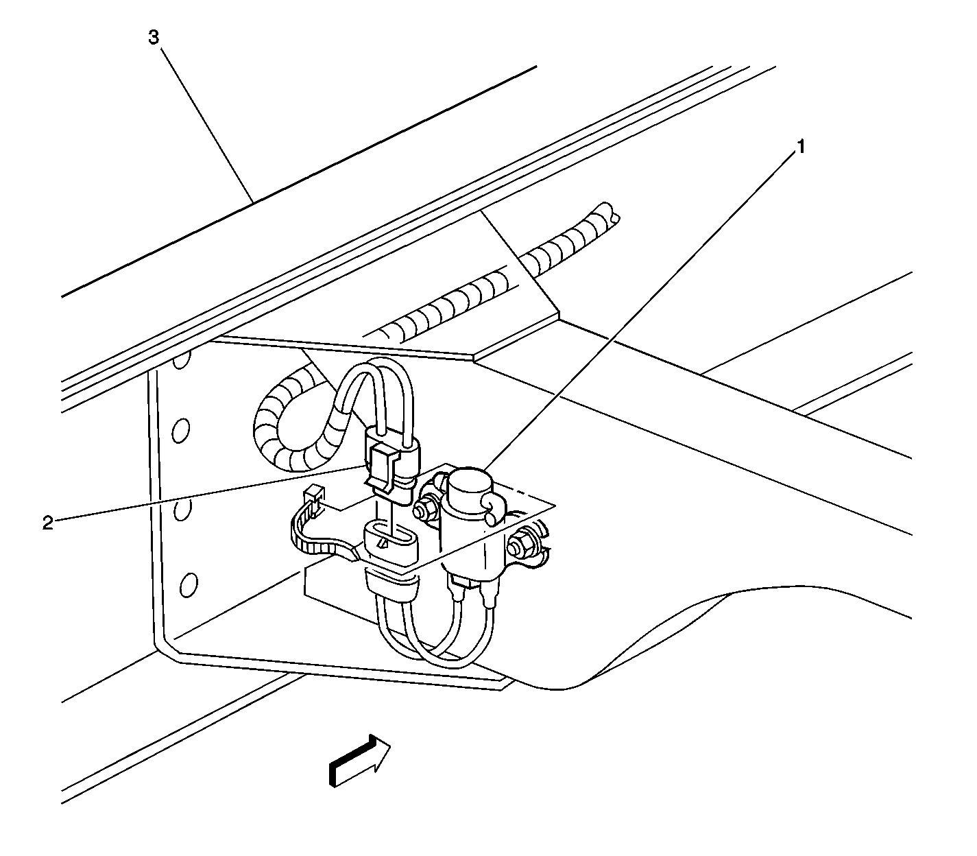
Figure 2:

Turn Signal Harness, Right Side


Object Number: 635532  Size: LF
(1)Right Front Park and Turn Signal Lamp
(2)A/C Pressure Cut Off Switch
(3)A/C Condenser
Figure 3:

Front Chassis Harness (JE3


Object Number: 635543  Size: LF
(1)C105
(2)G105
(3)G105
(4)C107
(5)Condenser Fan Connector
Figure 4:

Front Chassis Harness RPO-JE4


Object Number: 216343  Size: LF
Figure 5:

Front Chassis Harness to Brake Components (ABS-Hydraulic)


Object Number: 216346  Size: LF
Figure 6:

Front Chassis Harness to Brake Components


Object Number: 216350  Size: LF
Figure 7:

Front Chassis Harness to Brake Components (ABS-Air)


Object Number: 216352  Size: LF
Figure 8:

Front Chassis Harness, Center (LG4


Object Number: 635548  Size: LF
(1)C116 (8 Cavities)
(2)C118 (2 Cavities)
(3)Left Frame Rail
Figure 9:

Front Chassis Harness at Rear of Engine (LG5)


Object Number: 635549  Size: LF
(1)G111
(2)Left Side Frame Rail
(3)G107
Figure 10:

Cover to Cab Interface Removal


Object Number: 216373  Size: LF
Figure 11:

Front Chassis Harness to Cab


Object Number: 628181  Size: LF
(1)C204 (3 Cavities)
(2)C206 (2 Cavities)
(3)C202 (56 Cavities)
(4)Cab Interface Connector Housing
(5)C205 (1 Cavity) (LG4 Only)
(6)C207 (1 Cavity) (LG4 Only)
(7)P100
(8)C200 (56 Cavities)
(9)Front Chassis Harness
(10)P101
Figure 12:

Front Chassis to Harness Rear Support


Object Number: 635553  Size: LF
(1)Fuel Pump
(2)Rear Support
Figure 13:

Front Chassis Harness, Maxi-Fuse® Block


Object Number: 216377  Size: LF
Figure 14:

Front Chassis Harness to Control Valves


Object Number: 223179  Size: LF
Figure 15:

Front Chassis Harness to Coolant Level Switch RPO-LXO


Object Number: 216381  Size: LF
Figure 16:

Trailer Stop and ABS Relay Installation to Bracket RPO-JE3


Object Number: 223279  Size: LF
Figure 17:

Trailer Stop and ABS Relay Installation to Bracket RPO-JE4


Object Number: 223187  Size: LF
Figure 18:

Front Chassis Harness to ABS Control Unit RPO-JE4 and JE5


Object Number: 216384  Size: LF
Figure 19:

Front Chassis Harness to Engine


Object Number: 223194  Size: LF
Figure 20:

Front Chassis Harness to Starter Harness


Object Number: 223206  Size: LF
Figure 21:

Front Chassis Harness to Starter Harness RPO-M54 and JE3


Object Number: 223210  Size: LF
Figure 22:

Front Chassis Harness to Left Side of Engine


Object Number: 223214  Size: LF
Figure 23:

Front Chassis Harness to Left Rear of Frame (JE3


Object Number: 628256  Size: LF
(1)Front Chassis Harness
(2)C413 (4 Cavities)
(3)Electronic Brake Control Harness (JE3)
Figure 24:

Front Chassis Harness to Left Rear of Frame RPO-JE4 and JE5


Object Number: 223217  Size: LF
Figure 25:

Front Chassis Harness to Exhaust Brake


Object Number: 635535  Size: LF
(1)Engine Exhaust Brake Solenoid Valve
(2)Front Chassis Harness Connector
(3)Left Frame Rail at #2 Crossmember
Figure 26:

Front Chassis Harness to Right Rear of Frame


Object Number: 223222  Size: LF
Figure 27:

Front Chassis Harness to Low Air Pressure Switch


Object Number: 216402  Size: LF
Figure 28:

Transmission Harness to Automatic Transmission (Backup Switch and Speed Sensor)


Object Number: 216412  Size: LF
Figure 29:

Transmission Harness to Manual Transmission RPO-MTH/MUT/MWK (Backup Switch and Speed Sensor)


Object Number: 216421  Size: LF
Figure 30:

Electric Brake Control Harness, Center


Object Number: 216426  Size: LF
Figure 31:

Fuel Tank Harness, Left Side


Object Number: 216429  Size: LF
Figure 32:

Fuel Tank Harness to Level Controls (1 of 2)


Object Number: 216454  Size: LF
Figure 33:

Fuel Tank Harness to Level Controls (2 of 2)


Object Number: 216463  Size: LF
Figure 34:

Fuel Tank Harness, Right Side


Object Number: 216465  Size: LF
Figure 35:

Electric Brake Control Harness, Center RPO-JE3 and EM2


Object Number: 216483  Size: LF
Figure 36:

Electric Brake Control Harness, Center RPO-JE3 and FPL


Object Number: 216486  Size: LF
Figure 37:

Electric Brake Control Harness, Center RPO-JE3 and EQ8


Object Number: 216491  Size: LF
Figure 38:

Electric Brake Control Harness, Center RPO-JE3 and ES5


Object Number: 216494  Size: LF
Figure 39:

Electric Brake Control Harness, Rear RPO-JE4 and JE5 and G40


Object Number: 216499  Size: LF
Figure 40:

Electric Brake Control Harness, Rear (ABS-Air)


Object Number: 216501  Size: LF
Figure 41:

Trailer Harness, Front


Object Number: 635555  Size: LF
(1)Right Frame Rail
(2)Battery Ground Block
(3)Low Air Pressure Switch (JE4)
(4)C403
(5)C405
Figure 42:

Trailer Harness, Center


Object Number: 216503  Size: LF
Figure 43:

Trailer Harness, Center RPO-FQT and U86


Object Number: 216093  Size: LF
Figure 44:

Tail Light Harness


Object Number: 202612  Size: LF