GM Service Manual Online
For 1990-2009 cars only

Reservoir Replacement Supply

Removal Procedure

  1. Apply the parking brake.
  2. Block the wheels.
  3. Drain all the reservoirs. Refer to Draining Reservoirs
  4. Remove the air lines. Refer to Trailer Coupling Hose and Line Bracket Replacement .

  5. Object Number: 201630  Size: MH
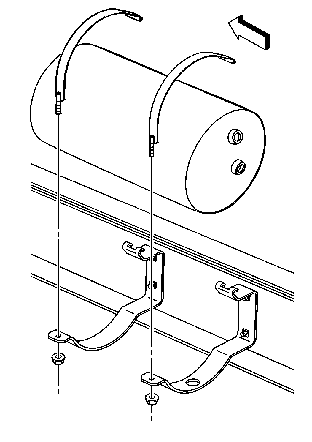
  6. Remove the strap nuts.
  7. Remove the straps from the air reservoir supports.
  8. Remove the air reservoir.
  9. Clean the air lines clean and the fittings with a dry cloth.
  10. Clean the inside reservoir with steam or hot water.
  11. Inspect the air lines for the following conditions:
  12. • Damage
    • Cracks
    • Bulges
    • Wear
  13. Replace any damaged, cracked, bulged, or worn air lines.
  14. Inspect the air reservoir for corrosion or damage. Replace the reservoir if weakened.
  15. Inspect the air reservoir supports and inspect the straps for damage. Replace the supports and the straps as needed.

Installation Procedure

  1. Install the air reservoir.
  2. Install the straps to the air reservoir supports.

  3. Object Number: 201630  Size: MH

    Notice: Use the correct fastener in the correct location. Replacement fasteners must be the correct part number for that application. Fasteners requiring replacement or fasteners requiring the use of thread locking compound or sealant are identified in the service procedure. Do not use paints, lubricants, or corrosion inhibitors on fasteners or fastener joint surfaces unless specified. These coatings affect fastener torque and joint clamping force and may damage the fastener. Use the correct tightening sequence and specifications when installing fasteners in order to avoid damage to parts and systems.

  4. Install the strap nuts.
  5. Tighten
    Tighten the strap nuts to 23 N·m (17 lb ft).

  6. Install the air lines.
  7. Start the engine.
  8. Charge the system air pressure to the governor cut-out point.
  9. Check for leaks with a soap solution. Leakage is not permissible.
  10. Test the brakes for proper operation.
  11. Remove the wheel blocks.

Reservoir Replacement Front Service

Removal Procedure

  1. Apply the parking brake.
  2. Block the wheels.
  3. Drain all the reservoirs. Refer to Draining Reservoirs .
  4. Remove the air lines. Refer to Trailer Coupling Hose and Line Bracket Replacement .

  5. Object Number: 201628  Size: MH
  6. Remove the strap nuts.
  7. Remove the straps from the air reservoir supports.
  8. Remove the air reservoir.
  9. Clean the air lines clean and the fittings with a dry cloth.
  10. Clean the inside reservoir with steam or hot water.
  11. Inspect the air lines for the following conditions:
  12. • Damage
    • Cracks
    • Bulges
    • Wear
  13. Replace any damaged, cracked, bulged, or worn air lines.
  14. Inspect the air reservoir for corrosion or damage. Replace the reservoir if weakened.
  15. Inspect the air reservoir supports and inspect the straps for damage. Replace as needed.

Installation Procedure

  1. Install the air reservoir.
  2. Install the straps to the air reservoir supports.

  3. Object Number: 201628  Size: MH

    Notice: Use the correct fastener in the correct location. Replacement fasteners must be the correct part number for that application. Fasteners requiring replacement or fasteners requiring the use of thread locking compound or sealant are identified in the service procedure. Do not use paints, lubricants, or corrosion inhibitors on fasteners or fastener joint surfaces unless specified. These coatings affect fastener torque and joint clamping force and may damage the fastener. Use the correct tightening sequence and specifications when installing fasteners in order to avoid damage to parts and systems.

  4. Install the strap nuts.
  5. Tighten
    Tighten the strap nuts to 40 N·m (29 lb ft).

  6. Install the air lines.
  7. Start the engine.
  8. Charge the system air pressure to the governor cut-out point.
  9. Check for leaks with a soap solution. Leakage is not permissible.
  10. Test the brakes for proper operation.
  11. Remove the wheel blocks.

Reservoir Replacement Truck Rear Service

Removal Procedure

  1. Apply the parking brake.
  2. Block the wheels.
  3. Drain all the reservoirs. Refer to Draining Reservoirs
  4. Remove the air lines. Refer to Trailer Coupling Hose and Line Bracket Replacement .

  5. Object Number: 201670  Size: SH
  6. Remove the strap nuts.
  7. Remove the straps from the air reservoir supports.
  8. Remove the air reservoir.
  9. Clean the air lines clean and the fittings with a dry cloth.
  10. Clean the inside reservoir with steam or hot water.
  11. Inspect the air lines for the following conditions:
  12. • Damage
    • Cracks
    • Bulges
    • Wear
  13. Replace any damaged, cracked, bulged, or worn air lines.
  14. Inspect the air reservoir for corrosion or damage. Replace the reservoir if weakened.
  15. Inspect the air reservoir supports and inspect the straps for damage. Replace the supports and the straps as needed.

Installation Procedure

  1. Install the air reservoir.
  2. Install the straps to the air reservoir supports.

  3. Object Number: 201670  Size: SH

    Notice: Use the correct fastener in the correct location. Replacement fasteners must be the correct part number for that application. Fasteners requiring replacement or fasteners requiring the use of thread locking compound or sealant are identified in the service procedure. Do not use paints, lubricants, or corrosion inhibitors on fasteners or fastener joint surfaces unless specified. These coatings affect fastener torque and joint clamping force and may damage the fastener. Use the correct tightening sequence and specifications when installing fasteners in order to avoid damage to parts and systems.

  4. Install the strap nuts.
  5. Tighten
    Tighten the strap nuts to 23 N·m (17 lb ft).

  6. Install the air lines.
  7. Start the engine.
  8. Charge the system air pressure to the governor cut-out point.
  9. Check for leaks with a soap solution. Leakage is not permissible.
  10. Test the brakes for proper operation.
  11. Remove the wheel blocks.