GM Service Manual Online
For 1990-2009 cars only

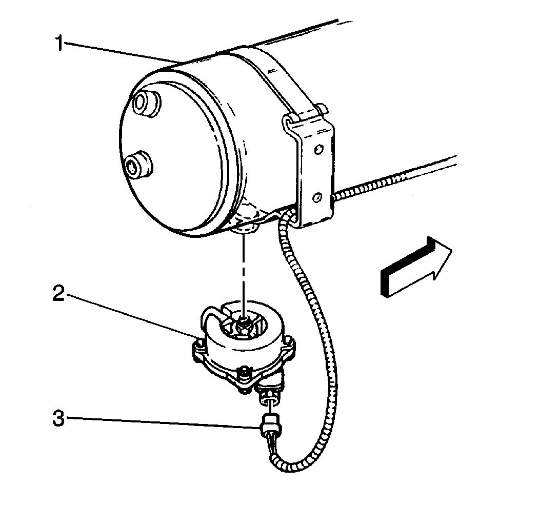
Moisture Ejector Valve Operational Check Operational Check

  1. Start the engine.
  2. Charge the system air pressure to the governor cut-out point.
  3. Have an assistant apply and release the brake pedal several times.

  4. Object Number: 202605  Size: SH
  5. Check that a spurt of air occurs at the exhaust port.
  6. Clean or replace the valve (2) if there is no air at the exhaust port.

Moisture Ejector Valve Operational Check Leakage Test

  1. Release the brake pedal.
  2. Cover the exhaust port and the seams with a soap solution.

  3. Object Number: 202605  Size: SH
  4. Repair or replace the valve (2) if leakage appears.