GM Service Manual Online
For 1990-2009 cars only

Removal Procedure

  1. Block the wheels.
  2. Set the parking brake.
  3. Drain all of the air reservoirs. Refer to Draining Reservoirs in Air Brakes.

  4. Object Number: 230283  Size: SH

    Important: Tag or label the air lines for later installation.

  5. Remove the air lines. Refer to the following procedures in Air Brakes:
  6. • Hose and Line Replacement - Nylon and Metal Compression .
    • Hose and Line Replacement - Nylon Push-In Type Fitting .
    • Hose and Line Replacement - Flexible .
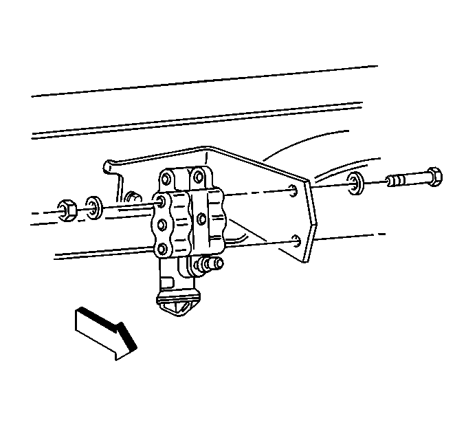
  7. Remove the nuts.
  8. Remove the bolts.
  9. Remove the washers.

  10. Object Number: 230286  Size: SH
  11. Remove the governor.

Installation Procedure


    Object Number: 230286  Size: SH
  1. Install the governor.
  2. Install the bolts.
  3. Install the washers.
  4. Notice: Use the correct fastener in the correct location. Replacement fasteners must be the correct part number for that application. Fasteners requiring replacement or fasteners requiring the use of thread locking compound or sealant are identified in the service procedure. Do not use paints, lubricants, or corrosion inhibitors on fasteners or fastener joint surfaces unless specified. These coatings affect fastener torque and joint clamping force and may damage the fastener. Use the correct tightening sequence and specifications when installing fasteners in order to avoid damage to parts and systems.

  5. Install the nuts.
  6. Tighten
    Tighten the nuts to 33 N·m (16 lb ft).


    Object Number: 230283  Size: SH
  7. Install the air lines.
  8. Start the engine.
  9. Adjust the chain cut-in and the cut-out pressures. Refer to Air Compressor Governor Valve Adjustment .
  10. Check the system for leaks.
  11. Ensure that the brakes operate properly.
  12. Remove the wheel blocks.