GM Service Manual Online
For 1990-2009 cars only

    Important: 

       • The shift control cable attaches to the transmission control lever.
       • The select control cable attaches to the select bell crank lever.

  1. Remove the nut and washer securing the shift cable or the select control cable from the transmission control lever or the transmission select bell crank lever if applicable.
  2. Ensure that the transmission select and shift levers are in the mechanical neutral position.

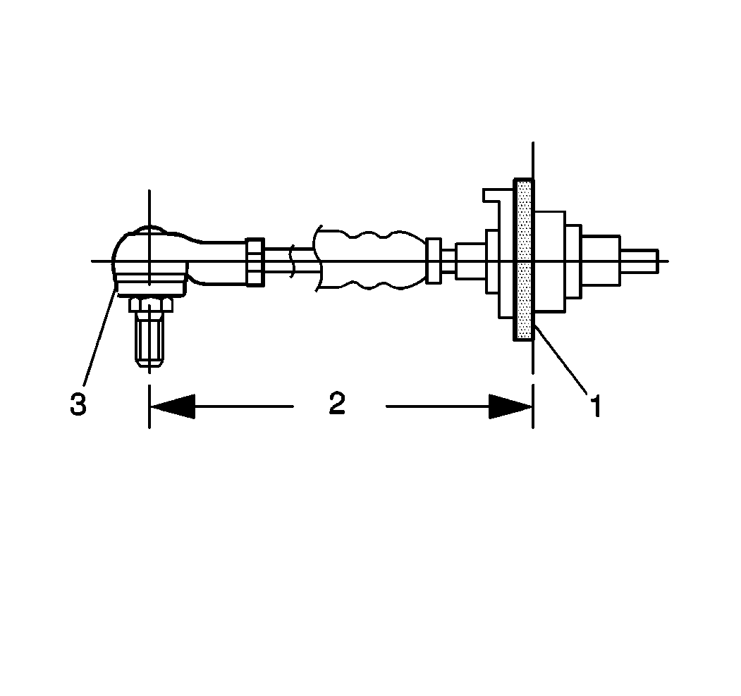
  3. Object Number: 203433  Size: SH
  4. Turn the adjustment nut at the end (1) of the shift or select cable in order to obtain the proper rear side of bracket (3) to control lever distance.

  5. Object Number: 204762  Size: SH

    Notice: Use the correct fastener in the correct location. Replacement fasteners must be the correct part number for that application. Fasteners requiring replacement or fasteners requiring the use of thread locking compound or sealant are identified in the service procedure. Do not use paints, lubricants, or corrosion inhibitors on fasteners or fastener joint surfaces unless specified. These coatings affect fastener torque and joint clamping force and may damage the fastener. Use the correct tightening sequence and specifications when installing fasteners in order to avoid damage to parts and systems.

  6. Install the nuts, the washers, and the clip securing the shift and/or select cable(s) to the transmission control lever and/or the select bell crank lever.
  7. Tighten
    Tighten the shift and select cable nuts to 45 N·m 33 lb ft).

  8. Start the engine and check for proper shift operation.