GM Service Manual Online
For 1990-2009 cars only

Removal Procedure

  1. Position the front wheels and the steering wheel straight ahead.
  2. Tilt the cab. Refer to Cab Tilting in General Information.
  3. Mark the position of the steering gear input shaft and the cardan joint of the lower steering shaft.

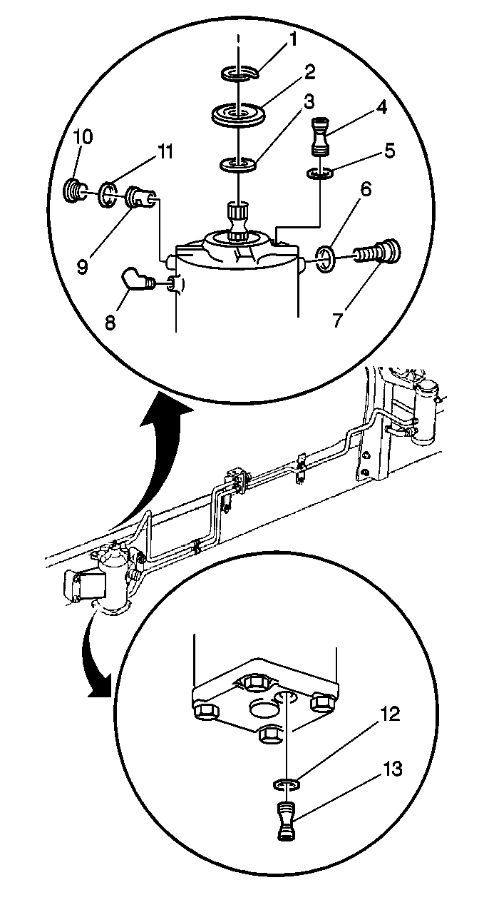
  4. Object Number: 227947  Size: SH
  5. Remove the following components:
  6. 4.1. The cardan joint nut (4)
    4.2. The washer
    4.3. The cardan joint bolt (2)
  7. Gently pry the cardan joint (1) off the steering gear input shaft.

  8. Object Number: 227948  Size: LH
  9. Remove the snap ring (1) from the steering gear input shaft.
  10. Remove the steering gear input shaft dust cap (2) from the steering gear input shaft.
  11. Remove the steering gear input shaft bearing protecting cap (3) from the steering gear input shaft.

Installation Procedure


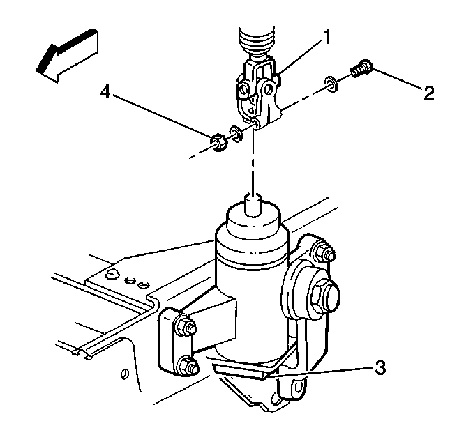
    Object Number: 227948  Size: LH
  1. Install the input shaft bearing protecting cap (3).
  2. Install the input shaft dust cap (2).
  3. Align the marks on the cardan joint and the steering gear input shaft.
  4. Position the cardan joint (1) on the steering gear input shaft.

  5. Object Number: 227947  Size: SH
  6. Install the following components:
  7. 5.1. The cardan joint washer
    5.2. The bolt (2)

    Notice: Use the correct fastener in the correct location. Replacement fasteners must be the correct part number for that application. Fasteners requiring replacement or fasteners requiring the use of thread locking compound or sealant are identified in the service procedure. Do not use paints, lubricants, or corrosion inhibitors on fasteners or fastener joint surfaces unless specified. These coatings affect fastener torque and joint clamping force and may damage the fastener. Use the correct tightening sequence and specifications when installing fasteners in order to avoid damage to parts and systems.

  8. Install the cardan joint washer and the nut (4).
  9. Tighten
    Tighten the cardan nut to 55 N·m (41 lb ft).

  10. Lower the cab.