GM Service Manual Online
For 1990-2009 cars only

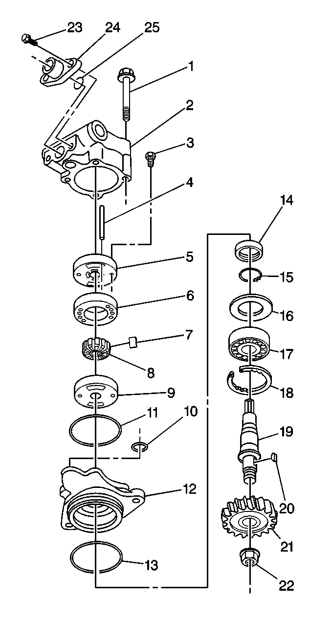
Power Steering Pump Disassemble LG4 with JE3

Disassemble Procedure

  1. Clean the exterior of the power steering pump with a suitable cleaning solvent that will not damage the rubber components.

  2. Object Number: 361652  Size: LH
  3. Remove the following components from the shaft (18):
  4. • The nut (22)
    • The gear (21) (the gear is a slip fit)
    • The key (19)
  5. Remove the pump body bolts (1).
  6. Remove the following components from the front cover (12):
  7. • The pump body (2)
    • The O-rings (10, 11)

    Object Number: 228844  Size: SH

    Important: The side plate, the ring, and the pressure plate must be assembled in the exact position that they were removed.

  8. Mark the following components:
  9. • The side plate (3)
    • The ring (2)
    • The pressure plate (1)

    Object Number: 361652  Size: LH
  10. Remove the following components from the ring (6):
  11. • The pressure plate screws (3)
    • The pressure plate (5)
  12. Remove the following components from the ring (6):
  13. • The side plate (9)
    • The pin (4)
    • The rotor (8)
    • The vanes (7)
  14. Remove the snap ring (20) from the front cover (12).

  15. Object Number: 228874  Size: SH

    Important: Gently tap with a plastic mallet on the end opposite the drive end in order to remove the shaft from the front cover.

  16. Remove the shaft from the front cover.

  17. Object Number: 361652  Size: LH
  18. Remove the retainer ring (16) from the shaft (18).
  19. Remove the shaft seal (14) from the front cover (12).
  20. Remove the O-ring (13) from the front cover (12).

  21. Object Number: 228883  Size: SH
  22. Inspect the shaft bearing Refer to Wheel Bearings Diagnosis in Suspension General Diagnosis.
  23. If the shaft bearing needs to be replaced, perform the following steps:
  24. • Remove the snap ring from the shaft
    • Press the shaft bearing off of the shaft
    • Discard the shaft bearing

Inspection Procedure


    Object Number: 361652  Size: LH
  1. Inspect the bushing for the following conditions:
  2. • Scores
    • Wear
  3. If the bushing shows any of these conditions, the pump body (2) must be replaced.
  4. Use a suitable solvent in order to clean all of the parts.
  5. Dry all of the parts.

  6. Inspect the vane tips (7) for the following conditions:
  7. • Wear
    • Damage
  8. Inspect the inner surface of the ring (6) for the following conditions:
  9. • Scoring
    • Wear
    • Damage

    Object Number: 228886  Size: SH

    Important: The vanes must fit properly in the rotor slots, without sticking or excessive play.

  10. Inspect the fit of the vanes in the rotor.
  11. Inspect for the following conditions:
  12. • Burrs in the rotor slots
    • Excessive wear at the thrust faces
  13. Replace the rotor, the ring, and all the vanes if any of the following conditions are present:
  14. • Heavy wear
    • Damage

    Object Number: 361652  Size: LH
  15. Inspect the side plate (9) for wear at the thrust faces.
  16. Replace the side plate (9) if wear is excessive.
  17. Inspect the pressure plate (5) for wear at the thrust faces.
  18. Replace the pressure plate (5) if wear is excessive.
  19. Inspect the shaft bearing (17). Refer to Wheel Bearings Diagnosis in Suspension General Diagnosis.
  20. Inspect the shaft (18) for the following conditions:
  21. • Scoring
    • Damage

    Important: Replace the pump body (2) whenever a shaft replacement or bushing replacement is necessary.

  22. Replace the shaft (18) if it is necessary.

Assemble Procedure


    Object Number: 228885  Size: SH

    Important: Lubricate the new shaft bearing with power steering fluid prior to pressing the new shaft bearing onto the shaft.

  1. Use an arbor press and a suitable spacer in order to press the new shaft bearing onto the shaft.

  2. Object Number: 361652  Size: LH
  3. If the shaft bearing (17) was removed, install the snap ring (15) on the shaft (18).
  4. Install the O-ring (13) into the front cover (12).
  5. Important: Lubricate the lips of the new seal (14) with petroleum jelly.

  6. Install a new shaft seal (14) into the pump housing (2) using an arbor press and a suitable spacer.
  7. Install the retainer ring (16) on the shaft (18).
  8. Install the following components into the front cover (12):
  9. • A new O-ring (13)
    • The bearing shaft assembly
  10. Install the snap ring (20) into the front cover (12).
  11. Important: Lubricate the rotor (8), ring (6), and the vanes (7) with power steering fluid prior to assembly.

  12. Install the rotor (8) into the ring (6).

  13. Object Number: 228886  Size: SH

    Important: Ensure that the rounded edges of the vanes contact the rotor.

  14. Install the vanes into the rotor.

  15. Object Number: 228844  Size: SH
  16. Align the marks on the following components:
  17. • The side plate (3)
    • The pins
    • The ring (2)
  18. Install the following components on the ring (2):
  19. • The side plate (3)
    • The pins

    Notice: Use the correct fastener in the correct location. Replacement fasteners must be the correct part number for that application. Fasteners requiring replacement or fasteners requiring the use of thread locking compound or sealant are identified in the service procedure. Do not use paints, lubricants, or corrosion inhibitors on fasteners or fastener joint surfaces unless specified. These coatings affect fastener torque and joint clamping force and may damage the fastener. Use the correct tightening sequence and specifications when installing fasteners in order to avoid damage to parts and systems.

  20. Install the pressure plate (1) on the ring (2) with screws.
  21. Tighten
    Tighten the pressure plate screws to 8 N·m (71 lb in).

  22. Install the following components into the pump housing (2):

  23. Object Number: 361652  Size: LH
    • The pressure plate (5)
    • The ring (6)
    • The rotor assembly (7, 8)
  24. Install both O-rings (10, 11) into the front cover (12).
  25. Install the front cover (12) on the pump housing (2).
  26. Secure the front cover with the pump body bolts (1).

    Tighten
    Tighten the pump body bolts to 54 N·m (40 lb ft).

  27. Install the gear (21) on the shaft (18) using the washer nut (22).

Disassemble Procedure (Control Valve)

Important: Do not disassemble the pressure relief valve unless the system pressure is incorrect. Refer to Power Steering System Test .

Important: Do not disassemble the pressure relief valve unless it is absolutely necessary. It is difficult to hold the valve body while removing the valve plug. This increases the possibility of damaging the valve body.


    Object Number: 361648  Size: SH
  1. Secure the pump.
  2. Remove the following components from the pump:
  3. • The plug (9)
    • The O-ring (8)

    Notice: Always protect the pressure relief valve body when securing the valve body. Following this instruction can help you avoid damage to the valve body.

  4. Remove the following components from the pump housing (1):
  5. • The valve body (7)
    • The valve spring (2)
  6. Secure the valve body (7).
  7. Important: Note the number of shims (4) that are removed from the pressure relief valve.

  8. Remove the following components from the valve body (7):
  9. • The valve retainer (3)
    • The shims (4)
  10. Remove the ball (10) from the valve body (7).
  11. Remove the following components from the valve body (7):
  12. • The retainer (5)
    • The spring (6)

Assemble Procedure


    Object Number: 361648  Size: SH
  1. Install the following components into the valve body (7):
  2. 1.1. The retainer spring (6)
    1.2. The retainer (5)

    Important: Be certain to install all of the shims which were removed.

  3. Install the shims (4) into the valve body (7).
  4. Notice: Always protect the pressure relief valve body when securing the valve body. Following this instruction can help you avoid damage to the valve body.

  5. Secure the valve body (7).
  6. Notice: Use the correct fastener in the correct location. Replacement fasteners must be the correct part number for that application. Fasteners requiring replacement or fasteners requiring the use of thread locking compound or sealant are identified in the service procedure. Do not use paints, lubricants, or corrosion inhibitors on fasteners or fastener joint surfaces unless specified. These coatings affect fastener torque and joint clamping force and may damage the fastener. Use the correct tightening sequence and specifications when installing fasteners in order to avoid damage to parts and systems.

  7. Install the valve plug (3)
  8. Tighten
    Tighten the valve body plug to 54 N·m (40 lb ft).

  9. Install the following components into the pump housing (1):
  10. 5.1. The valve spring (2)
    5.2. The valve body (7)
    5.3. The O-ring (8)
    5.4. The plug (9)

Power Steering Pump Disassemble LG4 with JE4

Disassemble Procedure

  1. Clean the exterior of the power steering pump with a suitable cleaning solvent that will not damage the rubber components.

  2. Object Number: 361660  Size: LH
  3. Remove the following components from the shaft:
  4. • The nut (11)
    • The gear (2) (the gear is a slip fit)
    • The key (5)
  5. Remove the pump body bolts (1).
  6. Remove the rear cover (2) and gasket (3) from the pump body (19).
  7. Remove the side plate( 12) and ring (5) assembly.
  8. Dissemble the following components:
  9. • The side plate (8)
    • The pins (4)
    • The rotor (7)
    • The vanes (6)
  10. Remove the snap ring (13) from the pump body.

  11. Object Number: 228874  Size: SH

    Important: Gently tap with a plastic mallet on the end opposite the drive end to remove the shaft from the pump body.

  12. Remove the shaft from the pump body.
  13. Remove the shaft seal from the pump body.

  14. Object Number: 361660  Size: LH
  15. Remove the O-ring from the pump body.

Inspection Procedure


    Object Number: 361660  Size: LH
  1. Inspect the bushing for the following conditions:
  2. • Scores
    • Wear

       Important: The bushing is not serviced.

    If the bushing shows abnormal conditions, the rear cover must be replaced (2).

  3. Use a suitable solvent in order to clean all of the parts.
  4. Dry all of the parts.

  5. Inspect the vane tips (6) for the following conditions:
  6. • Wear
    • Damage
  7. Inspect the inner surface of the ring (5) for the following conditions:
  8. • Scoring
    • Wear
    • Damage

    Object Number: 228886  Size: SH

    Important: The vanes must fit properly in the rotor slots, without sticking or excessive play.

  9. Inspect the fit of the vanes in the rotor.
  10. Inspect for the following conditions:
  11. • Burrs in the rotor slots
    • Excessive wear at the thrust faces
  12. Replace the rotor, the ring, and all the vanes if any of the following conditions are present:
  13. • Heavy wear
    • Damage

    Object Number: 361660  Size: LH
  14. Inspect the side plate (8) and rear cover for wear at the thrust faces.
  15. Replace the side plate (8) and the rear cover (2) if wear is excessive.
  16. Inspect the shaft (16) for the following conditions:
  17. • Scoring
    • Damage

    Important: Replace the rear cover (2) whenever a shaft replacement is necessary.

  18. Secure the pump body (19).
  19. Remove the connector (20) and the O-ring (21).
  20. Remove the valve body (22) and spring (23).

  21. Object Number: 228883  Size: SH
  22. Inspect the shaft bearing . Refer to Wheel Bearings Diagnosis .
  23. If the shaft or bearing needs to be replaced, perform the following steps:
  24. • Press the shaft bearing off of the shaft using an arbor press
    • Discard the shaft bearing

Assembly Procedure


    Object Number: 228885  Size: SH

    Important: Lubricate the new bearing with power steering fluid prior to pressing.

  1. Press the new bearing on to the shaft using an arbor press.

  2. Object Number: 361660  Size: LH
  3. Install the O-ring (18) into the pump body (19).
  4. Important: Lubricate the lips of the new seal (17) with petroleum jelly.

  5. Install a new shaft seal (17) into the pump housing (19) using an arbor press and a suitable spacer.
  6. Install the shaft bearing assembly (14, 16) into the pump housing (19).
  7. Install the retainer ring (13) into the pump housing (19).
  8. Important: Lubricate the rotor (7), ring (5) and the vanes (6) with power steering fluid prior to assembly.

  9. Install the rotor (7) into the ring (5).

  10. Object Number: 228886  Size: SH

    Important: Ensure that the rounded edges of the vanes contact the rotor.

  11. Install the vanes into the rotor.
  12. Install the O-rings into the pump body.

  13. Object Number: 361660  Size: LH
  14. Install the following components into the pump housing (19):
  15. 9.1. The side plate (8)
    9.2. The rotor (7)
    9.3. The pins (4)

    Notice: Use the correct fastener in the correct location. Replacement fasteners must be the correct part number for that application. Fasteners requiring replacement or fasteners requiring the use of thread locking compound or sealant are identified in the service procedure. Do not use paints, lubricants, or corrosion inhibitors on fasteners or fastener joint surfaces unless specified. These coatings affect fastener torque and joint clamping force and may damage the fastener. Use the correct tightening sequence and specifications when installing fasteners in order to avoid damage to parts and systems.

  16. Install the rear cover (2) and gasket (3) to the pump housing (19) with the rear cover bolts (1).
  17. Tighten
    Tighten the rear cover bolts to 21 N·m (15 lb ft).

  18. Install the valve spring (23) and valve body (22) into the pump housing (19).
  19. Install the O-ring (21) and connector (20) into the pump housing (19).
  20. Tighten
    Tighten the connector to 49 N·m (36 lb ft).

  21. Install the following components:
  22. 13.1. The key (15)
    13.2. The gear (12)
    13.3. The washer nut (11)

    Tighten
    Tighten the gear mounting nut to 450 N·m (330 lb ft).