GM Service Manual Online
For 1990-2009 cars only
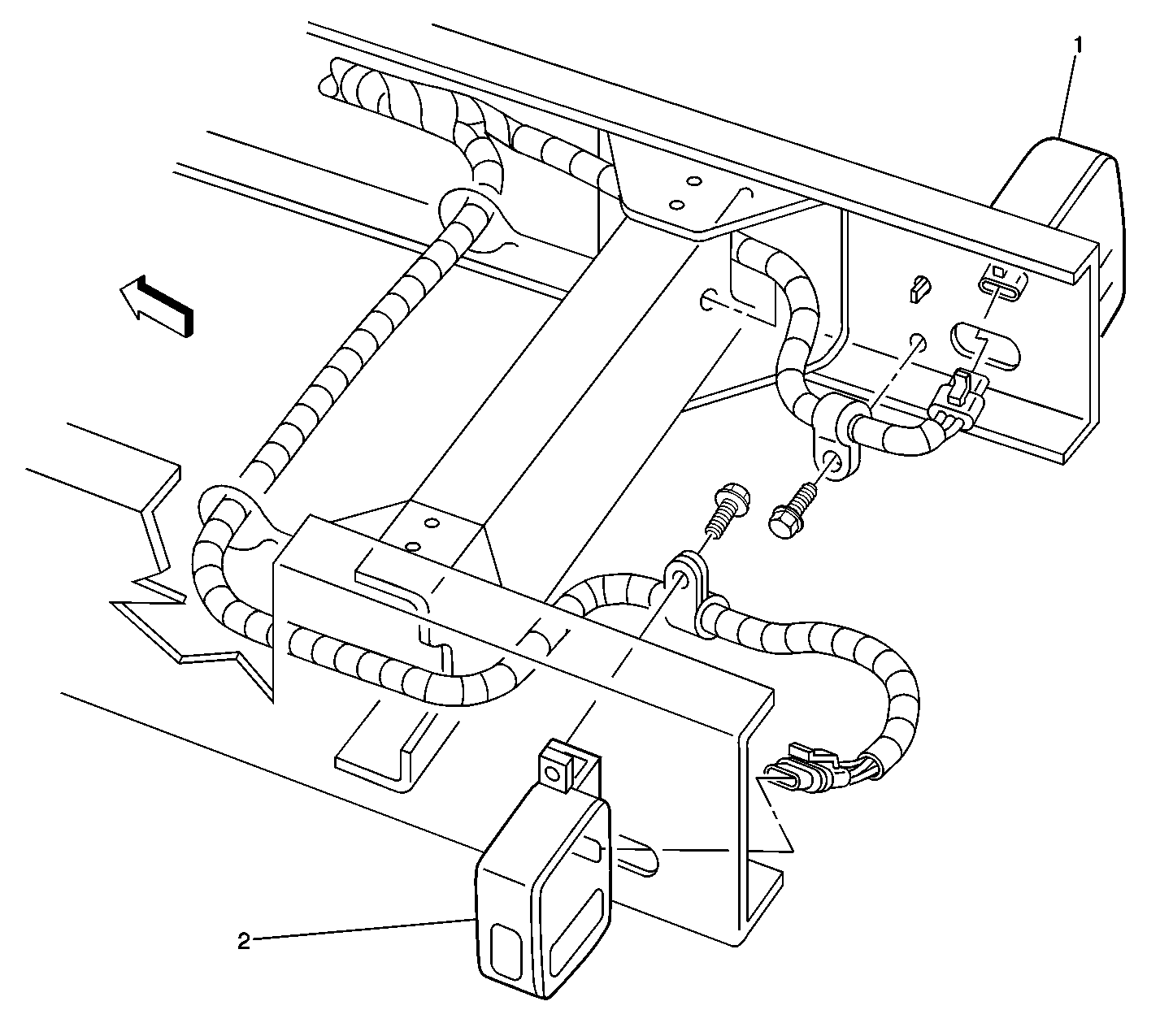
Figure 1:

Rear Chassis Harness and Tail Lamps, Upper Left Rear View (Typical)


Object Number: 231737  Size: LF
(1)Right Tail, Stop and Turn Signal Lamp with Backup Lamp
(2)Left Tail, Stop and Turn Signal Lamp with Backup Lamp
Figure 2:

Automatic Transmission , Left Side View


Object Number: 397655  Size: MF
(1)Backup Lamps Switch
(2)Automatic Transmission Modulator
Figure 3:

Manual Transmission Harness (5 or 6-Speed), Upper Left Rear View


Object Number: 628296  Size: LF
(1)Front Chassis Harness
(2)Backup Lamps Switch
(3)Vehicle Speed Sensor (VSS) (JE5)
(4)Vehicle Speed Sensor (VSS) (JE3)
(5)Manual Transmission Case
(6)Manual Transmission Harness
(7)C409
Figure 4:

Manual Transmission Harness (9 or 10-Speed) , Upper Left Rear View


Object Number: 231666  Size: LF
(1)Backup Lamps Switch
(2)Vehicle Speed Sensor (VSS)
Figure 5:

Instrument Panel, Left Forward View


Object Number: 231675  Size: LF
(1)HVAC Controller
(2)Radio
(3)Cigar Lighter Lamp
(4)Cigar Lighter
(5)Park Brake Control (JE4)
(6)Trailer Brake Control (JE4)
(7)Blower Switch - Part of HVAC Controller
Figure 6:

Roof-Top Lamps (Front View)


Object Number: 231439  Size: LF
(1)Left and Right Clearance Lamps and ID Lamps
Figure 7:

Instrument Panel Switches, Center Forward View


Object Number: 231678  Size: LF
(1)Exhaust Brake Switch
(2)Fast Idle Switch
(3)Heated Mirror Switch
(4)Two-Speed Rear Axle Shift Switch (Automatic Transmission)
(5)Air Suspension Dump Switch
(6)Differential Lock Switch
(7)Clearance Lamps Switch
Figure 8:

Interior Roof, Right Upper View


Object Number: 231693  Size: LF
(1)Dome and Reading Lamp
(2)Dome and Reading Lamp Switch
Figure 9:

Door Jamb, Left Rear View


Object Number: 231695  Size: LF
(1)Left Door Jamb Switch
Figure 10:

Forward Lamps, Right Front View


Object Number: 231423  Size: LF
(1)Right High/Low Beam Headlamp (Left Similar)
(2)Right High Beam Headlamp (Left Similar)
(3)Right Front Side Marker Lamp (Left Similar)
Figure 11:

Steering Column, Left


Object Number: 228426  Size: LF
(1)Multifunction Switch
(2)Right Multifunction Lever
(3)Ignition Switch
(4)Left Multifunction Lever
Figure 12:

Mirror (Right)


Object Number: 231453  Size: LF
(1)Right Lighted Mirror (Heated Mirror similar)
Figure 13:

Park Brake


Object Number: 231691  Size: LF
(1)Park Brake Lever
(2)Park Brake Switch (Hydraulic Brakes)
Figure 14:

Turn Signal Harness, Left Front View


Object Number: 628188  Size: LF
(1)C107 (4 Cavities)
(2)Front Chassis Harness
(3)C105 (5 Cavities)
(4)Turn Signal Harness
(5)High A Note - Horn
(6)Park and Turn Signal Lamp - LF
(7)Park and Turn Signal Lamp Connector
Figure 15:

Instrument Panel, Right Side Forward View


Object Number: 228475  Size: MF
(1)Relay Center 1
(2)IP Fuse Block
Figure 16:

Instrument Panel, Center (Typical)


Object Number: 231681  Size: LF
(1)Relay Block 2
Figure 17:

Instrument Panel Harness, Lower Right Side (Relay Center 3)


Object Number: 397659  Size: LF
(1)Relay Center 3
(2)Turn/Hazard Flasher Module
(3)Blower Motor
Figure 18:

Air Brake Application Valve


Object Number: 231533  Size: LF
(1)Stoplamps Switch (ABS-Air)
(2)Air Brake Application Valve
Figure 19:

Trailer Front Harness to Cab Bridge, Left Forward View


Object Number: 231704  Size: LF
(1)Trailer Receptacle