GM Service Manual Online
For 1990-2009 cars only

Removal Procedure


    Object Number: 201719  Size: SH
  1. Set the parking brake.
  2. Block the rear wheels.
  3. Raise the frame until the front tires clear the floor.
  4. Important: Raise the frame high enough in order to allow the spring to clear the front spring bracket when you lower the axle.

    Notice: Do not use the front crossmember to support the vehicle or the crossmember may buckle.

  5. Support the frame using suitable safety stands.
  6. Support the axle with a jack.
  7. Remove the following components from the lower mounting brackets (7):
  8. 6.1. The nut (10)
    6.2. The washer (9)
    6.3. The insulator (8)
  9. Remove the shock absorbers (5) from the lower mounting brackets (7). Push the shock absorbers into the fully retracted position.

  10. Object Number: 376827  Size: SH
  11. Remove the following components from the spring and the hanger:
  12. 8.1. The spring eye bolt nut (4)
    8.2. The washers
    8.3. The bolt (7)
  13. Lower the axle far enough to allow the spring (5) to clear the bracket and allow removal of the bracket (2).

  14. Object Number: 389559  Size: SH
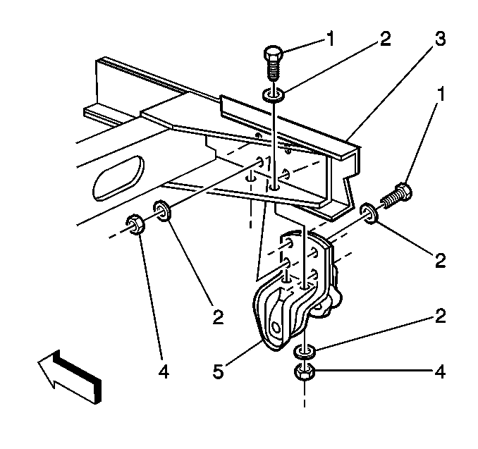
  15. Remove the following components from the side member (3):
  16. 10.1. The spring hanger nuts (4)
    10.2. The washers
    10.3. The bolts (1)
    10.4. The spring hanger (5)

Installation Procedure


    Object Number: 389559  Size: SH
  1. Install the hanger to the side member with the following parts:
  2. 1.1. The bolts (1)
    1.2. The washers
    1.3. The spring hangar nuts (4)

    Notice: Use the correct fastener in the correct location. Replacement fasteners must be the correct part number for that application. Fasteners requiring replacement or fasteners requiring the use of thread locking compound or sealant are identified in the service procedure. Do not use paints, lubricants, or corrosion inhibitors on fasteners or fastener joint surfaces unless specified. These coatings affect fastener torque and joint clamping force and may damage the fastener. Use the correct tightening sequence and specifications when installing fasteners in order to avoid damage to parts and systems.

  3. Tighten the hangar mounting bolts.
  4. Tighten
    Tighten the hangar mounting nuts to 85 N·m (63 lb ft).


    Object Number: 376827  Size: SH
  5. Raise the spring in order to align the spring eye and spring hanger holes.
  6. Install the following components in the spring and the hanger:
  7. • The spring eye bolt (7)
    • The washers
    • The nut (4)
  8. Tighten the eye bolt to 330 N·m (243 lb ft).

  9. Object Number: 201719  Size: SH
  10. Install the flat washer (6) and the insulator (13) onto the shock absorber lower stem.
  11. Install the shock absorber (5) into the lower mounting bracket (7).
  12. Install the following components:
  13. • The insulators (8)
    • The flat washers (9)
    • The nut (10)

    Tighten
    Tighten the lower shock absorber nut to 84 N·m (62 lb ft).

  14. Remove the safety stands. Lower the vehicle.