GM Service Manual Online
For 1990-2009 cars only

Removal Procedure

  1. Set the parking brake.
  2. Block the rear wheels.
  3. Raise the frame until the front tires clear the floor.
  4. Important: Raise the frame high enough in order to allow the spring to clear the rear spring bracket when you lower the axle.

  5. Remove the front wheel if necessary.
  6. Notice: Do not use the front crossmember to support the vehicle or the crossmember may buckle.

  7. Support the frame using suitable safety stands.
  8. Support the axle with a jack.

  9. Object Number: 201719  Size: SH
  10. Remove the following components from the lower mounting brackets (7):
  11. 7.1. The nut (10)
    7.2. The washer (9)
    7.3. The insulator (8)
  12. Remove the shock absorbers (5) from the lower mounting brackets (7). Push the shock absorbers into the fully retracted position.

  13. Object Number: 376794  Size: SH
  14. Remove the following components from the hanger (2):
  15. 9.1. The hanger eye bolt nut (4)
    9.2. The washers
    9.3. The bolt (12)
  16. Lower the axle far enough to allow the spring shackle (8) to clear the hanger and allow removal of the bracket (2).

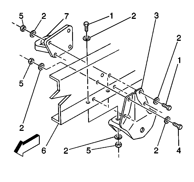
  17. Object Number: 389548  Size: SH
  18. Remove the hanger (3)
  19. Important: It is not necessary to remove all the bolts from the engine mount frame bracket. Ensure that only the bolts attaching the hanger and the bracket are removed.

    11.1. The nuts (5)
    11.2. The washers
    11.3. The bolts (1, 4)

Installation Procedure


    Object Number: 389548  Size: SH

    Notice: Use the correct fastener in the correct location. Replacement fasteners must be the correct part number for that application. Fasteners requiring replacement or fasteners requiring the use of thread locking compound or sealant are identified in the service procedure. Do not use paints, lubricants, or corrosion inhibitors on fasteners or fastener joint surfaces unless specified. These coatings affect fastener torque and joint clamping force and may damage the fastener. Use the correct tightening sequence and specifications when installing fasteners in order to avoid damage to parts and systems.

  1. On vehicles equipped wIth diesel engines, install the hanger (3) to the side member with the following components:
  2. 1.1. The bolts (1, 4)
    1.2. The washers
    1.3. The nuts (5)

    Tighten
    Tighten the spring hanger nuts (4) to 90 N·m (65 lb ft).


    Object Number: 376794  Size: SH
  3. Raise the spring.
  4. Guide the shackle assembly (8) into the hanger aligning the holes.
  5. Install the following components:
  6. 4.1. The bolt (12)
    4.2. The washers
    4.3. The nut (4)

    Tighten
    Tighten the rear spring hanger nut to to 330 N·m (243 lb ft).


    Object Number: 201719  Size: SH
  7. Install the washer (6) and the insulator (13) if removed.
  8. Install the shock absorber (5) into the lower mounting bracket (7).
  9. Install the following components:
  10. 7.1. The insulator (8)
    7.2. The washer (9)
    7.3. The nut (10)

    Tighten
    Tighten the lower shock absorber nut to 84 N·m (62 lb ft).

  11. Install the front wheel if removed.
  12. Lower the vehicle.
  13. Remove the blocks from the wheels.