GM Service Manual Online
For 1990-2009 cars only

Object Number: 602070  Size: SH

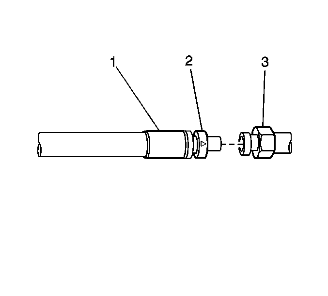
Some vehicles use Quick Connect fittings throughout the power steering system. The diameter of the fittings used on the high pressure side of the system are 8 mm. The diameter of the fittings used on the return side of the system are 12 mm. The fittings consist of the following components:

    • The male fitting (1)
    • The female fitting (3)
    • The release collar (2)