GM Service Manual Online
For 1990-2009 cars only

Object Number: 229843  Size: SF

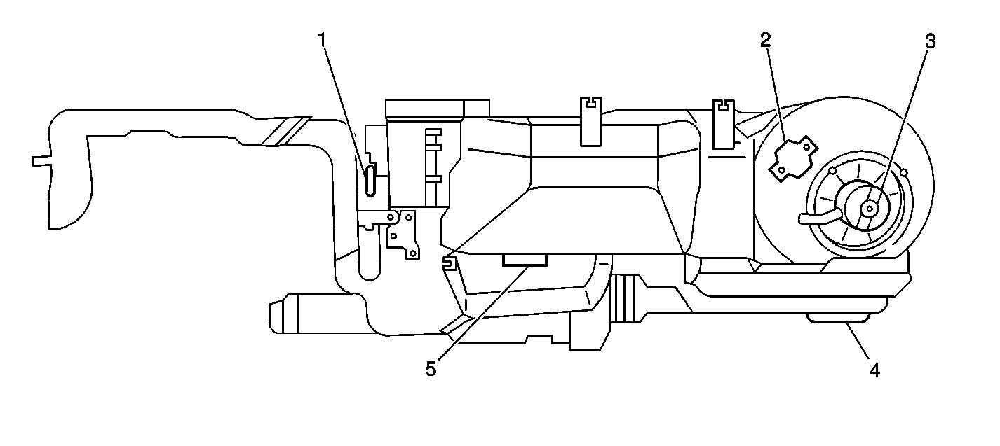
Within the heater vent module is the inlet air door (1), the temperature actuator door (2), and the mode actuator door (3). These air doors are hinged parts that direct the airflow through the various sections of the heater vent module in order to provide the proper airflow for the selected operating mode.


Object Number: 229846  Size: SF

Each air door is controlled by an actuator either the mode actuator (1), the inlet air actuator (4) or the temperature actuator valve (5).