GM Service Manual Online
For 1990-2009 cars only

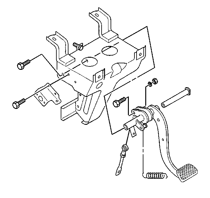
Removal Procedure

  1. Set the parking brake.

  2. Object Number: 220709  Size: SH
  3. Remove the steering shaft assembly.
  4. Remove the instrument panel trim as necessary.
  5. Remove the pushrod.
  6. Remove the bracket.
  7. Remove the return spring.
  8. Remove the pedal shaft bolt.
  9. Remove the pedal shaft.
  10. Remove the brake pedal.
  11. Inspect the bushings for wear or deterioration. Replace the bushings if necessary.

Installation Procedure


    Object Number: 220709  Size: SH
  1. Install the brake pedal.
  2. Install the pedal shaft.
  3. Install the pedal shaft bolt.
  4. Install the return spring.
  5. Install the bracket.
  6. Install the pushrod.
  7. Install the instrument panel trim.
  8. Install the steering shaft assembly.