GM Service Manual Online
For 1990-2009 cars only

Removal Procedure

  1. Apply the parking brake.
  2. Block the wheels.
  3. Drain all the reservoirs. Refer to Draining Reservoirs .
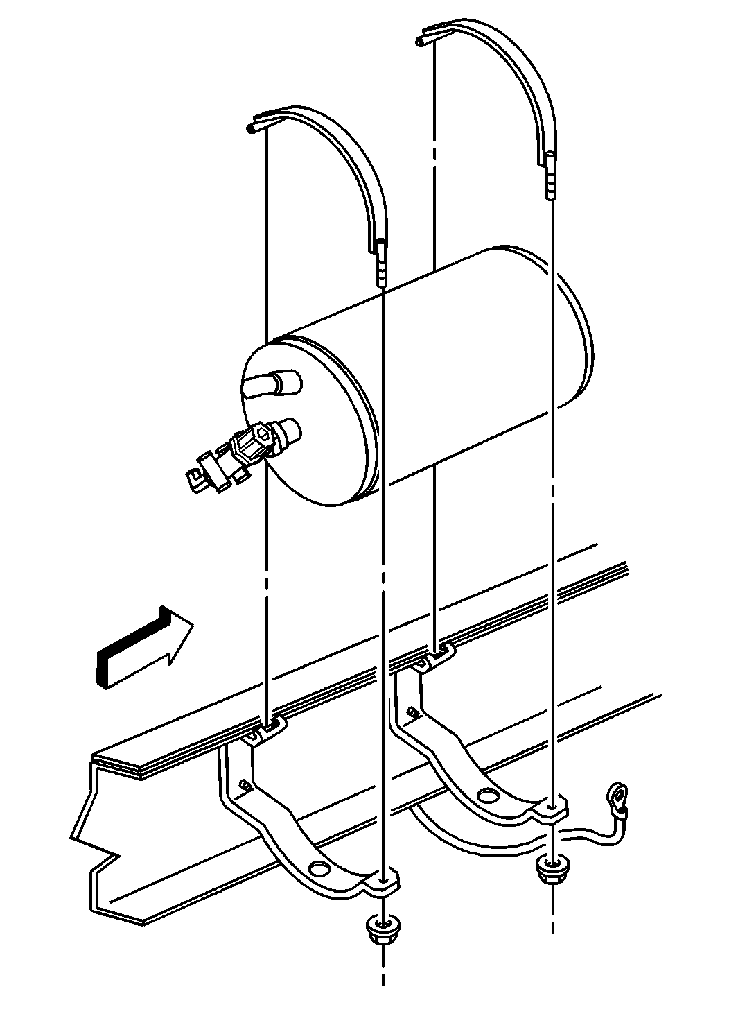
  4. Remove the air lines. Refer to Hose and Line Replacement - Nylon and Metal Compression .

  5. Object Number: 201630  Size: MH
  6. Remove the reservoir support strap nuts.
  7. Remove the reservoir support straps from the reservoir supports.
  8. Remove the reservoir.
  9. Clean the air lines and the fittings with a dry cloth.
  10. Clean the inside reservoir with steam or hot water.
  11. Inspect the air lines for the following conditions:
  12. • Damage
    •  Cracks
    • Bulges
    • Wear
    • If any of these conditions are present, replace the air lines.
  13. Inspect the reservoir for corrosion or damage.
  14. Replace the reservoir if the reservoir is weakened.
  15. Check the reservoir supports and straps for damage.
  16. Replace the supports and the straps as needed.

Installation Procedure

  1. Install the reservoir.
  2. Install the reservoir support straps to the reservoir supports.

  3. Object Number: 201630  Size: MH

    Notice: Use the correct fastener in the correct location. Replacement fasteners must be the correct part number for that application. Fasteners requiring replacement or fasteners requiring the use of thread locking compound or sealant are identified in the service procedure. Do not use paints, lubricants, or corrosion inhibitors on fasteners or fastener joint surfaces unless specified. These coatings affect fastener torque and joint clamping force and may damage the fastener. Use the correct tightening sequence and specifications when installing fasteners in order to avoid damage to parts and systems.

  4. Install the reservoir support strap nuts.
  5. Tighten
    Tighten the front axle service reservoir support strap nuts to 12 N·m (106 lb in).

  6. Install the air lines. Refer to Hose and Line Replacement - Nylon and Metal Compression .
  7. Start the engine.
  8. Charge the system air pressure to the governor cut-out point.
  9. Stop the engine.
  10. Check for leaks with a soap solution.
  11. Leakage is not permissible.
  12. Check for the proper brake operation.
  13. Remove the wheel blocks.