GM Service Manual Online
For 1990-2009 cars only
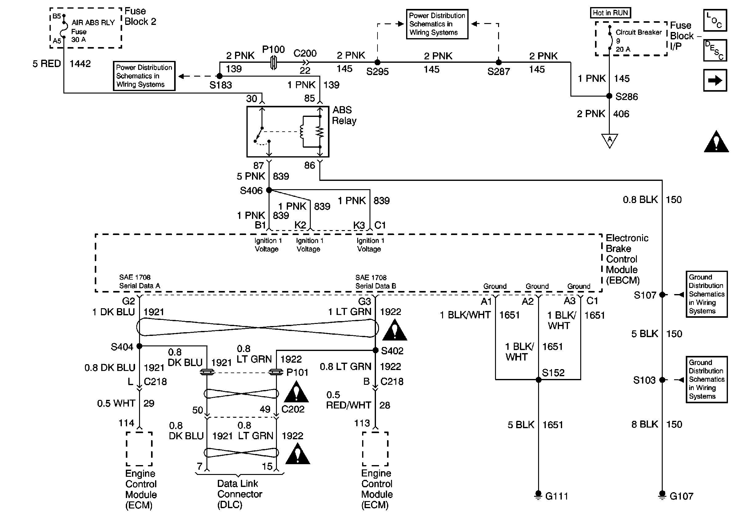
Figure 1:

Power and Ground


Object Number: 727159  Size: FS
Master Electrical Component List
Air ABS Description and Operation
ABS Indicator Lamp Relay, EBCM
Circuit Breaker 9 (2 of 2)
IP Fuse Block, Circuit Breaker 9 (1 of 2)
ABS Indicator Lamp Relay, EBCM
G107 Continued, S107
G107, S101, S103, S105
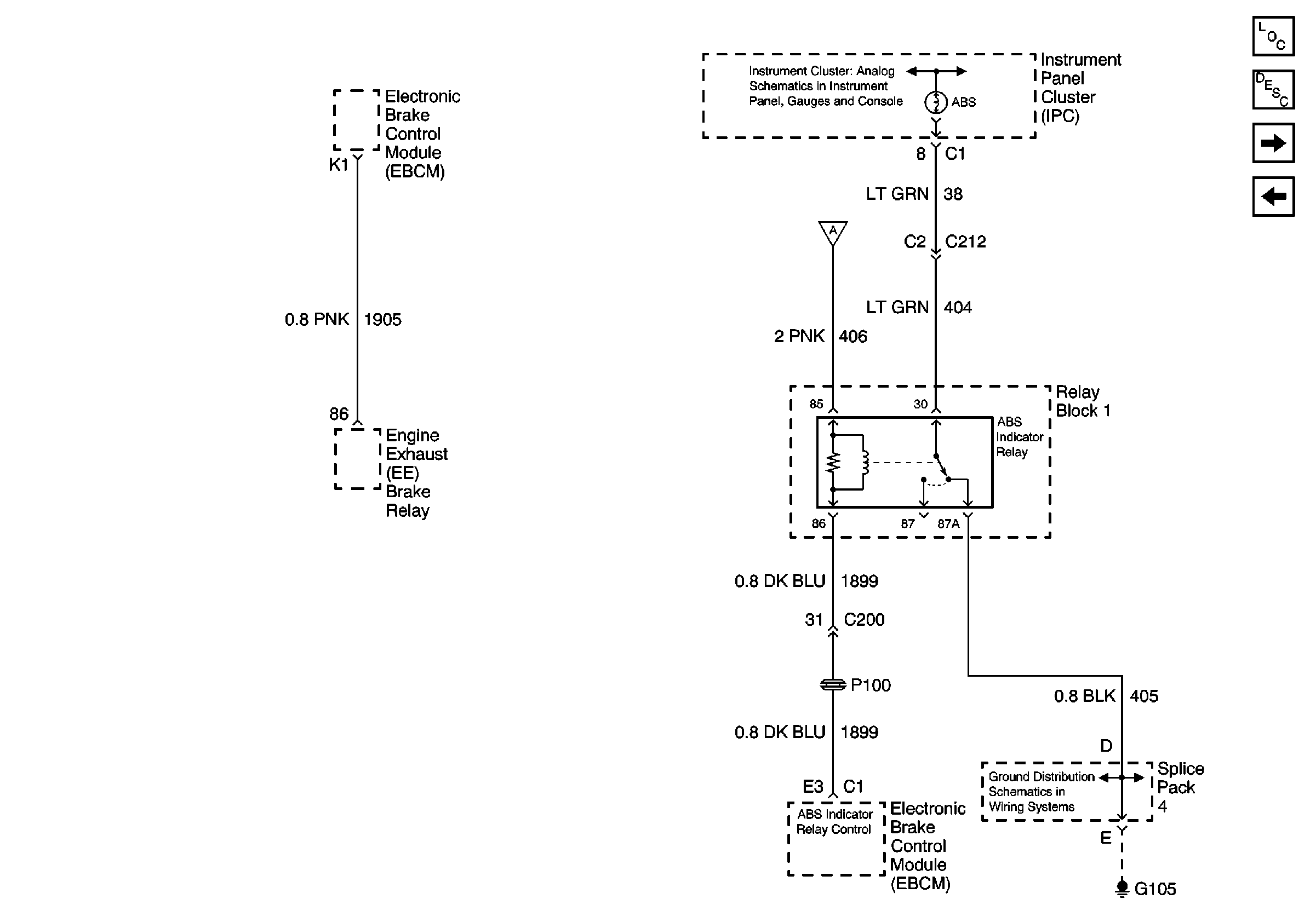
Figure 2:

ABS Indicator Lamp Relay, EBCM


Object Number: 727161  Size: FS
Master Electrical Component List
Air ABS Description and Operation
EBCM Continued
Power and Ground
Illumination, Seat Belt, Primary Brake, ABS and Park Brake Lamps
Power and Ground
G105 Continued, Splice Pack 1, Splice Pack 4, S450
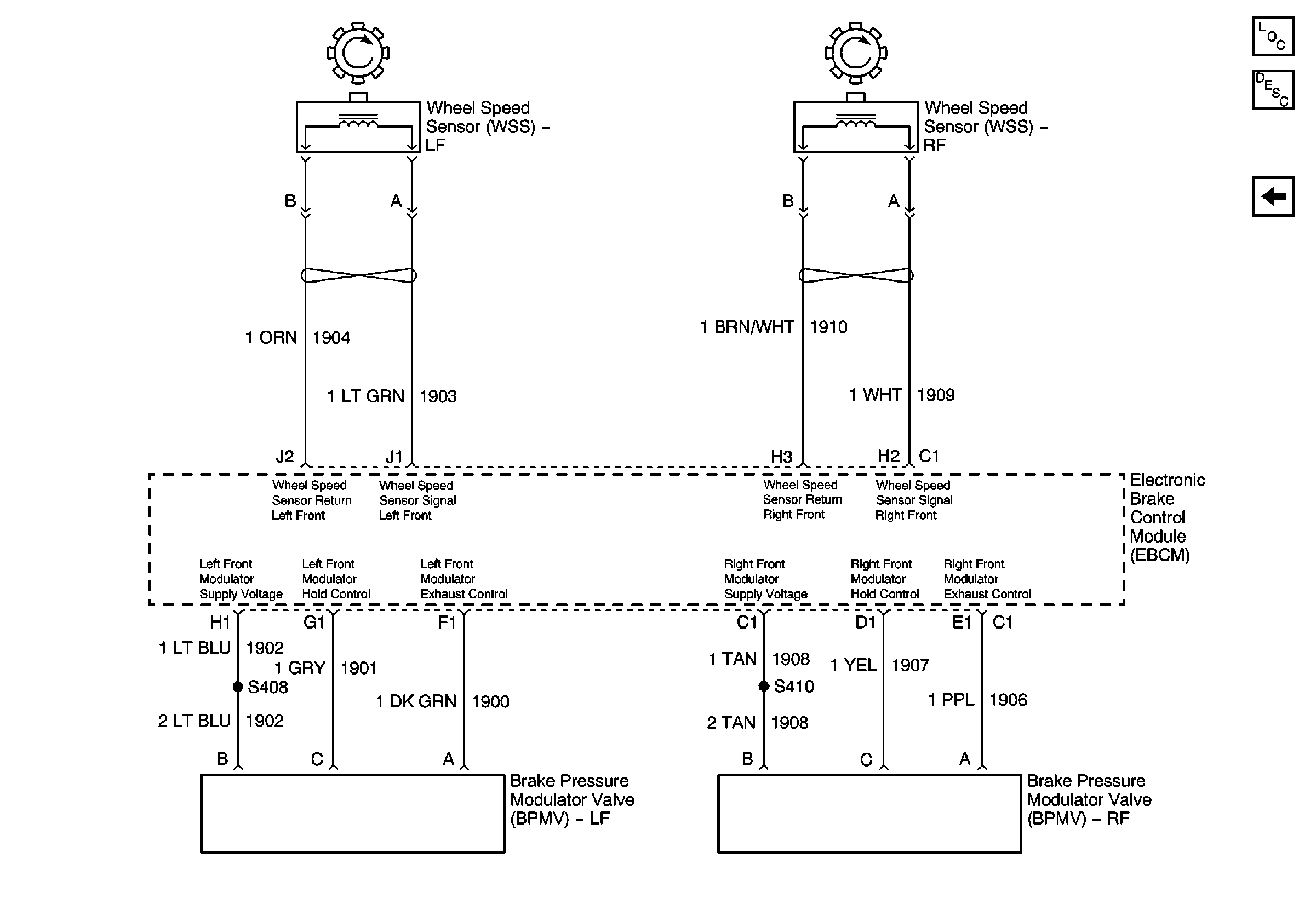
Figure 3:

EBCM Continued


Object Number: 727156  Size: FS
Master Electrical Component List
Air ABS Description and Operation
EBCM Continued
ABS Indicator Lamp Relay, EBCM
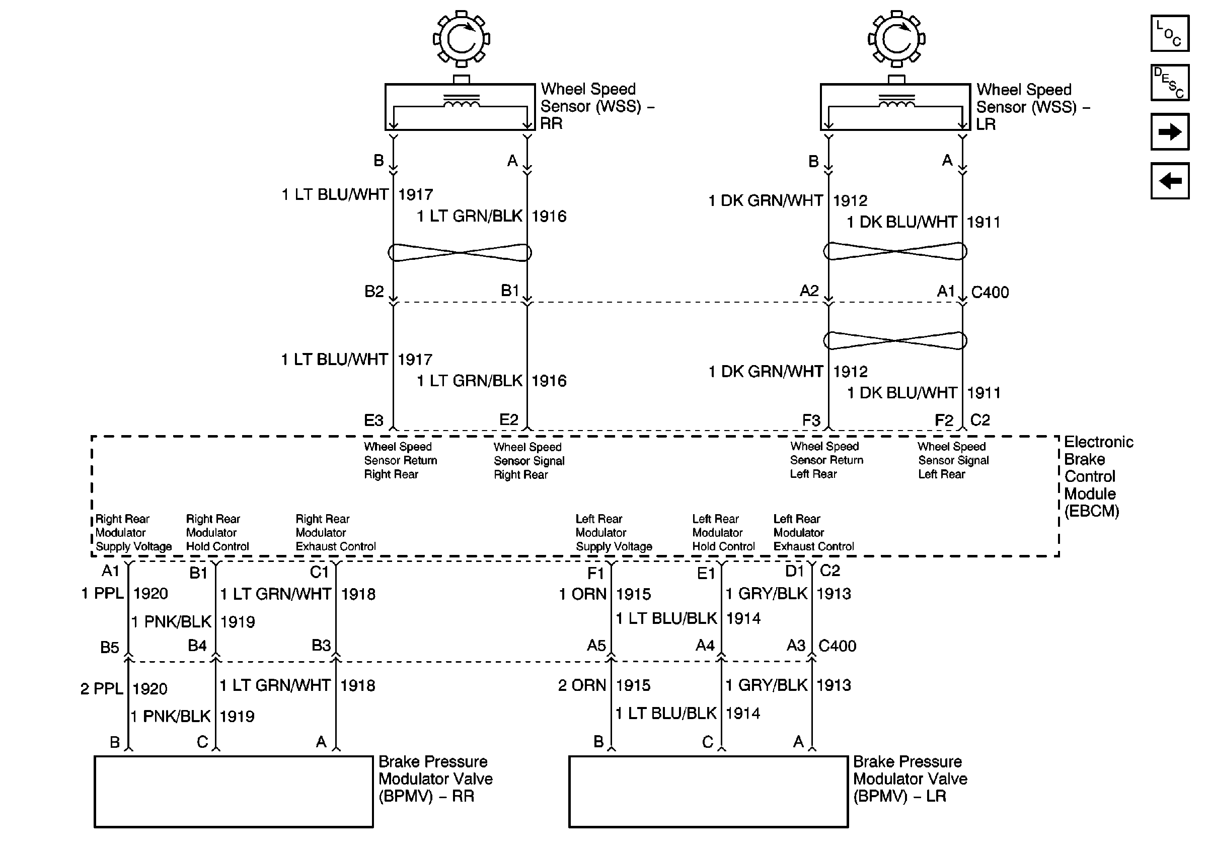
Figure 4:

EBCM Continued


Object Number: 727164  Size: FS
Master Electrical Component List
Air ABS Description and Operation
EBCM Continued