GM Service Manual Online
For 1990-2009 cars only

Removal Procedure

  1. Remove the instrument panel. Refer to Instrument Panel Carrier Replacement in Instrument Panel, Gages and Console.
  2. Remove the left half of the HVAC module from the vehicle. Refer to Heater/Vent Module Replacement .
  3. Remove the heater module clips.
  4. Separate the heater module case.
  5. Remove the mode actuator. Refer to Air Temperature Actuator Replacement .

  6. Object Number: 687774  Size: SH
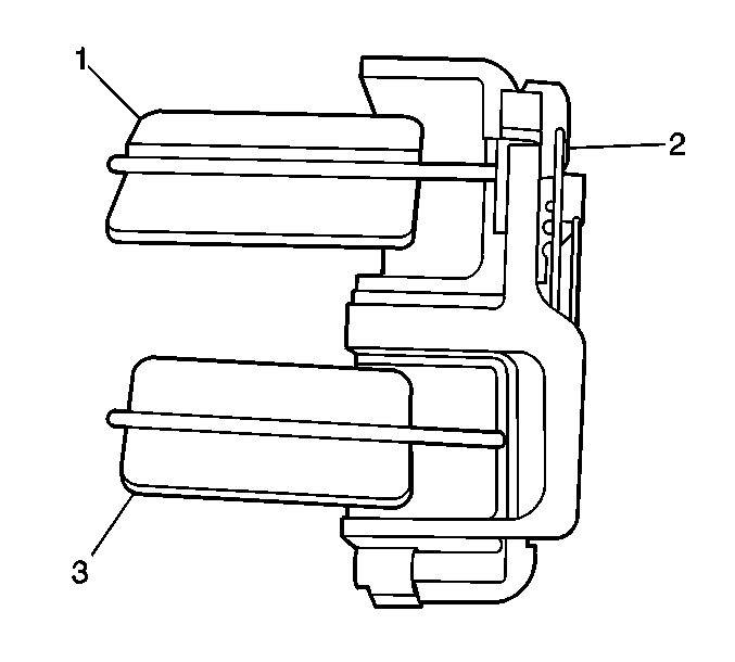
  7. Remove the defrost doors (1, 3).

Installation Procedure


    Object Number: 687774  Size: SH
  1. Install the defrost doors (1, 3).
  2. Install the mode actuator. Refer to Air Temperature Actuator Replacement .
  3. Assemble the heater module case.
  4. Install the heater module clips.
  5. Install the left half of the HVAC module from the vehicle. Refer to Heater/Vent Module Replacement .
  6. Install the instrument panel. Refer to Instrument Panel Carrier Replacement in Instrument Panel, Gages and Console.