GM Service Manual Online
For 1990-2009 cars only

Horn Replacement Single

Removal Procedure


    Object Number: 216297  Size: SH

    Caution: Unless directed otherwise, the ignition and start switch must be in the OFF or LOCK position, and all electrical loads must be OFF before servicing any electrical component. Disconnect the negative battery cable to prevent an electrical spark should a tool or equipment come in contact with an exposed electrical terminal. Failure to follow these precautions may result in personal injury and/or damage to the vehicle or its components.

  1. Disconnect the horn wiring harness.
  2. Remove the following components from the mounting stud:
  3. • The nut
    • The washer
    • The horn
  4. Remove the horn from the mounting bracket.

Installation Procedure


    Object Number: 216297  Size: SH
  1. Install the horn to the mounting bracket.
  2. Notice: Use the correct fastener in the correct location. Replacement fasteners must be the correct part number for that application. Fasteners requiring replacement or fasteners requiring the use of thread locking compound or sealant are identified in the service procedure. Do not use paints, lubricants, or corrosion inhibitors on fasteners or fastener joint surfaces unless specified. These coatings affect fastener torque and joint clamping force and may damage the fastener. Use the correct tightening sequence and specifications when installing fasteners in order to avoid damage to parts and systems.

  3. Install the following components to the stud:
  4. • The horn
    • The washer
    • The nut

    Tighten
    Tighten the nut to 17 N·m (13 lb ft).

  5. Connect the horn wiring harness.

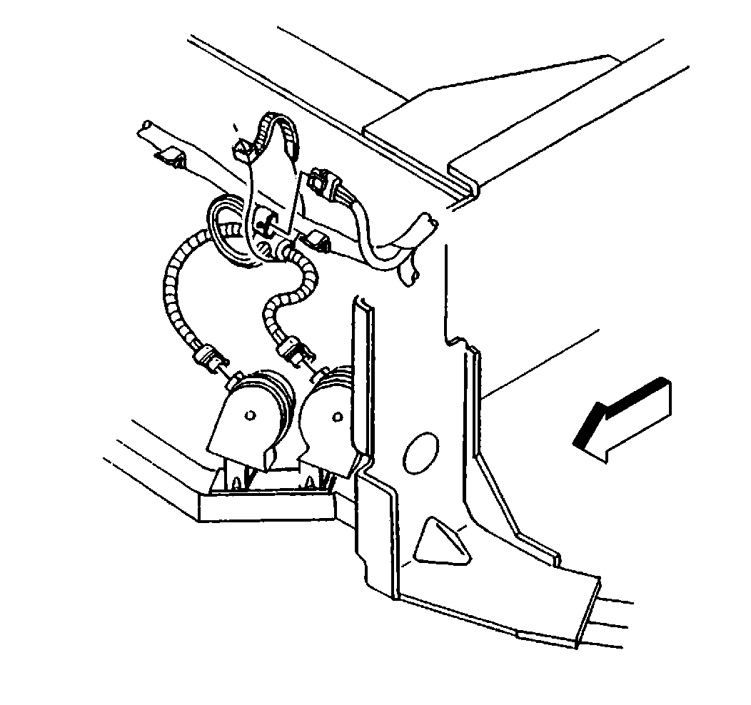
Horn Replacement Dual

Removal Procedure


    Object Number: 216288  Size: SH
  1. Disconnect the horn wiring harness.
  2. Remove the following components from the horn:
  3. • The nut
    • The washer
    • The mounting bolt
  4. Remove the horn from the mounting bracket.

Installation Procedure


    Object Number: 216288  Size: SH
  1. Install the horn to the mounting bracket.
  2. Notice: Use the correct fastener in the correct location. Replacement fasteners must be the correct part number for that application. Fasteners requiring replacement or fasteners requiring the use of thread locking compound or sealant are identified in the service procedure. Do not use paints, lubricants, or corrosion inhibitors on fasteners or fastener joint surfaces unless specified. These coatings affect fastener torque and joint clamping force and may damage the fastener. Use the correct tightening sequence and specifications when installing fasteners in order to avoid damage to parts and systems.

  3. Install the following components to the horn:
  4. • The mounting bolt
    • The washer
    • The nut

    Tighten
    Tighten the horn nut to 17 N·m (13 lb ft).

  5. Connect the horn wiring harness.