GM Service Manual Online
For 1990-2009 cars only

Caution: Road test a vehicle under safe conditions and while obeying all traffic laws. Do not attempt any maneuvers that could jeopardize vehicle control. Failure to adhere to these precautions could lead to serious personal injury and vehicle damage.

Important: Before performing any road test, inspect the tires and wheels. Refer to Tire and Wheel Inspection .

The following road test procedures are the most informative and the most used:

    • Tire and wheel inspection
    • Slow acceleration test
    • Neutral coast-down test
    • Downshift test
    • Neutral run-up test
    • Brake torque test
    • Steering input test
    • Standing start acceleration test (launch shudder)

These tests will help to pinpoint the vibration. Perform all of the tests on a smooth, level road.

Slow Acceleration Test

This test will identify those conditions which are related to the engine-speed or to the vehicle-speed. Additional tests may be necessary in order to determine the exact cause of the vibration.

    Caution: Road test a vehicle under safe conditions and while obeying all traffic laws. Do not attempt any maneuvers that could jeopardize vehicle control. Failure to adhere to these precautions could lead to serious personal injury and vehicle damage.

  1. On a smooth, level road, slowly accelerate up to highway speed.
  2. Look for disturbances that match the customer's description.
  3. Observe the following readings where the disturbance occurs:
  4. • The vehicle speed, km/h (mph)
    • The engine speed (RPM)
    • The frequency (if possible)

Now perform the neutral coast-down test and the downshift test.

Neutral Coast-Down Test

    Caution: Road test a vehicle under safe conditions and while obeying all traffic laws. Do not attempt any maneuvers that could jeopardize vehicle control. Failure to adhere to these precautions could lead to serious personal injury and vehicle damage.

  1. On a smooth level road, accelerate to a speed slightly higher than the speed at which the vibration occurs.
  2. Shift the vehicle into Neutral gear and coast down through the vibration range.
  3. Observe whether the vibration is present in Neutral gear.

If the vibration still occurs in NEUTRAL gear, then the vibration is definitely sensitive to vehicle-speed. At this point, the following components have been eliminated as a cause of the vibration:

    • The engine
    • The clutch disc (manual transmission)
    • The transmission flex plate (automatic transmission)
    • The torque converter

Depending on the symptoms or the frequency, the repair will concentrate on one of the following components:

    • The tire and wheel assemblies
    • The transmission output shaft
    • The propeller shaft
    • The rear axle differential pinion
    • The rear drive axle or the rear drive axle shafts

Downshift Test

    Caution: Road test a vehicle under safe conditions and while obeying all traffic laws. Do not attempt any maneuvers that could jeopardize vehicle control. Failure to adhere to these precautions could lead to serious personal injury and vehicle damage.

  1. On a smooth, level road, accelerate to the speed at which the concern vibration occurs.
  2. Observe the engine RPM.

  3. Decelerate and safely downshift to the next lower gear.
  4. Operate the vehicle at the previous engine RPM.

If the vibration returns at the same engine RPM, the following conditions are the most probable causes of the vibration:

    • The engine
    • The clutch disc (manual transmission)
    • The propeller shaft (located inside the driveline support assembly)
    • The transmission flex plate (automatic transmission)
    • The torque converter

Repeat this test in still smaller gears, and in Neutral gear, in order to confirm the results.

In some cases, a vibration may also be sensitive to torque or engine load, as well as being related to a specific engine speed or vehicle speed. These vibrations can be most difficult to diagnose, and require additional testing. A systematic approach usually leads to isolating the problem.

Neutral Run-Up Test

This test is designed to identify vibrations which are related to the speed of the engine. Use this test when the customer complains of vibration at idle, or as a follow-up to the downshift test. This test probably doesn't apply when the concern is related to vehicle speed only (appearing at the same vehicle speed regardless of the engine speed).

    Caution: Road test a vehicle under safe conditions and while obeying all traffic laws. Do not attempt any maneuvers that could jeopardize vehicle control. Failure to adhere to these precautions could lead to serious personal injury and vehicle damage.

  1. Slowly increase the engine speed while looking for disturbances that match the customer's concern.
  2. Observe the engine speed (RPM) and the frequency (if possible) where the vibration occurs.

Brake Torque Test

This test is designed to identify engine-related vibrations that were not uncovered with the neutral run-up test. This test also works for vibrations that are sensitive to the engine load or to the torque. This test will probably not apply to vibrations which are related only to the speed of the vehicle.

    Caution: Road test a vehicle under safe conditions and while obeying all traffic laws. Do not attempt any maneuvers that could jeopardize vehicle control. Failure to adhere to these precautions could lead to serious personal injury and vehicle damage.

  1. Apply the parking brake.
  2. Block the front wheels.
  3. Step firmly on the brake pedal.
  4. Place the vehicle in Drive.
  5. Slowly increase the engine speed while looking for vibrations that match the customer's description.
  6. Observe the engine speed (RPM) and the frequency (if possible) at which the disturbance occurs.
  7. If necessary, place the vehicle in Reverse gear and repeat steps 5 and 6.

Steering Input Test

This test is intended to determine how much the wheel bearings and other suspension components contribute to the vibration, especially a vibration relating to noise, such as growl, grinding, and roaring.

    Caution: Road test a vehicle under safe conditions and while obeying all traffic laws. Do not attempt any maneuvers that could jeopardize vehicle control. Failure to adhere to these precautions could lead to serious personal injury and vehicle damage.

  1. With the vehicle at the vibration speed (mph), drive through slow sweeping turns, first in one direction and then in the other direction.
  2. If the vibration gets worse or if the vibration goes away, inspect the following components as possible causes of the vibration:
  3. • The wheel bearings
    • The hubs
    • The tire tread

Standing Start Acceleration (Launch Shudder) Test

The purpose of this test is to duplicate a vibration called launch shudder. In some cases, a powertrain mount or an exhaust ground-out may also be the cause of the vibration, depending on the symptoms.

    Caution: Road test a vehicle under safe conditions and while obeying all traffic laws. Do not attempt any maneuvers that could jeopardize vehicle control. Failure to adhere to these precautions could lead to serious personal injury and vehicle damage.

  1. With the vehicle at a complete stop and in gear, remove your foot from the brake pedal.
  2. Accelerate to 48-64 km/h (30-40 mph) while looking for vibrations that match the customer's description.

Other possible causes of launch shudder include the following conditions:

    • Incorrect caster adjustment. Check the caster adjustment in front suspension.
    • A damaged propeller shaft.
    • Worn universal joints.
    • A ground-out engine/transmission mount.
    • Faulty exhaust hangers and mounts.

Front Spring Shackle Inspection Test


Object Number: 301887  Size: MH

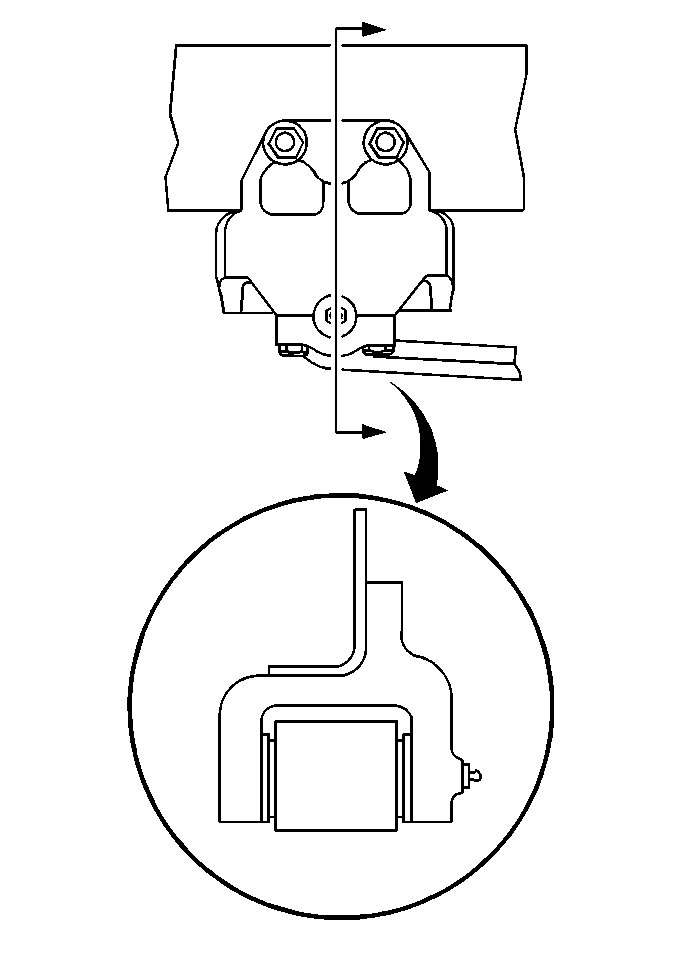
The lateral gap between the front spring eyes and/or shackle and the frame mounted spring hanger brackets should be measured with a feeler gauge and not exceed 1.016 mm (0.040 in). Thrust washers should be used to bring the lateral gap within tolerances.


Object Number: 301868  Size: MH

Exceeding this clearance may result in wander, shake, or "shimmy" and a slapping noise.


Object Number: 301863  Size: SH

If a vehicle rides well on a smooth road surface and a jolt or severe "slap-in-the back" occurs when passing over highway irregularities inspect the following and correct as required:

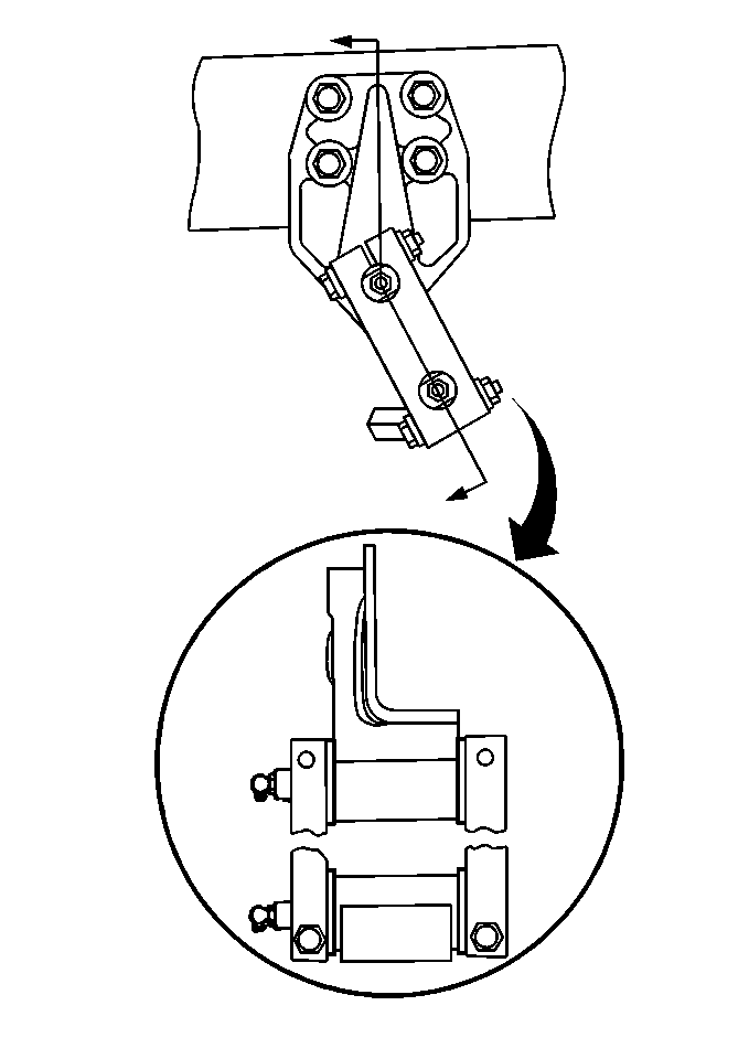
    • The shackle link position before raising the truck (1)
    • The shackle link position after raising the truck (2)
    • The shackle pins
    • Shock absorbers
    • Cab mounts
    • Fifth wheel

Shackle Pin Inspection Test

Apply grease to the front spring pin and shackle pin lubrication fittings (if equipped). As grease is applied, it should come out evenly at each end of the pins. If the assemblies accept grease readily and grease comes out each end of the assemblies, it is a good indicator they are actuating properly and not seized.

Another method of inspecting the front spring pins to ensure that they are not seized requires placing jacks under the frame rail at the front of the vehicle and lifting the vehicle. If the spring pivots around the front spring pin, and the shackle link position changes in relation to the spring leaves on the bottom and mounting bracket on the top, the assemblies are activating properly.

If the shackle link position does not change, replace the front spring pin and shackle pins as required.

Fifth Wheel Inspection Test


Object Number: 301892  Size: SH

Rock the fifth wheel mounting plate manually up and down to ensure that it pivots freely in the fifth wheel support bracket. If the fifth wheel mounting plate is seized or the pivot bushings are worn, service as required.