GM Service Manual Online
For 1990-2009 cars only
Makes
🢒
Isuzu
🢒
2001
🢒
Isuzu T-Series (Truck Line C)
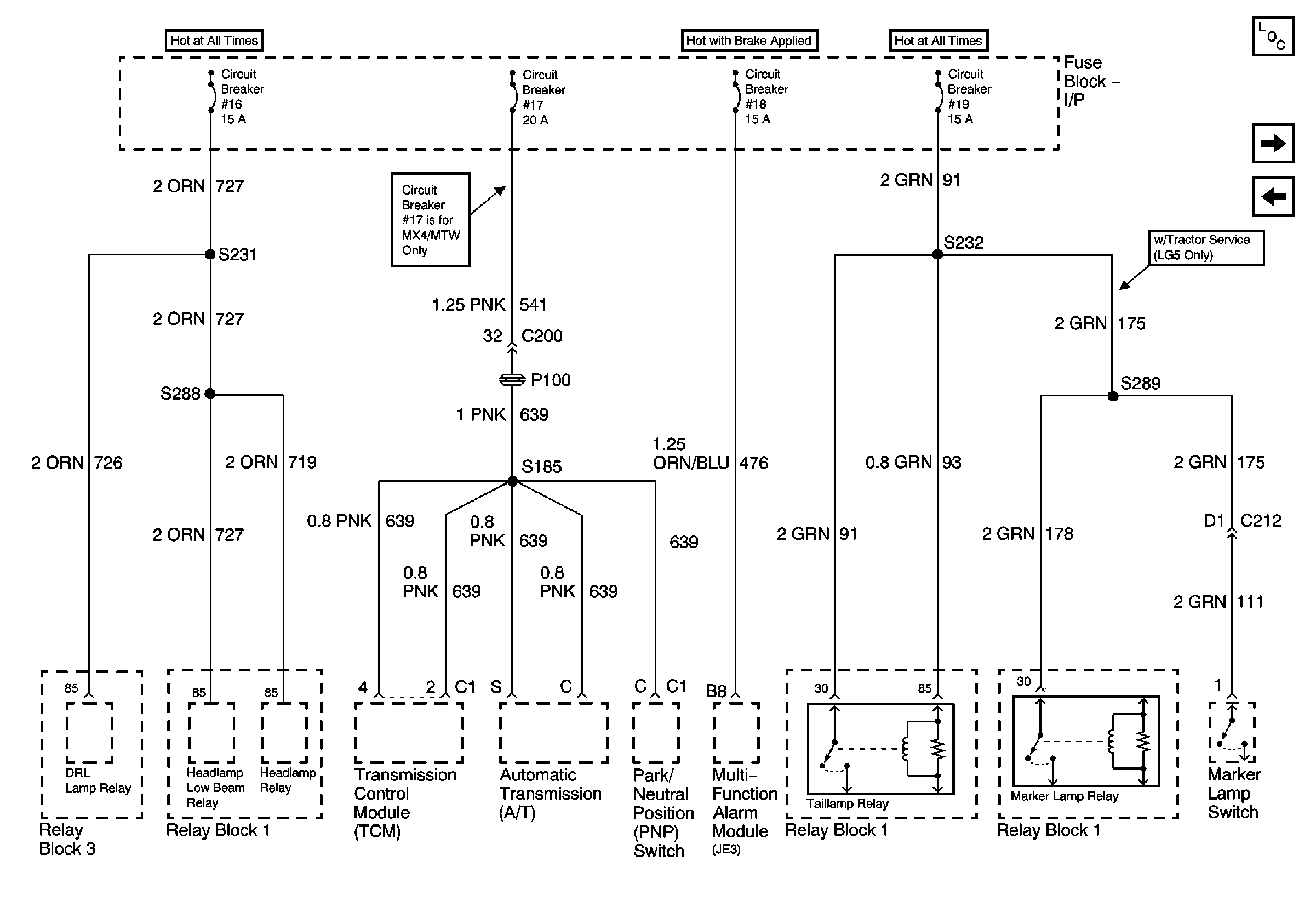
🢒 IP Fuse Block, Circuit Breakers, 16, 18, 19
IP Fuse Block, Circuit Breakers, 16, 18, 19
IP Fuse Block, Circuit Breakers, 16, 18, 19
Master Electrical Component List
IP Fuse Block, Circuit Breakers 20, 21, 22, 23
Circuit Breaker 9 (3 of 3)