GM Service Manual Online
For 1990-2009 cars only
Makes
🢒
Isuzu
🢒
2001
🢒
Isuzu T-Series (Truck Line C)
🢒 Exhaust Brake, Air Susp Dump Lamps and Tachometer
Exhaust Brake, Air Susp Dump Lamps and Tachometer
Exhaust Brake, Air Susp Dump Lamps and Tachometer
Master Electrical Component List
Indicator/Warning Message Description and Operation
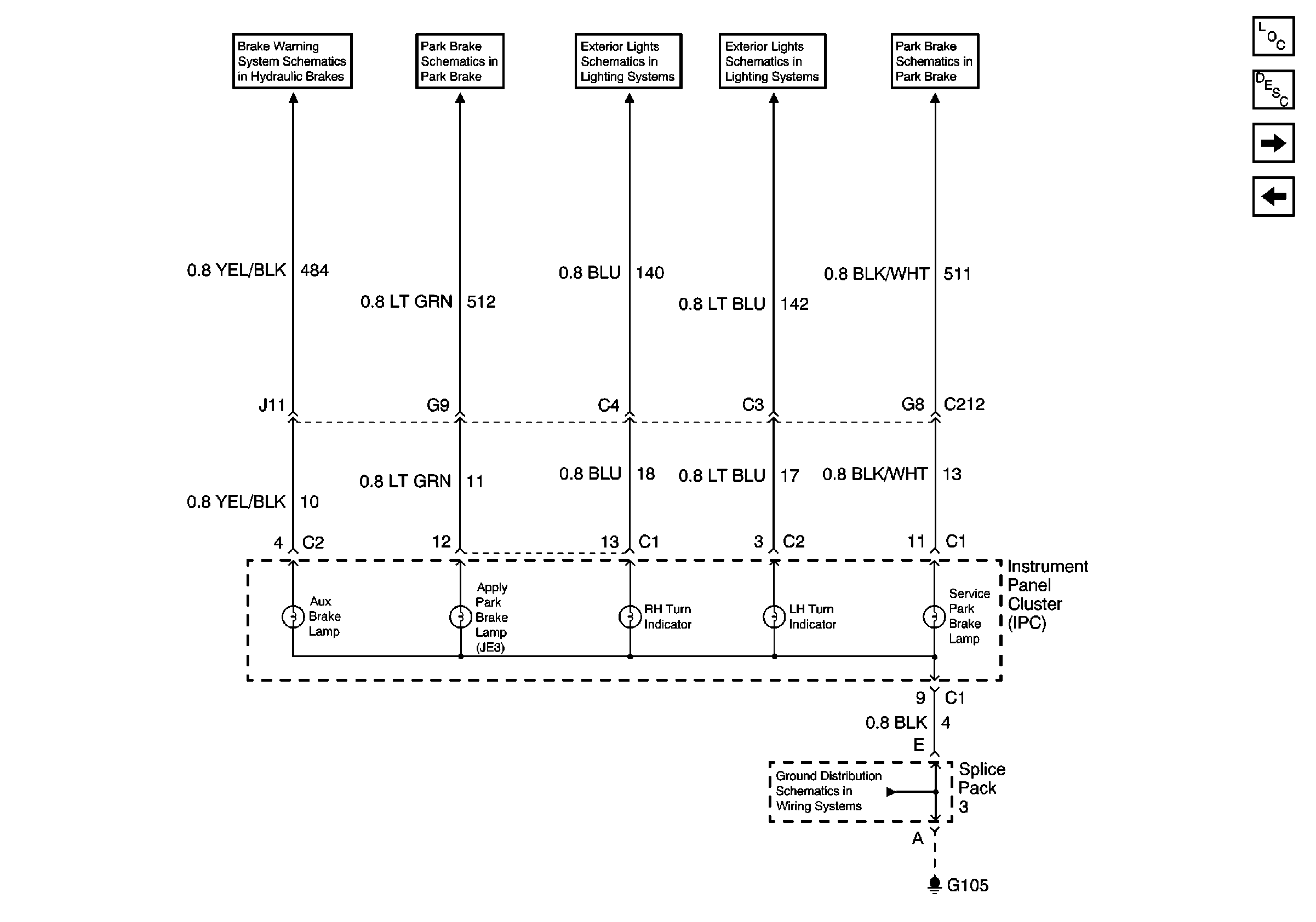
Aux Brake, Apply Park Brake, RH Turn, Volt Meter, LH Turn and Service Park Brake Lamps
Fuse Voltage Supply