GM Service Manual Online
For 1990-2009 cars only
Makes
🢒
Isuzu
🢒
2001
🢒
Isuzu T-Series (Truck Line C)
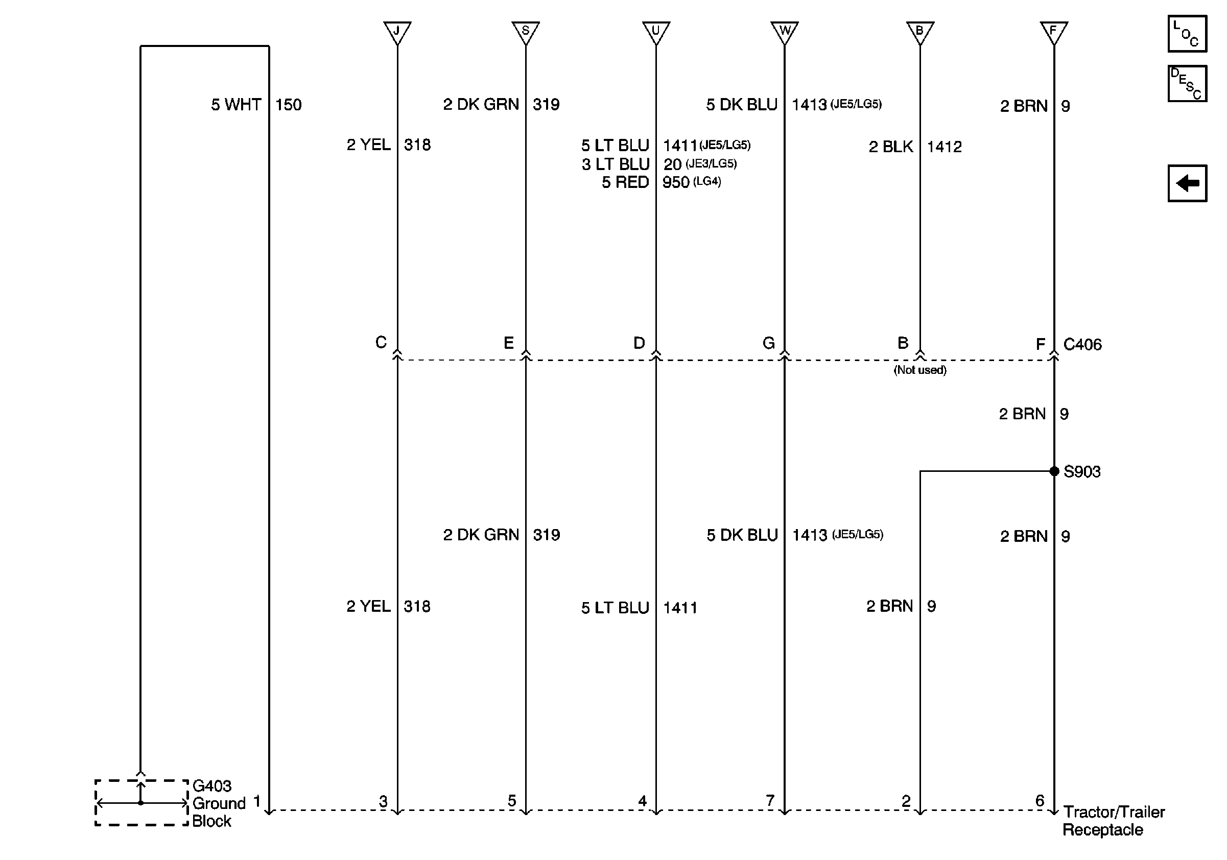
🢒 Trailer Wiring
Trailer Wiring
Trailer Wiring
Master Electrical Component List
Exterior Lighting Systems Description and Operation
Lighted Mirrors
Hazard Flasher, Stop Lamps Switch-JE3
Hazard Flasher, Stop Lamps Switch-JE3
Trailer Stop Relay, ABS Relay
Trailer Stop Relay, ABS Relay
Exterior Lamps Switch and Relays
Exterior Lamps Switch and Relays