GM Service Manual Online
For 1990-2009 cars only

Removal Procedure

  1. Tilt the cab. Refer to Cab Tilting .
  2. Drain the coolant. Refer to Cooling System Draining and Filling .
  3. Remove the shield, if equipped.

  4. Object Number: 1257770  Size: SH
  5. Remove the electrical cable from the engine coolant heater.

  6. Object Number: 204545  Size: SH
  7. Remove the heater from the engine block.
  8. Inspect the holes in the block for smoothness. Remove any burrs or rough spots.
  9. Inspect the electrical cable connectors for the following conditions:
  10. • Corrosion
    • Damage

    Caution: A block heater electrical cord that is damaged creates a shock hazard, and must be replaced.

  11. Inspect the following components for damage:
  12. • The electrical cable
    • The plug
  13. Clean the following components:
  14. • The hole in the block
    • The electrical connectors

Installation Procedure


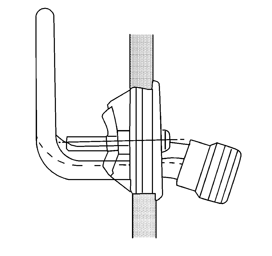
    Object Number: 204560  Size: SH
  1. Apply a coat of petroleum jelly to the following areas:
  2. • The opening of the engine block
    • The rubber O-ring seal on the heater

    Object Number: 204562  Size: SH
  3. Insert the engine coolant heater into the hole in the engine block.
  4. Notice: Refer to Fastener Notice in the Preface section.


    Object Number: 204661  Size: SH
  5. Position the engine coolant heater hairpin end toward the front of the vehicle.
  6. Tighten
    Tighten the engine coolant heater screw to 3 N·m (23 lb in).

  7. Install the shield, if equipped.

  8. Object Number: 1257770  Size: SH

    Important: Leave slack in the electrical cable between the engine and the frame. This will ensure that engine vibration will not stretch the cable or damage the connection.

  9. Connect the electrical cable to the engine coolant heater.
  10. Ensure that the cable does not touch the following components:

    • The engine
    • The manifold
    • Any moving parts
  11. Fill the cooling system. Refer to Cooling System Draining and Filling .
  12. Inspect the system for leaks.
  13. Lower the cab. Refer to Cab Tilting .