GM Service Manual Online
For 1990-2009 cars only

Tools Required

J 39400-A Halogen Leak Detector

Removal Procedure

  1. Tilt the cab. Refer to Cab Tilting in General Information.
  2. Recover the refrigerant from the A/C system. Refer to Refrigerant Recovery and Recharging .

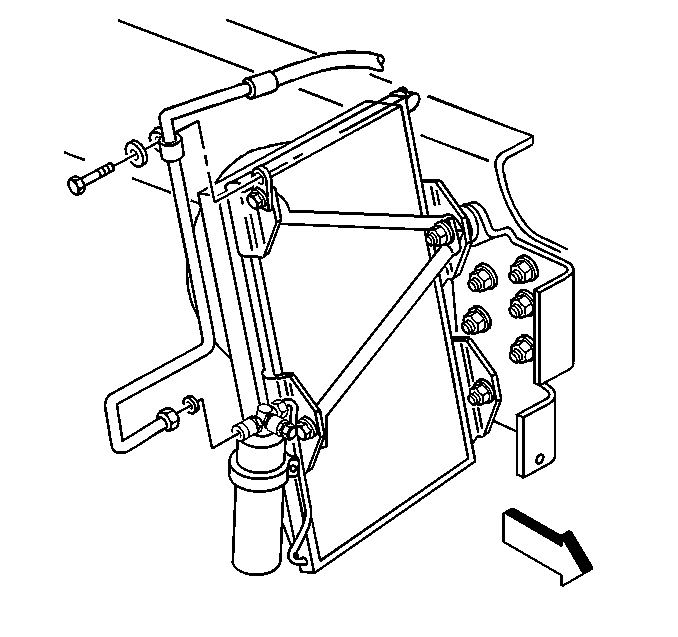
  3. Object Number: 229705  Size: SH
  4. Remove the condenser hose from the condenser.
  5. Remove the receiver dehydrator electrical connector from the receiver dehydrator pressure switch.
  6. Remove the tube clamp screw and washer at the top right corner of the condenser.

  7. Object Number: 229717  Size: SH
  8. Remove the O-ring seal from the condenser. Discard the O-ring seal.
  9. Remove the 2 clamp bracket screws.
  10. Disconnect the condenser tube from the receiver dehydrator and remove the receiver dehydrator.
  11. Remove the O-ring seal from the receiver dehydrator. Discard the O-ring seal.

  12. Object Number: 229725  Size: SH
  13. Remove the condenser brace insulator nut and the washer at the braces.
  14. Remove the following components from the frame rail:
  15. • The nuts from the 2 condenser mounting brackets
    • The bolts
    • The insulators
    • 4 washers
    • The condenser
  16. Remove the following components from the frame rail:
  17. • The nut
    • The washer
    • The condenser insulator
  18. Remove the following components from the condenser:
  19. • The nut
    • The bolt
    • The washers
    • The bracket
    • The upper condenser brace
    • The lower condenser brace

Installation Procedure


    Object Number: 229722  Size: SH

    Notice: Use the correct fastener in the correct location. Replacement fasteners must be the correct part number for that application. Fasteners requiring replacement or fasteners requiring the use of thread locking compound or sealant are identified in the service procedure. Do not use paints, lubricants, or corrosion inhibitors on fasteners or fastener joint surfaces unless specified. These coatings affect fastener torque and joint clamping force and may damage the fastener. Use the correct tightening sequence and specifications when installing fasteners in order to avoid damage to parts and systems.

  1. Install the lower condenser brace to the condenser. Secure the brace with the following components:
  2. • The bolt
    • The washers
    • The nut

    Tighten
    Tighten the lower condenser brace nut to 70 N·m (51 lb ft).

  3. Install the upper condenser brace to the condenser. Secure the brace with the following components:
  4. • The bolt
    • The washers
    • The bracket
    • The nut

    Tighten
    Tighten the upper condenser brace nut to 70 N·m (51 lb ft).

  5. Install the condenser insulator to the frame rail. Secure the insulator with a washer and a nut.
  6. Tighten
    Tighten the condenser insulator nut to 35 N·m (26 lb ft).


    Object Number: 229717  Size: SH
  7. Install the condenser to the frame rail. Secure the condenser with the following components:
  8. • 2 condenser mounting bracket insulators
    • 4 washers
    • 2 bolts
    • Nuts

    Tighten
    Tighten the condenser insulator bracket nuts to 24 N·m (18 lb ft).

  9. Install the condenser brace insulator washer and the nut.
  10. Tighten
    Tighten the condenser insulator nut to 35 N·m (26 lb ft).


    Object Number: 229725  Size: SH
  11. Coat the new O-ring seal. Use 525 viscosity refrigerant oil.
  12. Install the new O-ring seal.
  13. Connect the condenser tube to the receiver dehydrator.
  14. Install the 2 clamp bracket screws.
  15. Coat the new O-ring seal with 525 viscosity refrigerant oil. Install the new O-ring seal.

  16. Object Number: 229705  Size: SH
  17. Install the tube clamp screw and washer to the top right corner of the condenser.
  18. Install the receiver dehydrator electrical connector to the receiver dehydrator pressure switch.
  19. Install the condenser hose to the condenser.
  20. Evacuate and recharge the A/C system. Refer to Refrigerant Recovery and Recharging .
  21. Leak test the fitting(s) of the repaired or reinstalled component using the J 39400-A .
  22. Lower the cab. Refer to Cab Tilting in General Information.