GM Service Manual Online
For 1990-2009 cars only

Tools Required

J 39400-A Halogen Leak Detector

Removal Procedure

  1. Recover the refrigerant from the A/C system. Refer to Refrigerant Recovery and Recharging .
  2. Remove the screw from the right wiper arm linkage.
  3. Remove the right wiper arm linkage from the wiper arm pivot.
  4. Remove the nut and the hose bracket.

  5. Object Number: 574879  Size: SH
  6. Remove the low pressure hose from the evaporator.
  7. Remove the low pressure hose O-ring seal from the evaporator.
  8. Remove the high pressure hose.
  9. Remove the high pressure hose O-ring seal from the evaporator.
  10. Remove the primary evaporator core cover screws.
  11. Remove the primary evaporator core cover, foam insulator, and cover.
  12. Disconnect the electrical connector from the evaporator temperature sensor.

  13. Object Number: 735873  Size: SH
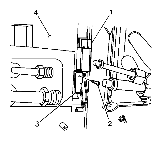
  14. Remove the retaining screw (2) from the evaporator temperature sensor (3).

  15. Object Number: 735871  Size: SH
  16. Remove the evaporator temperature sensor probe (2) from the secondary evaporator cover.

Installation Procedure


    Object Number: 735871  Size: SH
  1. Install the evaporator temperature sensor probe (2) to the secondary evaporator cover.

  2. Object Number: 735873  Size: SH
  3. Install the retaining screw (2) to the evaporator temperature sensor (3).
  4. Connect the electrical connector to the evaporator temperature sensor.
  5. Install the primary evaporator core cover and foam insulator.
  6. Install the primary evaporator core cover screws.
  7. Coat the new O-ring seal with 525 viscosity refrigerant oil.
  8. Install the new O-ring seal.

  9. Object Number: 574879  Size: SH
  10. Install the high pressure hose to the evaporator.
  11. Coat the new O-ring seal with 525 viscosity refrigerant oil.
  12. Install the new O-ring seal.
  13. Notice: Use the correct fastener in the correct location. Replacement fasteners must be the correct part number for that application. Fasteners requiring replacement or fasteners requiring the use of thread locking compound or sealant are identified in the service procedure. Do not use paints, lubricants, or corrosion inhibitors on fasteners or fastener joint surfaces unless specified. These coatings affect fastener torque and joint clamping force and may damage the fastener. Use the correct tightening sequence and specifications when installing fasteners in order to avoid damage to parts and systems.

  14. Install the low pressure hose to the evaporator.
  15. Tighten

        • Tighten the evaporator high pressure hose fitting at the condenser to 18 N·m (13 lb ft).
        • Tighten the evaporator low pressure hose fitting at the evaporator to 32 N·m (24 lb ft).
  16. Install the hose bracket and nut.
  17. Tighten
    Tighten the nut to 30 N·m (22 lb ft).

  18. Push the right wiper arm linkage carefully onto the wiper arm pivot.
  19. Install the screw to the right wiper arm linkage. Refer to Wiper Center Pivot Replacement .
  20. Evacuate and recharge the A/C system. Refer to Refrigerant Recovery and Recharging .
  21. Leak test the fitting(s) of the repaired or reinstalled components using the J 39400-A .