GM Service Manual Online
For 1990-2009 cars only

Tools Required

J 39400-A Halogen Leak Detector

Removal Procedure

  1. Tilt the cab. Refer to Cab Tilting in General Information.
  2. Recover the refrigerant from the A/C system. Refer to Refrigerant Recovery and Recharging .

  3. Object Number: 392205  Size: SH
  4. Remove the compressor hose assembly bolt.
  5. Remove the compressor sealing washers.

  6. Object Number: 229709  Size: SH
  7. Remove the compressor hose assembly from the compressor.
  8. Discard the compressor sealing washers.

  9. Object Number: 229705  Size: SH
  10. Remove the compressor hose assembly from the condenser.
  11. Remove the O-ring seal.
  12. Discard the O-ring seal.


    Object Number: 574879  Size: SH
  13. Remove the refrigerant hose from the evaporator.
  14. Remove the O-ring seal and discard.
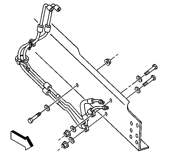
  15. Remove the following components from the frame rail and the refrigerant hoses:
  16. • The hose clamp nuts
    • The washers
    • The bolts
    • The hose clamps

Installation Procedure

    Notice: Use the correct fastener in the correct location. Replacement fasteners must be the correct part number for that application. Fasteners requiring replacement or fasteners requiring the use of thread locking compound or sealant are identified in the service procedure. Do not use paints, lubricants, or corrosion inhibitors on fasteners or fastener joint surfaces unless specified. These coatings affect fastener torque and joint clamping force and may damage the fastener. Use the correct tightening sequence and specifications when installing fasteners in order to avoid damage to parts and systems.

  1. Install the hose clamps to the compressor hoses assembly and frame rail. Secure the hose clamps with bolts washers and nuts.
  2. Tighten
    Tighten the refrigerant hose clamp nuts to 30 N·m (22 lb ft).

  3. Coat the new O-ring seal with 525 viscosity refrigerant oil.

  4. Object Number: 229709  Size: SH
  5. Install the new O-ring seal into the evaporator end of the refrigerant hose.

  6. Object Number: 574879  Size: SH
  7. Connect the compressor hose assembly to the evaporator.
  8. Tighten
    Tighten the compressor hose fitting to 32 N·m (24 lb ft).

  9. Coat the new O-ring seal with 525 viscosity refrigerant oil.

  10. Object Number: 229705  Size: SH
  11. Install the new O-ring seal in the condenser end of the refrigerant.
  12. Connect the compressor hose assembly to the condenser.
  13. Tighten
    Tighten the compressor hose assembly fitting to 23 N·m (17 lb ft).


    Object Number: 221216  Size: SH

    Important: When installing the sealing washers, prevent dirt or foreign materials from getting on the surfaces of the following components:

       • The washers
       • The hose fittings
       • The compressor ports
    Clean all of the sealing surfaces with a lint-free rag.

    Do not reuse the sealing washers.

    Do not oil the sealing washers prior to assembly.

  14. Install the new sealing washers onto the pilots of the fittings. Ensure that the washers bottom against the surface of the fittings.

  15. Object Number: 392205  Size: SH
  16. Install the compressor hoses assembly to the compressor. .
  17. Important: There should be a 1.2 mm (0.0047 in) space between the fittings and the compressor rear head.

  18. Hold the clamp in place. Hand tighten the compressor fitting bolt.
  19. Tighten
    Tighten the compressor hose fitting bolt to 35 N·m (26 lb ft).

  20. Evacuate and recharge the A/C system. Refer to Refrigerant Recovery and Recharging .
  21. Leak test the fitting(s) of the repaired or reinstalled components using the J 39400-A .
  22. Lower the cab. Refer to Cab Tilting in General Information.