GM Service Manual Online
For 1990-2009 cars only

Drivetrain and Front Suspension Frame Insulator Replacement Cab Mounts

Removal Procedure

    Notice: The cab must be properly supported and the weight of the cab evenly distributed during cab mount replacement. Failure to provide proper support could result in damage to the vehicle.

  1. Raise the cab. Refer to Cab Tilting .
  2. Mark the shaft and gear in order to aid in reassembly.
  3. Remove the steering shaft at the steering gear.
  4. Remove the cab lock cover.
  5. Fasten a rope securely to the cable lock. Use a hoist or a chain block in order to keep the cab tilted.

  6. Object Number: 215792  Size: SH
  7. Remove the torsion bar levers.

  8. Object Number: 215795  Size: SH
  9. Remove the cab tilt support.

  10. Object Number: 215794  Size: SH
  11. While slowly lowering the cab, remove each one of the center pins by tapping the pin with a hammer.

  12. Object Number: 215784  Size: SH

    Important: The trimmed cab weighs about 500 kg (1,340 lbs).

  13. Perform the following procedure:
  14. 9.1. Use 4 commercial straps that are 152 mm (6 in) wide and about 3 m (10 ft) long in order to lift the cab from the chassis.
    9.2. Pass the straps into the cab through the door on each side at the top rear of the window openings.
    9.3. Connect the straps in the center.
    9.4. Close the doors.
    9.5. Lift the cab from the chassis just enough to clear the mounts.

    Object Number: 215816  Size: SH
  15. Remove the front cab mount assembly from the frame.

Installation Procedure


    Object Number: 215816  Size: SH

    Notice: The cab must be properly supported and the weight of the cab evenly distributed during cab mount replacement. Failure to provide proper support could result in damage to the vehicle.

    Notice: Use the correct fastener in the correct location. Replacement fasteners must be the correct part number for that application. Fasteners requiring replacement or fasteners requiring the use of thread locking compound or sealant are identified in the service procedure. Do not use paints, lubricants, or corrosion inhibitors on fasteners or fastener joint surfaces unless specified. These coatings affect fastener torque and joint clamping force and may damage the fastener. Use the correct tightening sequence and specifications when installing fasteners in order to avoid damage to parts and systems.

  1. Install the front cab mount assembly to the frame.
  2. Tighten
    Tighten the bolts to 162 N·m (119 lb ft).


    Object Number: 215784  Size: SH
  3. Slowly lower the cab into position.

  4. Object Number: 215794  Size: SH
  5. Install the left and right center pins.
  6. Hook a wire to the cab striker, pull the safety lever, and tilt the cab slowly. Use the wire in order to keep the cab from floating up.
  7. Install the cab tilt support to the cab.
  8. Lower the bracket.
  9. Tighten
    Tighten the bolt to 45 N·m (33 lb ft).


    Object Number: 215795  Size: SH
  10. Lower the cab until the hole in the cab support inner channel aligns with the top hole in the cab support outer channel.
  11. Install the following components:
  12. • The pin
    • The washer
    • The cotter pin

    Object Number: 215792  Size: SH
  13. Perform the following in order to install the torsion bar levers:
  14. 9.1. Locate the left and right identification marks.
    9.2. Match the serration.
    9.3. Install the torsion bar levers.

    Tighten
    Tighten the bolt/nut to 37 N·m (27 lb ft).


    Object Number: 215820  Size: SH
  15. Apply grease to the steering shaft.
  16. Use the match marks made during disassembly as a guide to install the steering shaft.
  17. Securely insert the steering shaft and the steering unit to the far end.
  18. Tighten the key bolt.
  19. Tighten
    Tighten the bolt to 61 N·m (45 lb ft).

  20. Lower the cab.

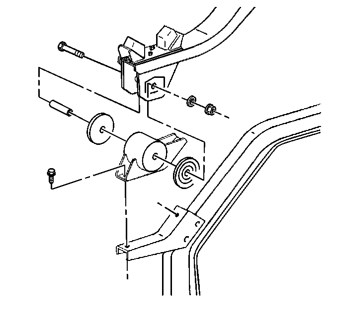
Drivetrain and Front Suspension Frame Insulator Replacement Cab Mount

Removal Procedure

  1. Raise the cab. Refer to Cab Tilting in General Information.

  2. Object Number: 215823  Size: SH
  3. Remove the mount from the upper bracket.
  4. Remove the following components:
  5. • The through-bolt
    • The spacer
    • The washers

    Object Number: 215826  Size: SH
  6. Remove the upper bracket.
  7. Remove lower bracket.

  8. Object Number: 215830  Size: SH
  9. Remove the rear body mount from the frame.

Installation Procedure


    Object Number: 215830  Size: SH

    Notice: The cab must be properly supported and the weight of the cab evenly distributed during cab mount replacement. Failure to provide proper support could result in damage to the vehicle.

    Notice: Use the correct fastener in the correct location. Replacement fasteners must be the correct part number for that application. Fasteners requiring replacement or fasteners requiring the use of thread locking compound or sealant are identified in the service procedure. Do not use paints, lubricants, or corrosion inhibitors on fasteners or fastener joint surfaces unless specified. These coatings affect fastener torque and joint clamping force and may damage the fastener. Use the correct tightening sequence and specifications when installing fasteners in order to avoid damage to parts and systems.

  1. Install the rear body mount to the frame.
  2. Tighten
    Tighten the bolt to 240 N·m (177 lb ft).

  3. Install the lower bracket.
  4. Tighten
    Tighten the bolts to 93 N·m (69 lb ft).


    Object Number: 215826  Size: SH
  5. Install the upper bracket.
  6. Tighten
    Tighten the bolt to 215 N·m (159 lb ft).

  7. Install the following components:
  8. • The through bolt
    • The spacer
    • The washers

    Object Number: 215823  Size: SH
  9. Install the mount to the upper bracket.
  10. Lower the cab.

Drivetrain and Front Suspension Frame Insulator Replacement Bracket

Removal Procedure

  1. Release the cab lock.

  2. Object Number: 215834  Size: SH
  3. Remove the bolts from the bracket.
  4. Remove the bracket from the cab.

Installation Procedure


    Object Number: 215834  Size: SH

    Notice: Use the correct fastener in the correct location. Replacement fasteners must be the correct part number for that application. Fasteners requiring replacement or fasteners requiring the use of thread locking compound or sealant are identified in the service procedure. Do not use paints, lubricants, or corrosion inhibitors on fasteners or fastener joint surfaces unless specified. These coatings affect fastener torque and joint clamping force and may damage the fastener. Use the correct tightening sequence and specifications when installing fasteners in order to avoid damage to parts and systems.

  1. Install the bracket to the cab.
  2. Tighten
    Tighten the bolts to 15 N·m (11 lb ft).

  3. Latch the cab lock.