GM Service Manual Online
For 1990-2009 cars only

Removal Procedure


    Object Number: 215666  Size: SH
  1. Remove the front fender brace bolts.

  2. Object Number: 215669  Size: SH
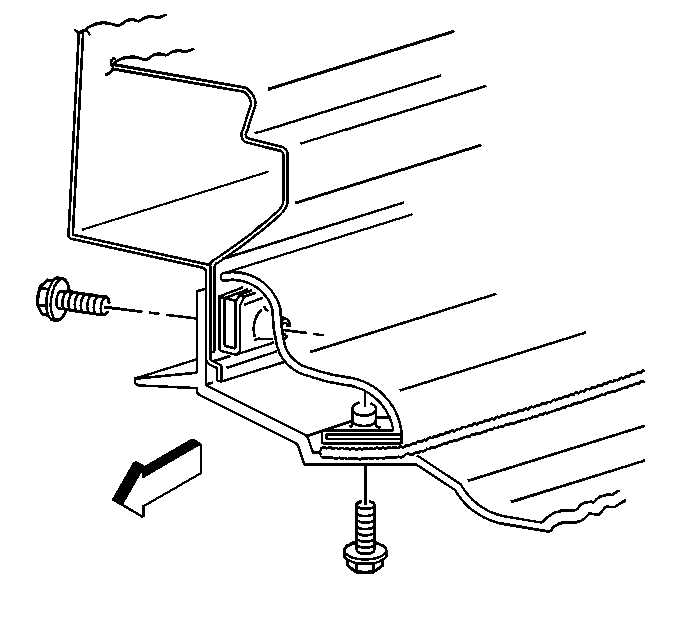
  3. Remove the front fender to cab bolts.

  4. Object Number: 215672  Size: SH
  5. Remove the front fender.

  6. Object Number: 215668  Size: SH
  7. Remove the front fender seal.

Installation Procedure


    Object Number: 215668  Size: SH
  1. Install the front fender seal to rocker panel.

  2. Object Number: 215672  Size: SH
  3. Install the front fender to the cab.
  4. Notice: Use the correct fastener in the correct location. Replacement fasteners must be the correct part number for that application. Fasteners requiring replacement or fasteners requiring the use of thread locking compound or sealant are identified in the service procedure. Do not use paints, lubricants, or corrosion inhibitors on fasteners or fastener joint surfaces unless specified. These coatings affect fastener torque and joint clamping force and may damage the fastener. Use the correct tightening sequence and specifications when installing fasteners in order to avoid damage to parts and systems.

  5. Install the front fender to the cab bolts.
  6. Tighten
    Tighten the bolts to 13 N·m (115 lb in).


    Object Number: 215666  Size: SH
  7. Install the front fender brace bolts.
  8. Tighten
    Tighten the bolts to 9 N·m (80 lb in).