GM Service Manual Online
For 1990-2009 cars only

Removal Procedure


    Object Number: 215689  Size: SH
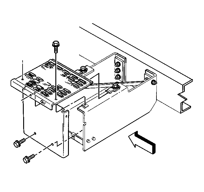
  1. Remove the top cover bolts and the washers from the component box.
  2. Remove the side cover bolts and the washers from the component box.
  3. Remove the top cover.
  4. Remove the side cover.
  5. If you need to gain access to the component box, perform the following procedures:
  6. • Remove the following components from the brace:
       - The nuts
       - The bolts
       - The washers
    • Remove the following components from the supports:
       - The nuts
       - The bolts
       - The washers
  7. Remove 6 bolts and washers from inside the frame rail.
  8. Remove the reinforcements and box sides from the frame rail.

Installation Procedure


    Object Number: 215689  Size: SH
  1. Install the sides of the component.
  2. Notice: Use the correct fastener in the correct location. Replacement fasteners must be the correct part number for that application. Fasteners requiring replacement or fasteners requiring the use of thread locking compound or sealant are identified in the service procedure. Do not use paints, lubricants, or corrosion inhibitors on fasteners or fastener joint surfaces unless specified. These coatings affect fastener torque and joint clamping force and may damage the fastener. Use the correct tightening sequence and specifications when installing fasteners in order to avoid damage to parts and systems.

  3. Install the reinforcements to the frame with the following components:
  4. • The 6 bolts
    • The washers
    • The nuts

    Tighten
    Tighten the nuts to 70 N·m (52 lb ft).

  5. If you removed the components of the component box, perform the following procedures:
  6. • Install the following components to the supports:
       - The bolts
       - The washers
       - The nuts

    Tighten
    Tighten the nuts to 24 N·m (18 lb ft).

    • Install the following components to the brace:
       - The bolts
       - The washers
       - The nuts

    Tighten
    Tighten the nuts to 45 N·m (33 lb ft).

  7. Install the side cover to the component box, with the bolts and washers.
  8. Tighten
    Tighten the bolts to 30 N·m (22 lb ft).

  9. Install the top cover to the component box, with the bolts and washers.
  10. Tighten
    Tighten the bolts to 30 N·m (22 lb ft).