GM Service Manual Online
For 1990-2009 cars only

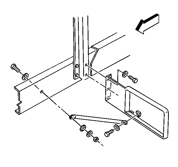
Removal Procedure


    Object Number: 215675  Size: SH
  1. Disconnect the fender extension to the bracket bolts.
  2. Remove the fender extension.
  3. Remove the fender extension brace.

  4. Object Number: 223322  Size: SH
  5. Remove the fender extension bracket.

Installation Procedure


    Object Number: 223322  Size: SH
  1. Install the fender extension bracket.
  2. Notice: Use the correct fastener in the correct location. Replacement fasteners must be the correct part number for that application. Fasteners requiring replacement or fasteners requiring the use of thread locking compound or sealant are identified in the service procedure. Do not use paints, lubricants, or corrosion inhibitors on fasteners or fastener joint surfaces unless specified. These coatings affect fastener torque and joint clamping force and may damage the fastener. Use the correct tightening sequence and specifications when installing fasteners in order to avoid damage to parts and systems.

  3. Install the fender extension brace.
  4. Tighten
    Tighten the nut to 70 N·m (52 lb ft).


    Object Number: 215675  Size: SH
  5. Install the fender extension.
  6. Connect the fender extension to the bracket bolts.
  7. Tighten
    Tighten the nut to 15 N·m (11 lb ft).