GM Service Manual Online
For 1990-2009 cars only

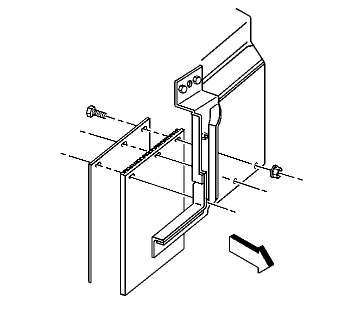
Removal Procedure

  1. Raise and support the cab. Refer to Cab Tilting .

  2. Object Number: 215678  Size: SH
  3. Remove the splash shield reinforcement nuts and bolts.
  4. Remove the splash shield reinforcement from the inner fender panel.

Installation Procedure


    Object Number: 215678  Size: SH
  1. Install the splash shield reinforcement to the inner fender panel.
  2. Notice: Use the correct fastener in the correct location. Replacement fasteners must be the correct part number for that application. Fasteners requiring replacement or fasteners requiring the use of thread locking compound or sealant are identified in the service procedure. Do not use paints, lubricants, or corrosion inhibitors on fasteners or fastener joint surfaces unless specified. These coatings affect fastener torque and joint clamping force and may damage the fastener. Use the correct tightening sequence and specifications when installing fasteners in order to avoid damage to parts and systems.

  3. Install the splash shield reinforcement bolts and nuts.
  4. Tighten
    Tighten the nuts to 9 N·m (80 lb in).

  5. Lower the cab. Refer to Cab Tilting .