GM Service Manual Online
For 1990-2009 cars only

Removal Procedure

Caution: When working with any type of glass or sheet metal with exposed or rough edges, wear approved safety glasses and gloves in order to reduce the chance of personal injury.

Caution: If a window is cracked but still intact, crisscross the window with masking tape in order to reduce the risk of damage or personal injury.

  1. Both the technician and the assistant should wear saftey-glasses while doing this procedure.
  2. Apply masking tape to the painted surface arond the stationary window in order to prevent paint damage.
  3. Push the weatherstrip out of the body flange at the two corners of the top edge of the window.

  4. Object Number: 215146  Size: SH
  5. Using a helper outside of the cab, push the window out gradually from inside the cab.

Installation Procedure

Caution: When working with any type of glass or sheet metal with exposed or rough edges, wear approved safety glasses and gloves in order to reduce the chance of personal injury.

  1. Both the technician and the assistant should wear saftey-glasses while doing this procedure.

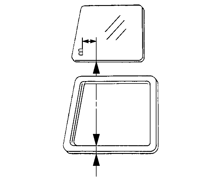
  2. Object Number: 215153  Size: SH
  3. Install the weatherstrip to the window.
  4. When the weatherstrip and the window are assembled together, keep the weather strip parallel with the window.


    Object Number: 215154  Size: SH
  5. Lay a string with a diameter measuring 4 mm between the lips of the weatherstrip.
  6. After installing the string around one turn, leave the string crossed at the bottom center of the window approximately 200 mm (7.8 in).

  7. Object Number: 215155  Size: SH
  8. Holding the window from the outside, align the center of the window with the body.
  9. Using a helper inside the cab, pull the string from the inside toward the center of the window.
  10. • Fit the lips gradually into the body flange.
    • In order to keep the window from shifting to one side, support the window securely.
  11. If the weatherstrip swells in one area, tap lightly with a rubber mallet in order to distribute the strip evenly.