GM Service Manual Online
For 1990-2009 cars only

Tools Required

    • J 41220 Slinger Remover and Installer
    • J 41221 Oil Seal Remover and Installer

    Object Number: 736722  Size: SH
  1. Apply RTV sealant (Three Bond 1207C or equivalent) to the front cover.
  2. Install the front cover to the cylinder block.
  3. Notice: Use the correct fastener in the correct location. Replacement fasteners must be the correct part number for that application. Fasteners requiring replacement or fasteners requiring the use of thread locking compound or sealant are identified in the service procedure. Do not use paints, lubricants, or corrosion inhibitors on fasteners or fastener joint surfaces unless specified. These coatings affect fastener torque and joint clamping force and may damage the fastener. Use the correct tightening sequence and specifications when installing fasteners in order to avoid damage to parts and systems.

  4. Install the bolts to the front cover.
  5. Tighten
    Tighten the front cover bolts to 19 N·m (14 lb ft).

  6. Apply clean engine oil to the oil slinger.
  7. Insert the oil slinger into the J 41220 adapter.

  8. Object Number: 736728  Size: SH
  9. Install the oil slinger sleeve to the adapter, and tighten the center bolt until the sleeve comes in contact with the adapter and stops.

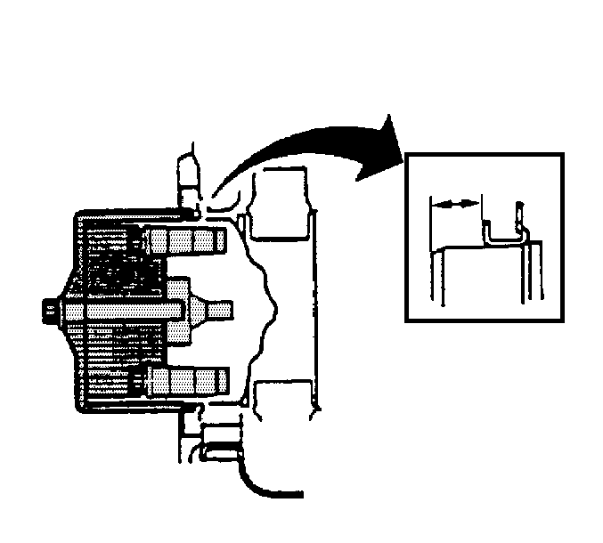
  10. Object Number: 736731  Size: SH
  11. After pressing in the oil slinger, make sure that the distance between the crankshaft end surface and the oil slinger is 11.35-11.65 mm (0.447-0.459 in) by checking at several different points.
  12. Apply clean engine oil to the oil seal.
  13. Insert the oil seal into the J 41221 adapter.
  14. Install the oil seal to the adapter, and tighten the center bolt until the sleeve comes in contact with the adapter and stops.

  15. Object Number: 736774  Size: SH
  16. After pressing in the oil seal, make sure that the distance between the crankshaft end surface and the oil slinger is 8.35-8.65 mm (0.329-0.34 in) by checking the measurement at several different points.