GM Service Manual Online
For 1990-2009 cars only
Makes
🢒
Isuzu
🢒
2002
🢒
Isuzu T-Series (Truck Line C)
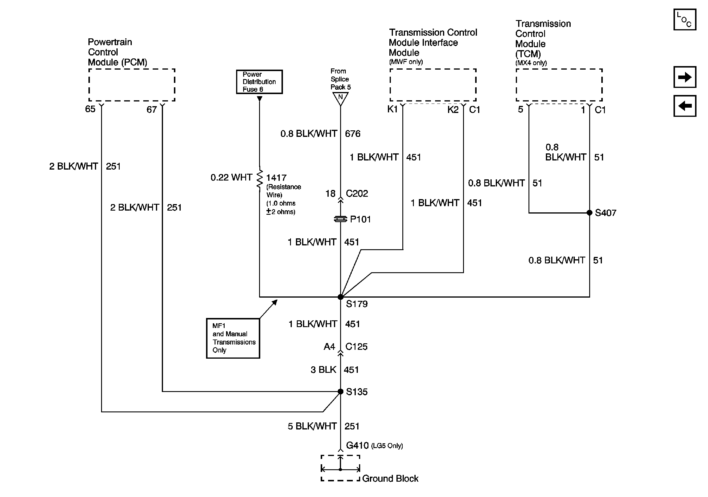
🢒 Ground Distribution Schematics - G410, S135, S179 and S407
Ground Distribution Schematics - G410, S135, S179 and S407
G410, S135, S179, S407
Master Electrical Component List
Ground Distribution Schematics - Splice Pack 3 and S361
Ground Distribution Schematics - Splice Pack 5, S239 and S242
Power Distribution System Schematics - Feed From Circuit Breaker 6
Ground Distribution Schematics - Splice Pack 5, S239 and S242