GM Service Manual Online
For 1990-2009 cars only
Makes
🢒
Isuzu
🢒
2006
🢒
Isuzu - N Series
🢒
Engine
🢒
Engine Mechanical - 4.8L, 5.3L, and 6.0L
🢒 Oil Filter, Adapter, and Pan Cover Removal
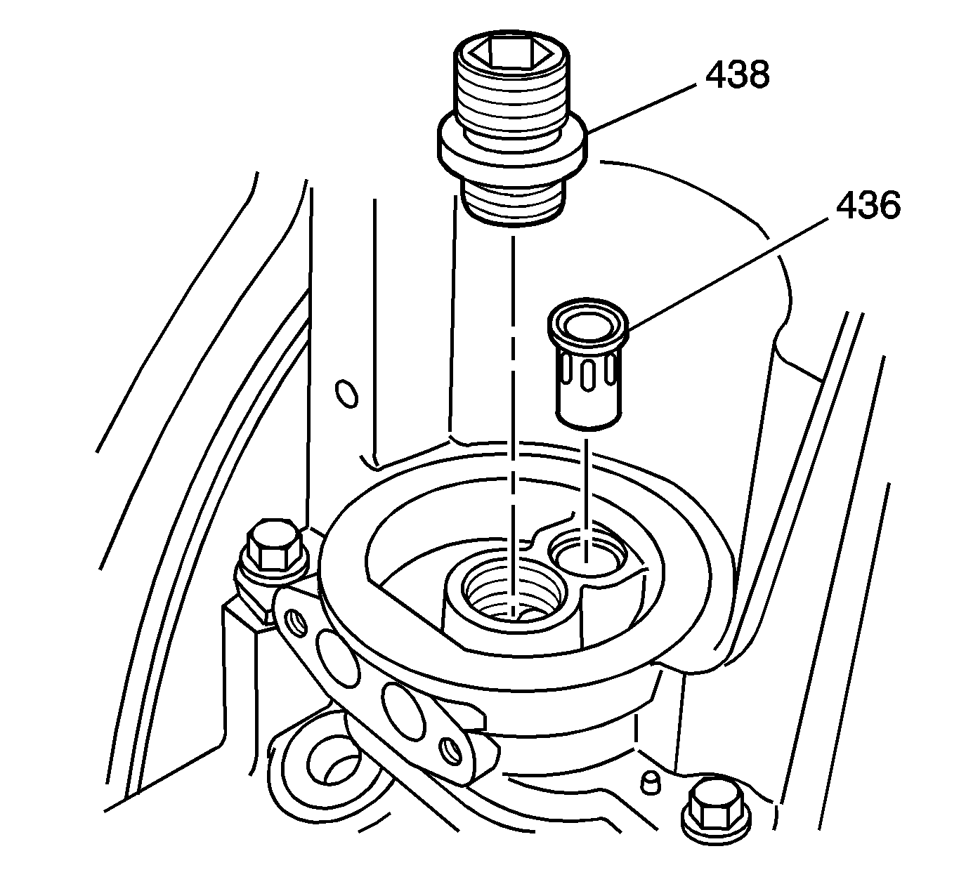
Remove the oil filter.
Remove the oil pan cover (434), bolts (435), and gasket (433).
Discard the gasket.
Remove the oil filter fitting (438) and bypass valve (436), if required.