GM Service Manual Online
For 1990-2009 cars only
Table 1: Engine Block - Front View
Table 2: Engine Block - Rear View
Table 3: Engine Block - Left Side View
Table 4: Engine Block - Right Side View
Table 5: Engine Block - Bottom View
Table 6: Engine Block - Top View
Table 7: Cylinder Head - Top View
Table 8: Cylinder Head - End View
Table 9: Cylinder Head - Exhaust Manifold Deck View
Table 10: Cylinder Head - Intake Manifold Deck View

Engine Block - Front View


Object Number: 64583  Size: MF

Engine Block - Front View

Hole

Thread Size

Insert

Drill

Counterbore Tool

Tap

Driver

Drill Depth - Maximum mm (in)

Tap Depth - Maximum mm (in)

1-6

M8 x 1.25

J 42385-210

J 42385-206

J 42385-207

J 42385-208

J 42385-209

22.5 (0.885)

17.5 (0.688)

7

M10 x 1.5

J 42385-215

J 42385-211

J 42385-212

J 42385-213

J 42385-214

25.0 (0.984)

19.5 (0.767)

8

M10 x 1.5

J 42385-215

J 42385-211

J 42385-212

J 42385-213

J 42385-214

32.5 (1.28)

25.0 (0.984)

9

M8 x 1.25

J 42385-210

J 42385-206

J 42385-207

J 42385-208

J 42385-209

22.5 (0.885)

17.5 (0.688)

10

M10 x 1.5

J 42385-215

J 42385-211

J 42385-212

J 42385-213

J 42385-214

Thru

Thru

11-13

M8 x 1.25

J 42385-210

J 42385-206

J 42385-207

J 42385-208

J 42385-209

22.5 (0.885)

17.5 (0.688)

14

M8 x 1.25

J 42385-210

J 42385-206

J 42385-207

J 42385-208

J 42385-209

Thru

18.0 (0.708)

15

M8 x 1.25

J 42385-210

J 42385-206

J 42385-207

J 42385-208

J 42385-209

22.5 (0.885)

17.5 (0.688)

16

M8 x 1.25

J 42385-210

J 42385-206

J 42385-207

J 42385-208

J 42385-209

Thru

18.0 (0.708)

17-27

M8 x 1.25

J 42385-210

J 42385-206

J 42385-207

J 42385-208

J 42385-209

22.5 (0.885)

17.5 (0.688)

Engine Block - Rear View


Object Number: 64590  Size: MF

Engine Block - Rear View

Hole

Thread Size

Insert

Drill

Counterbore Tool

Tap

Driver

Drill Depth - Maximum mm (in)

Tap Depth - Maximum mm (in)

1

M10 x 1.5

J 42385-215

J 42385-211

J 42385-212

J 42385-213

J 42385-214

27.0 (1.06)

21.5 (0.846)

2-4

M8 x 1.25

J 42385-210

J 42385-206

J 42385-207

J 42385-208

J 42385-209

22.5 (0.885)

17.5 (0.688)

5-6

M10 x 1.5

J 42385-215

J 42385-211

J 42385-212

J 42385-213

J 42385-214

27.0 (1.06)

21.5 (0.846)

7-13

M8 x 1.25

J 42385-210

J 42385-206

J 42385-207

J 42385-208

J 42385-209

22.5 (0.885)

17.5 (0.688)

14-16

M10 x 1.5

J 42385-215

J 42385-211

J 42385-212

J 42385-213

J 42385-214

27.0 (1.06)

21.5 (0.846)

17-18

M8 x 1.25

J 42385-210

J 42385-206

J 42385-207

J 42385-208

J 42385-209

22.5 (0.885)

17.5 (0.688)

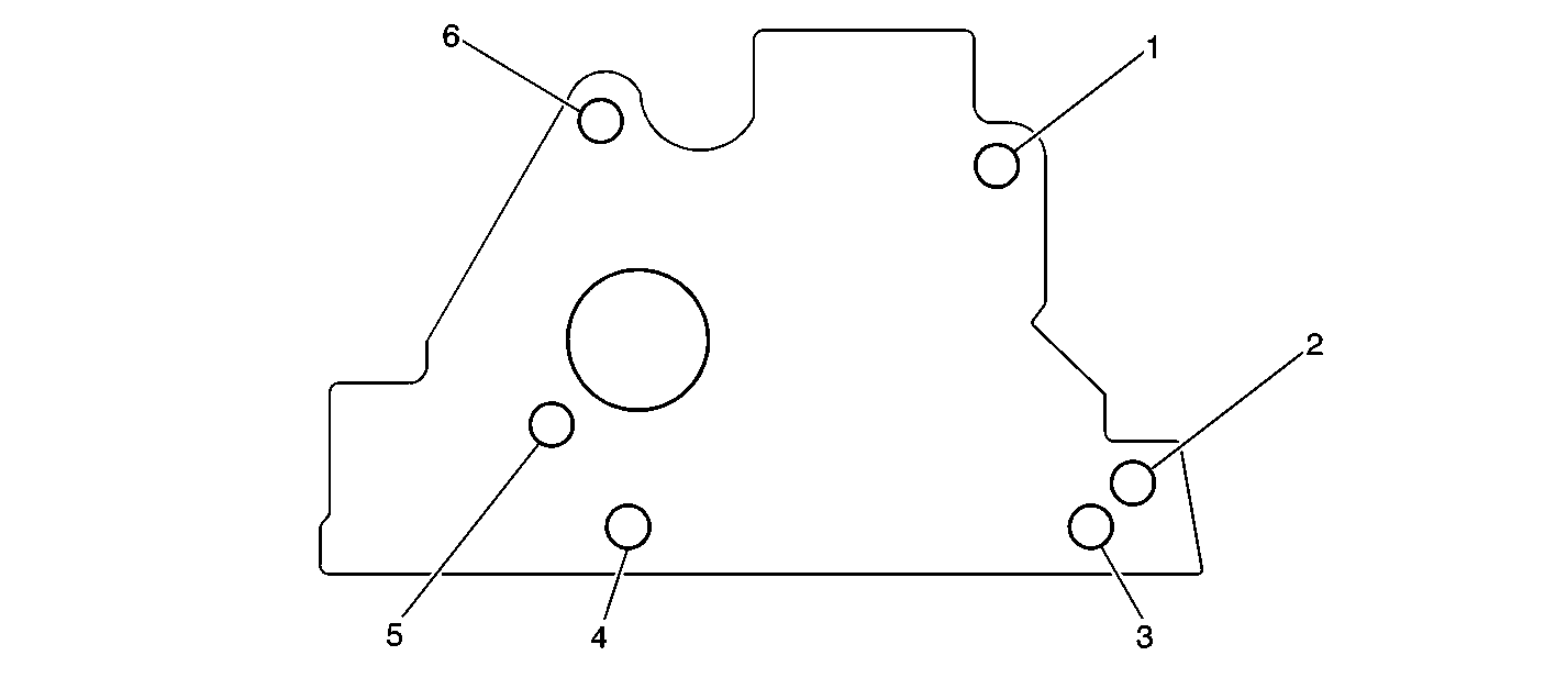
Engine Block - Left Side View


Object Number: 64602  Size: MF

Engine Block - Left Side View

Hole

Thread Size

Insert

Drill

Counterbore Tool

Tap

Driver

Drill Depth - Maximum mm (in)

Tap Depth - Maximum mm (in)

1

M8 x 1.25

J 42385-210

J 42385-206

J 42385-207

J 42385-208

J 42385-209

26.5 (1.04)

19.0 (0.784)

2-3

M11 x 2.0

J 42385-108

J 42385-105

--

J 42385-106

J 42385-107

69.0 (2.72)

60.0 (2.36)

4

M8 x 1.25

J 42385-210

J 42385-206

J 42385-207

J 42385-208

J 42385-209

26.5 (1.04)

19.0 (0.784)

5

M6 x 1.0

J 42385-205

J 42385-201

J 42385-202

J 42385-203

J 42385-204

22.5 (0.885)

16.0 (0.629)

6-7

M11 x 2.0

J 42385-108

J 42385-105

--

J 42385-106

J 42385-107

69.0 (2.72)

60.0 (2.36)

8

M8 x 1.25

J 42385-210

J 42385-206

J 42385-207

J 42385-208

J 42385-209

26.5 (1.04)

19.0 (0.784)

9

M11 x 2.0

J 42385-108

J 42385-105

--

J 42385-106

J 42385-107

69.0 (2.72)

60.0 (2.36)

10

M11 x 2.0

J 42385-108

J 42385-105

--

J 42385-106

J 42385-107

69.0 (2.72)

60.0 (2.36)

11

M16 x 1.5

--

--

--

--

--

--

--

12-17

M10 x 1.5

J 42385-215

J 42385-211

J 42385-212

J 42385-213

J 42385-214

29.0 (1.14)

23.0 (0.905)

18

M28 x 1.25

--

--

--

--

--

--

--

19-20

M8 x 1.25

J 42385-210

J 42385-206

J 42385-207

J 42385-208

J 42385-209

21.0 (0.826)

16.0 (0.629)

21

M16 x 1.5

--

--

--

--

--

--

--

22

M10 x 1.5

J 42385-215

J 42385-211

J 42385-212

J 42385-213

J 42385-214

27.0 (1.06)

21.5 (0.846)

23

M11 x 2.0

J 42385-108

J 42385-105

--

J 42385-106

J 42385-107

69.0 (2.72)

60.0 (2.36)

24

M11 x 2.0

J 42385-108

J 42385-105

--

J 42385-106

J 42385-107

69.0 (2.72)

60.0 (2.36)

25

M8 x 1.25

J 42385-210

J 42385-206

J 42385-207

J 42385-208

J 42385-209

26.5 (1.04)

19.0 (0.784)

26-27

M11 x 2.0

J 42385-108

J 42385-105

--

J 42385-106

J 42385-107

69.0 (2.72)

60.0 (2.36)

28

M6 x 1.0

J 42385-205

J 42385-201

J 42385-202

J 42385-203

J 42385-204

22.5 (0.885)

16.0 (0.629)

29

M8 x 1.25

J 42385-210

J 42385-206

J 42385-207

J 42385-208

J 42385-209

26.5 (1.04)

19.0 (0.784)

Bolt holes 2, 3, 6, 7, 9, 10, 23, 24, 26, and 27 have a 30 mm (1.18 in) counterbore included in the 69.0 mm (2.72 in) drill depth. Use sleeve J 42385-315 with the drill and tap.

Engine Block - Right Side View


Object Number: 64579  Size: MF

Engine Block - Right Side View

Hole

Thread Size

Insert

Drill

Counterbore Tool

Tap

Driver

Drill Depth - Maximum mm (in)

Tap Depth - Maximum mm (in)

1

M8 x 1.25

J 42385-210

J 42385-206

J 42385-207

J 42385-208

J 42385-209

26.5 (1.04)

19.0 (0.784)

2-3

M11 x 2.0

J 42385-108

J 42385-105

--

J 42385-106

J 42385-107

69.0 (2.72)

60.0 (2.36)

4

M8 x 1.25

J 42385-210

J 42385-206

J 42385-207

J 42385-208

J 42385-209

26.5 (1.04)

19.0 (0.784)

5

M6 x 1.0

J 42385-205

J 42385-201

J 42385-202

J 42385-203

J 42385-204

22.5 (0.885)

15.0 (0.590)

6-7

M11 x 2.0

J 42385-108

J 42385-105

--

J 42385-106

J 42385-107

69.0 (2.72)

60.0 (2.36)

8

M8 x 1.25

J 42385-210

J 42385-206

J 42385-207

J 42385-208

J 42385-209

26.5 (1.04)

19.0 (0.784)

9

M11 x 2.0

J 42385-108

J 42385-105

--

J 42385-106

J 42385-107

69.0 (2.72)

60.0 (2.36)

10

M11 x 2.0

J 42385-108

J 42385-105

--

J 42385-106

J 42385-107

69.0 (2.72)

60.0 (2.36)

11-14

M10 x 1.5

J 42385-215

J 42385-211

J 42385-212

J 42385-213

J 42385-214

27.0 (1.06)

21.5 (0.846)

15-19

M10 x 1.5

J 42385-215

J 42385-211

J 42385-212

J 42385-213

J 42385-214

29.0 (1.14)

23.0 (0.905)

20

M16 x 1.5

--

--

--

--

--

--

--

21

M8 x 1.25

J 42385-210

J 42385-206

J 42385-207

J 42385-208

J 42385-209

22.5 (0.885)

17.5 (0.688)

22

M11 x 2.0

J 42385-108

J 42385-105

--

J 42385-106

J 42385-107

69.0 (2.72)

60.0 (2.36)

23

M11 x 2.0

J 42385-108

J 42385-105

--

J 42385-106

J 42385-107

69.0 (2.72)

60.0 (2.36)

24

M8 x 1.25

J 42385-210

J 42385-206

J 42385-207

J 42385-208

J 42385-209

26.5 (1.04)

19.0 (0.784)

25-26

M11 x 2.0

J 42385-108

J 42385-105

--

J 42385-106

J 42385-107

69.0 (2.72)

60.0 (2.36)

27

M6 x 1.0

J 42385-205

J 42385-201

J 42385-202

J 42385-203

J 42385-204

22.5 (0.885)

15.0 (0.590)

28

M8 x 1.25

J 42385-210

J 42385-206

J 42385-207

J 42385-208

J 42385-209

26.5 (1.04)

19.0 (0.784)

Bolt holes 2, 3, 6, 7, 9, 10, 22, 23, 25, and 26 have a 30 mm (1.18 in) counterbore included in the 69.0 mm (2.72 in) drill depth. Use sleeve J 42385-315 with the drill and tap.

Engine Block - Bottom View


Object Number: 64655  Size: MF

Engine Block - Bottom View

Hole

Thread Size

Insert

Drill

Counterbore Tool

Tap

Driver

Drill Depth - Maximum mm (in)

Tap Depth - Maximum mm (in)

1

M10 x 2.0

J 42385-104

J 42385-101

--

J 42385-102

J 42385-103

31.0 (1.22)

25.5 (1.0)

2

M10 x 2.0

J 42385-104

J 42385-101

--

J 42385-102

J 42385-103

53.5 (2.10)

44.0 (1.73)

3

M8 x 1.25

J 42385-210

J 42385-206

J 42385-207

J 42385-208

J 42385-209

22.5 (0.885)

17.5 (0.688)

4

M10 x 2.0

J 42385-104

J 42385-101

--

J 42385-102

J 42385-103

31.0 (1.22)

25.5 (1.0)

5

M10 x 2.0

J 42385-104

J 42385-101

--

J 42385-102

J 42385-103

53.5 (2.10)

44.0 (1.73)

6

M16 x 1.5

--

--

--

--

--

--

--

7

N/A

--

--

--

--

--

--

--

8

M8 x 1.25

J 42385-210

J 42385-206

J 42385-207

J 42385-208

J 42385-209

22.5 (0.885)

17.5 (0.688)

9

M10 x 2.0

J 42385-104

J 42385-101

--

J 42385-102

J 42385-103

31.0 (1.22)

25.5 (1.0)

10-11

M10 x 2.0

J 42385-104

J 42385-101

--

J 42385-102

J 42385-103

53.5 (2.10)

44.0 (1.73)

12

M10 x 2.0

J 42385-104

J 42385-101

--

J 42385-102

J 42385-103

31.0 (1.22)

25.5 (1.0)

13-14

M10 x 1.5

J 42385-215

J 42385-101

--

J 42385-213

J 42385-214

42.5 (1.67)

37.0 (1.45)

15

M8 x 1.25

J 42385-210

J 42385-206

J 42385-207

J 42385-208

J 42385-209

22.5 (0.885)

17.5 (0.688)

16

M16 x 1.5

--

--

--

--

--

--

--

17

M10 x 2.0

J 42385-104

J 42385-101

--

J 42385-102

J 42385-103

53.5 (2.10)

44.0 (1.73)

18

M10 x 2.0

J 42385-104

J 42385-101

--

J 42385-102

J 42385-103

31.0 (1.22)

25.5 (1.0)

19

M8 x 1.25

J 42385-210

J 42385-206

J 42385-207

J 42385-208

J 42385-209

22.5 (0.885)

17.5 (0.688)

20

M10 x 2.0

J 42385-104

J 42385-101

--

J 42385-102

J 42385-103

53.5 (2.10)

44.0 (1.73)

21

M10 x 2.0

J 42385-104

J 42385-101

--

J 42385-102

J 42385-103

31.0 (1.22)

25.5 (1.0)

22

M8 x 1.25

J 42385-210

J 42385-206

J 42385-207

J 42385-208

J 42385-209

22.5 (0.885)

17.5 (0.688)

23

M10 x 2.0

J 42385-104

J 42385-101

--

J 42385-102

J 42385-103

31.0 (1.22)

25.5 (1.0)

24

M10 x 2.0

J 42385-104

J 42385-101

--

J 42385-102

J 42385-103

53.5 (2.10)

44.0 (1.73)

25-26

M8 x 1.25

J 42385-210

J 42385-206

J 42385-207

J 42385-208

J 42385-209

22.5 (0.885)

17.5 (0.688)

27

M10 x 2.0

J 42385-104

J 42385-101

--

J 42385-102

J 42385-103

31.0 (1.22)

25.5 (1.0)

28-29

M10 x 2.0

J 42385-104

J 42385-101

--

J 42385-102

J 42385-103

53.5 (2.10)

44.0 (1.73)

30

M10 x 2.0

J 42385-104

J 42385-101

--

J 42385-102

J 42385-103

31.0 (1.22)

25.5 (1.0)

31

M8 x 1.25

J 42385-210

J 42385-206

J 42385-207

J 42385-208

J 42385-209

22.5 (0.885)

17.5 (0.688)

32

M28 x 1.25

--

--

--

--

--

--

--

33

M8 x 1.25

J 42385-210

J 42385-206

J 42385-207

J 42385-208

J 42385-209

22.5 (0.885)

17.5 (0.688)

34

M10 x 2.0

J 42385-104

J 42385-101

--

J 42385-102

J 42385-103

53.5 (2.10)

44.0 (1.73)

35

M10 x 2.0

J 42385-104

J 42385-101

--

J 42385-102

J 42385-103

31.0 (1.22)

25.5 (1.0)

36

M8 x 1.25

J 42385-210

J 42385-206

J 42385-207

J 42385-208

J 42385-209

22.5 (0.885)

17.5 (0.688)

    • Bolt holes 2, 5, 10, 11, 18, 21, 24, 28, 29, and 34 have a 20.5 mm (0.807 in) counterbore included in the 53.5 mm (2.10 in) drill depth.
    • Bolt holes 1, 4, 9, 12, 17, 20, 23, 27, 30, and 35 have a 1.5 mm (0.059 in) counterbore included in the 31.0 mm (1.22 in) drill depth. Use sleeve J 42385-316 with the drill and tap.
    • Bolt holes 13 and 14 have a 11.5 mm (0.452 in) counterbore included in the 42.5 mm (1.67 in) drill depth. Use sleeve J 42385-311 with the drill and tap.

Engine Block - Top View


Object Number: 64573  Size: MF

Engine Block - Top View

Hole

Thread Size

Insert

Drill

Counterbore Tool

Tap

Driver

Drill Depth - Maximum mm (in)

Tap Depth - Maximum mm (in)

1-4

M8 x 1.25

J 42385-210

J 42385-206

J 42385-207

J 42385-208

J 42385-209

26.5 (1.04)

19.0 (0.784)

5

M16 x 1.5

--

--

--

--

--

--

--

6-7

M8 x 1.25

J 42385-210

J 42385-206

J 42385-207

J 42385-208

J 42385-209

26.5 (1.04)

19.0 (0.784)

8

M10 x 1.5

J 42385-216

J 42385-211

J 42385-212

J 42385-213

J 42385-214

22.5 (0.885)

17.0 (0.669)

9-10

M8 x 1.25

J 42385-210

J 42385-206

J 42385-207

J 42385-208

J 42385-209

26.5 (1.04)

19.0 (0.784)

11

M10 x 1.5

J 42385-216

J 42385-211

J 42385-212

J 42385-213

J 42385-214

22.5 (0.885)

17.0 (0.669)

12-14

M8 x 1.25

J 42385-210

J 42385-206

J 42385-207

J 42385-208

J 42385-209

26.5 (1.04)

19.0 (0.784)

Cylinder Head - Top View


Object Number: 260168  Size: SF

Cylinder Head - Top View

Hole

Thread Size

Insert

Drill

Counterbore Tool

Tap

Driver

Drill Depth - Maximum mm (in)

Tap Depth - Maximum mm (in)

1-5

M8 x 1.25

J 42385-210

J 42385-206

J 42385-207

J 42385-208

J 42385-209

26.5 (1.04)

19.0 (0.784)

6-9

M6 x 1.0

J 42385-205

J 42385-201

J 42385-202

J 42385-203

J 42385-204

20.05 (0.789)

16.05 (0.632)

10-12

M8 x 1.25

J 42385-210

J 42385-206

J 42385-207

J 42385-208

J 42385-209

26.5 (1.04)

19.0 (0.784)

Cylinder Head - End View


Object Number: 64503  Size: SF

Cylinder Head - End View

Hole

Thread Size

Insert

Drill

Counterbore Tool

Tap

Driver

Drill Depth - Maximum mm (in)

Tap Depth - Maximum mm (in)

1

M10 x 1.5

J 42385-215

J 42385-211

J 42385-212

J 42385-213

J 42385-214

28.0 (1.10)

20.0 (0.787)

2

--

N/A

--

--

--

--

--

--

3

M10 x 1.5

J 42385-215

J 42385-211

J 42385-212

J 42385-213

J 42385-214

28.0 (1.10)

20.0 (0.787)

4

N/A

--

--

--

--

--

--

--

5-6

M10 x 1.5

J 42385-215

J 42385-211

J 42385-212

J 42385-213

J 42385-214

28.0 (1.10)

20.0 (0.787)

Cylinder Head - Exhaust Manifold Deck View


Object Number: 64555  Size: SF

Cylinder Head - Exhaust Manifold Deck View

Hole

Thread Size

Insert

Drill

Counterbore Tool

Tap

Driver

Drill Depth - Maximum mm (in)

Tap Depth - Maximum mm (in)

1-2

M10 x 1.5

J 42385-215

J 42385-211

J 42385-212

J 42385-213

J 42385-214

28.0 (1.10)

20.0 (0.787)

3

M8 x 1.25

J 42385-210

J 42385-206

J 42385-207

J 42385-208

J 42385-209

21.0 (0.826)

16.0 (0.629)

4

M14 x 1.25

--

--

--

--

--

--

--

5

M8 x 1.25

J 42385-210

J 42385-206

J 42385-207

J 42385-208

J 42385-209

21.0 (0.826)

16.0 (0.629)

6

M14 x 1.25

--

--

--

--

--

--

--

7-8

M8 x 1.25

J 42385-210

J 42385-206

J 42385-207

J 42385-208

J 42385-209

21.0 (0.826)

16.0 (0.629)

9

M14 x 1.25

--

--

--

--

--

--

--

10

M8 x 1.25

J 42385-210

J 42385-206

J 42385-207

J 42385-208

J 42385-209

21.0 (0.826)

16.0 (0.629)

11

M14 x 1.25

--

--

--

--

--

--

--

12

M8 x 1.25

J 42385-210

J 42385-206

J 42385-207

J 42385-208

J 42385-209

21.0 (0.826)

16.0 (0.629)

13

M12 x 1.5

--

--

--

--

--

--

--

14-15

M10 x 1.5

J 42385-215

J 42385-211

J 42385-212

J 42385-213

J 42385-214

28.0 (1.10)

20.0 (0.787)

Cylinder Head - Intake Manifold Deck View


Object Number: 64557  Size: SF

Cylinder Head - Intake Manifold Deck View

Hole

Thread Size

Insert

Drill

Counterbore Tool

Tap

Driver

Drill Depth - Maximum mm (in)

Tap Depth - Maximum mm (in)

1-2

M6 x 1.0

J 42385-205

J 42385-201

J 42385-202

J 42385-203

J 42385-204

Thru

Thru

3-4

M6 x 1.0

J 42385-205

J 42385-201

J 42385-202

J 42385-203

J 42385-204

22.5 (0.885)

15.0 (0.688)

5-7

M6 x 1.0

J 42385-205

J 42385-201

J 42385-202

J 42385-203

J 42385-204

Thru

Thru