GM Service Manual Online
For 1990-2009 cars only

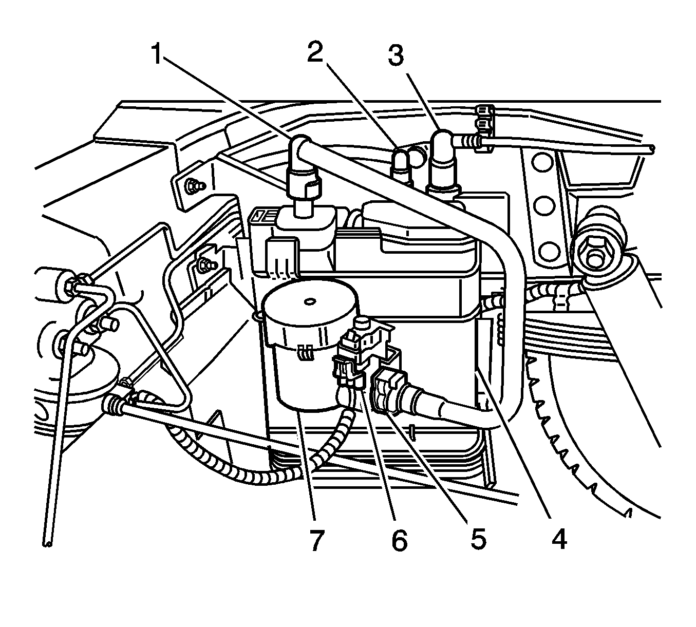
Removal Procedure


    Object Number: 1368205  Size: SH
  1. Disconnect the evaporative emission (EVAP) vent hose (5) from the EVAP vent valve (6).
  2. Disconnect the harness connector from the EVAP vent valve..
  3. Remove the EVAP vent valve from the EVAP canister bracket.

Installation Procedure


    Object Number: 1368205  Size: SH
  1. Install the EVAPvent valve (6) on the EVAP canister bracket.
  2. Install the EVAP vent valve (6) to the canister bracket.
  3. Connect the EVAP vent valve harness connector.
  4. Connect the EVAP vent hose (5) to the EVAP vent valve.