GM Service Manual Online
For 1990-2009 cars only

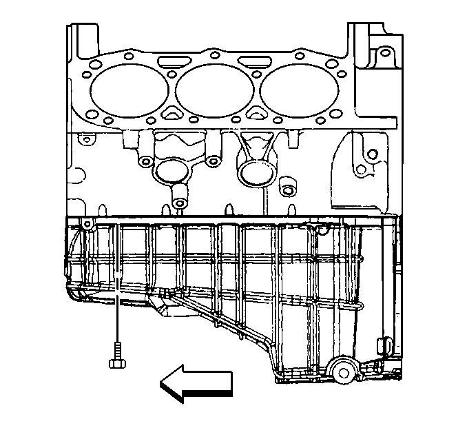
Removal Procedure

  1. Drain the engine oil.
  2. Remove the engine. Refer to Engine Replacement .

  3. Object Number: 31739  Size: SH
  4. Remove the oil pan.

Installation Procedure

    Important: Apply an approved sealer 25 mm (1.0 in) in either direction of the radius cavity of the junctions.


    Object Number: 32086  Size: SH
  1. Apply an approved sealant 10 mm (0.393 in) wide and 20 mm (0.787 in) long at the engine front cover to engine block junction.

  2. Object Number: 32080  Size: SH
  3. Apply an approved sealant 25 mm (1.0 in) long to the crankshaft rear oil seal housing to engine block junction.
  4. Important: Always install a new oil pan gasket.


    Object Number: 31739  Size: SH
  5. Install a new oil pan gasket.
  6. Install the oil pan to the engine block.
  7. Slide oil pan back against straight edge usingJ 34673

  8. Object Number: 38496  Size: SH
  9. Install oil pan bolts and nuts. Do not tighten.
  10. Important: Use a feeler gauge to check the clearance between the three oil pan-to-transmission bell housing contact points. If clearance exceeds 0.254 mm (0.010 in) at any of the three points, repeat the steps until the clearance is within specification.

    Notice: The alignment of the mating components is crucial. An offset greater than 0.30 mm (0.011 in) between the rear faces of the oil pan and block is not acceptable. Offsets greater than 0.30 mm (0.011 in) will affect the alignment between the engine assembly and the transmission. Mis-alignment of the engine assembly to the transmission can lead to internal and external damage to the engine assembly and/or transmission.


    Object Number: 31734  Size: SH
  11. Install the bolts and nut finger tight.

  12. Object Number: 38481  Size: SH
  13. Tighten the engine oil pan bolts in the following sequence.
  14. Tighten

    1. Tighten the bolts to 25 N·m (18 lb ft).
    2. Tighten the nuts to 25 N·m (18 lb ft).
  15. Measure the clearance again between the three oil pan-to-transmission bell housing contact points to verify proper alignment.
  16. Install the oil filter gasket.
  17. Install the oil filter adapter o-ring seal, if equipped.
  18. Install the oil filter adapter bolts.
  19. Tighten
    Tighten the bolts to 20 N·m (15 lb ft).

  20. Inspect the oil filter adapter bypass valve and spring for operation and cracks. If bypass looks damaged in any way, replace the oil filter adapter assembly.
  21. Lubricate the new oil filter seal with clean engine oil.
  22. Install a new oil filter.
  23. Install the engine. Refer to Engine Replacement .