GM Service Manual Online
For 1990-2009 cars only
Makes
🢒
Isuzu
🢒
1997
🢒
S/T Isuzu - 2WD
🢒
Engine
🢒
Engine Electrical
🢒 Starting and Charging Schematics
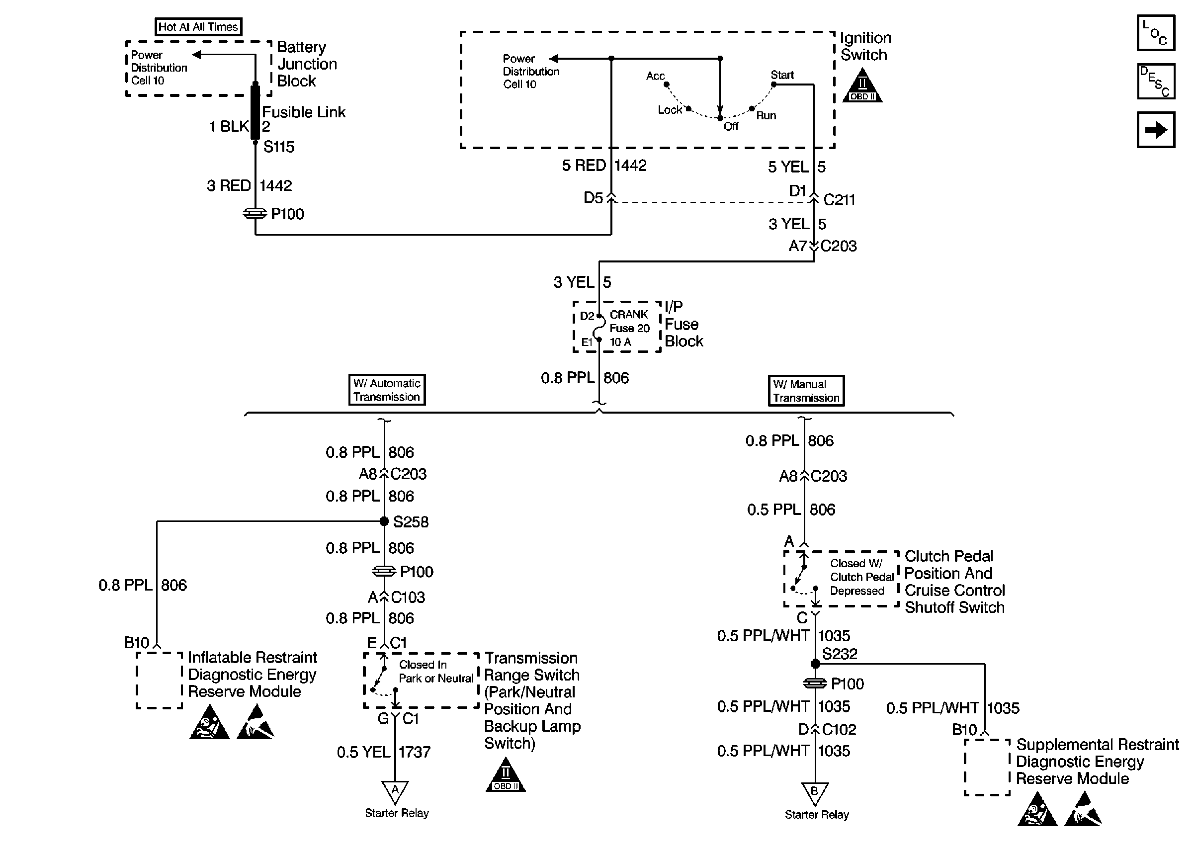
Figure
1:
CRANK Fuse 20
Engine Electrical Components
Starting and Charging Circuit General Description
Starter And Generator
OBD II Symbol Description Notice
SIR Caution
Handling Electrostatic Discharge Sensitive Parts Notice
OBD II Symbol Description Notice
SIR Caution
Handling Electrostatic Discharge Sensitive Parts Notice
Starter And Generator
Starter And Generator
Figure
2:
Starter And Generator
Engine Electrical Components
Starting and Charging Circuit General Description
CRANK Fuse 20
Handling Electrostatic Discharge Sensitive Parts Notice
Handling Electrostatic Discharge Sensitive Parts Notice
CRANK Fuse 20
CRANK Fuse 20